ISSN 2307-3489 (Print), ISSN 2307-6666 (Online)

Наука та прогрес транспорту. Вісник Дніпропетровського

національного університету залізничного транспорту, 2016, № 4

ЗАЛІЗНИЧНА КОЛІЯ

UDC 625.141.54:625.172

N. P. NASTECHIK1, R. V. MARCUL2*

1Dep. «Track and Track Facilities», Dnipropetrovsk National University of Railway Transport named after Academician V. Lazaryan, Lazaryan St., 2, Dnipro, Ukraine, 49010, tel. +38 (056) 373 15 31, е–mail nastechik_mp@mail.ru,
ORCID 0000-0002-4178-6092

2*Dep. «Track and Track Facilities», Dnipropetrovsk National University of Railway Transport named after Academician V. Lazaryan, Lazaryan St., 2, Dnipro, Ukraine, 49010, tel. +38 (056) 373 15 31, е–mail guaranga_mr@mail.ru,
ORCID 0000-0002-7630-8963

PROSPECTS FOR LAYING THE FASTENING

OF THE TYPE СКД65 - Б IN THE CURVESD

TRACK SECTIONS WITH SMALL RADIUS


Purpose. To date, according to the order of Ukrzaliznytsia it was decided to fully transit the main tracks to the concrete sleepers. The reason for this is the lack of wooden sleepers, their high cost and low lifetime that in the curved track sections with the radius R≤300 m is only 5-7 years (this is 5 times less than the lifetime of concrete sleepers). After introduction of fastening type СКД65-Б it is possible to smoothly expand the track from 0 mm to 14 mm, and to narrow from 0 mm to 28 mm with a step 1 mm. At the increased train load on the track of 75...130 kN in a horizontal plane, which is characteristic for the curved track sections R≤300 m the violations in terms of track geometry often take place. It results in the frequent surfacings, periodicity of which at the fastening type СКД65-Б is absent for today. Therefore the purpose of the article is the development of recommendations concerning maintenance of the track in a plan with the fastening type СКД65-Б. Methodology. The methodology of research is based on the comparative estimation of influence of the track width change dynamics on the periodicity of surfacing in the plan in the case of the use of fastening type ДО and СКД65-Б. Findings. With the help of the developed research methodology it was established that the first implementation of adjusting the track width at fastening type ДО is necessary to be executed on the 14th month and at the fastening type СКД65-Б on the 28th month of operation. Originality. It was first described and expressed using the empiric dependence the process of the track width change, and periodicity of its adjusting in the case of the fastening type СКД65-Б use. Practical value. The developed recommendations will allow in time to execute adjusting of the track width at fastening type СКД65-Б and ensuring the safety of train motion at the same time.

Keywords: fastening type СКД65-Б; track width; adjusting of track width; maintenance of track in plan

Introduction

Increase in the train speeds, axial loading at the Ukrainian railways requires increase in the strength and stability of the railway track. Today, in the vast majority of cases in small radius curves, especially in the areas of Lviv railway it is operated the track with wooden sleepers and fastening type ДО.

In the initial stages of operation the track on wooden sleepers has little stiffness that provides three-dimensional elasticity of the track superstructure (hereinafter TS) elements at the simultaneous perception of both vertical and horizontal dynamic forces from the rolling stock. During the maintenance work wooden sleeper, unlike the concrete sleepers, undergoes rapid replacement with the new one without significant labor costs.

Despite the advantages, wooden sleepers have several disadvantages that make economically unprofitable their use. The reason for this is the lack of wooden sleepers, their high cost and low lifetime that in the curved track sections with the radius R≤300 m is only 5-7 years. This is 5 times less than the lifetime of concrete sleepers [10].

During operation of the railway track in the curved sections of small radius with wooden sleepers and fastening type ДО the rail thread thrust occurs. It leads to the deviations from the tolerances of rail track width [6, 12]. When the track width exceeds the tolerances it is necessary to carry out regaging, which largely affects the life of wooden sleepers.

Production of sleepers of softwood species also results in the fact that in the short term the metal baseplate, which is the element of the fastening type ДО, cuts into the wood fibers [3-6, 10, 12-15]. During production of wooden sleepers their manufacturing technology based on insufficient seepage is violated. This leads to sleeper rotting and reduction in its operating lifetime in the track [12].

To date, according to the order of Ukrzaliznytsia it was decided to fully transit the main tracks to the concrete sleepers.

To date, according to the order of Ukrzaliznytsia there is a tendency to transition to the concrete sleepers in curves of small radius, in connection with the increased speed of trains, axial loads and freight traffic on the railway. At the same time the increase in strength and stability of railway track is required.

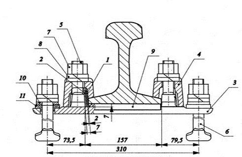
With the fastening type СКД65-Б (Fig. 1) [1, 7], there is a possibility to use the concrete sleepers in curved track sections of small radius without construction modification of the sleeper type of Ш1-1. The use of concrete sleepers and fastening type СКД65-Б makes it possible to avoid many of the problems arising in the railway track on wooden sleepers with the fastening type ДО.

Fig. 1. The СКД65-Б type of fastening

1 - аdjusting card, 2 mm width (two items);

2 - аdjusting card, 3 mm width (one item);
3 - plate 2КБЛ65;
4
- terminal ПКЛ;
5
- terminal bolt;
6
- insert bolt; 7 - screw nut;
8: double coil washer; 9 - plate ПРБ-4;

10 - plain washer ШП-1.1; 11 - insulating sleeve

At the fastening type СКД65-Б it is allowed to build into the curves of radius between 450 m to 200 m concrete sleepers with distribution diagram of sleeper laying 1.840 units/km. At this the fastening СКД65-Б ensures a smooth transition of width in the transition curves for expansion from 0 mm to 14 mm and narrowing from 0 mm to 28 mm. In a circular curve using the fastening type СКД65-Б one can set the pattern 1534 mm using the concrete sleepers of type Ш1-1 according to the works [1, 7, 16].

At the increased train load on the track of 75...130 kN in a horizontal plane, which is characteristic for the curved track sections R≤300 m the violations in terms of track geometry often take place [9]. It results in the frequent surfacings, the periodicity of which at the fastening type СКД65-Б is absent for today. Therefore the purpose of the article is the development of recommendations concerning maintenance of the track in a plan with the fastening type СКД65-Б.



Purpose

Therefore the purpose of the article is the development of methods and recommendations concerning maintenance of the track in a plan with the fastening type СКД65-Б.

Methodology

The methodology of research is based on the comparative estimation of influence of the track width change dynamics on the periodicity of surfacing in the plan and adjusting of its width at the fastening type ДО and СКД65-Б.

In 2015, on one of the Ukrainian railways two curved track sections with the radius of 350 m were chosen. At the one track section was laid the track panel (further TP) with wooden sleepers and fastening ДО, and the second TP with the concrete sleepers and fastening СКД65-Б. The width measurements were executed after laying of two TP for five months, every 10 meters along the length of the curve.

When performing the measurements on each of the sections there were studied various additional factors, the probability of which can affect the process of changing the width of the rail track.

At TP with wooden sleepers it was observed the influence of such factors as side wear of the outer railway line, sloping caused by indentation of metal baseplate into the wooden sleeper. At TP with concrete sleepers it was mainly observed the change of track width due to the side wear of the outer railway line.

Using the obtained statistics there were determined the average values of track width change at the type fastening ДО and СКД65-Б in the curve with radius of 350 m over five months, which are presented in the Table 1.



Table 1



Mean values of track width for each month

Fastening type in the curve

Mean value of the track width, mm

November

December

January

February

March

1

2

3

4

5

6

ДО

1529.35

1529.76

1530.35

1531.06

1531.71

СКД65-Б

1531

1531.24

1531.47

1531.71

1531.94



Mean values of the track width change at the two track sections with the fastening type ДО and СКД65-Б during five months of operation are shown in the Fig. 2-3.

Fig. 2. Change of track width at fastening of
type ДО for five months

According to the two-factor dispersion analysis [8] taking into account the above mentioned impacts, it was established the criterion of influence «F» on the track width change:

  • for track panel with wooden sleepers and fastening of type ДО- F = 0.6824;

  • for track panel with concrete sleepers and fastening of type СКД65-Б - F=0.3311.

Observation results of the track width change at the track sections with the fastening type ДО and СКД65-Б, depending on the time parameter, presented as coordinate pair ''х'' and ''у'' were approximated [8] (Fig. 4-5 ).

Fig. 3. Change of track width at fastening of
type СКД65-Б for five months

According to the approximation results in the Fig. 4-5 one can clearly see that the change of the track width with the fastening type ДО and СКД65-Б is linear, which can be described by the function:

where - are the constant parameters.

Function parameters (1) using the method of least squares [8] can be described by the following set of equations:

where - are the measured coordinates of the -th point; n- is the number of points with measured coordinates.

Fig. 4. Change of track width at fastening of type ДО

Fig. 5. Change of track width at fastening of type СКД65-Б

Recommendations concerning the frequency of track width adjustment

On the basis of the work [11] the state of track upon the condition of its expansion according to the tape of track measurement car is evaluated in points. According to our case for the studied track sections with radius , the track state according to the width based on evaluation scores will be fined:

  • with TP on wooden sleepers with fastening type ДО at the V-th degree;

  • with TP on concrete sleepers with fastening type СКД65-Б at the V-th degree(according to [11]).

According to the obtained function (1) it was determined the time, when the track regaging (with the fastening type ДО) and track width adjusting (with the fastening type СКД65-Б) should be carried out. For clarity the frequency diagram of track width adjustment in the curve radius of 350 m with two types of fastening was constructed (Fig. 6).

Fig. 6. Frequency of adjusting the track width of
in the curve of R=350 m at fastenings
of type ДО and СКД65-Б

This diagram shows that after the first track width adjustment at the section with fastening type ДО, the next adjustment is carried out every three months and at the curve with fastening type СКД65-Б every 7 months.

According to the papers [7, 8] at the TP with wooden sleepers the spike fastening holes already broken after the third regaging this almost eliminates a tight pressing of rail to the rail seat using the spikes.

The proposed methodology of periodicity of the track width adjusting upon the condition of its widening at the fastening type ДО and СКД65-Б was based not on the complete elimination of widening but on the bringing to the appropriate state of retreat from the existing state, where the evaluation in points, at which the section will be fined that was the part of the range "good".

Based on the above mentioned data, and methodology track maintenance upon the condition of its widening, it is proposed to adjust the width of the track when using the intermediate rail fastening of type ДО and СКД65-Б under the schemes presented in the Figures 7-8.

Fig.7. Adjusting of track width in the studied curve with fastening of type ДО

Fig. 8. Adjusting of track width in the
studied curve with fastening of type СКД65-Б

The Figures 7a and 8a show the existing condition dashed line of the track width in curves with the dashed line, and the project condition with the solid line. The numbers show by how many millimeters the existing track width is greater (+) or less (-) than the project one. The arrows up or down in the Figures 7b and 8b show how it is necessary to expand or narrow the track (in mm) during operation of the railway track with the fastening type ДО and СКД65-Б.

Technical and economic efficiency of the proposed recommendations

A separate challenge was to determine the technical and economic efficiency from laying the railway track construction with concrete sleepers in curves of small radius with fastening type СКД65-Б, as compared to the railway track with wooden sleepers and fastening of type ДО.

During the studies it was used a methodology, which allows to analyze the cost-effectiveness of TS variant throughout the repair interval of operation [2]. This methodology is based on the analysis of total reduced costs:

where Кіare the capital investments for laying of і-th variant of track design,UAH/km (the cost for capital repairs of the track);

Еti is the annual operating costs of the i-th variant, UAH/km per year;

Сіis the simultaneous costs (for complex and recreational medium and other repairs) on the i-th in each year tі, UAH/km;

tіis the year, in which the costs are determined;

tкрis the lifetime of the most long-term variant of the track construction;

ηtis the cost reduction coefficient of (discount coefficient).

The cost reduction coefficient is determined by the following formula:

The calculation methodology was based on the calculation of one kilometer of track consisting of curves and straight sections. During calculations the most optimal variants of the track construction from the following ones were accepted (Fig. 9):

  • is the straight fastening type КБ) and curved track sections fastening type СКД65-Б) – is the jointed track (Fig. 9a);

    is the straight (fastening type КБ) and curved track sections (fastening type ДО) – is the jointed track (Fig. 9b).

Fig. 9 Possible variants of track construction replacement

а) variant 1; b) variant 2

Labor costs are determined by the expression:

where - is the hourly tariff rate corresponding to the fourth category;

- is the total number of elements that are changed at different current repairs and maintenance;

- is the time required for replacement of the і- th element og TS.

The cost of materials is determined by the expression:

where is and cost of the і-th element of the TS.

Chart of the total reduced costs that makes it possible to determine the payback period of laying the track construction with the fastening type СКД65-Б as compared to the construction of the track with the fastening type ДО is shown in the Fig. 10.

Fig. 10 Chart of the total reduced maintenance costs of railway track with fastening of
type ДО and СКД65-Б


From the graph of total reduced costs (Fig. 10) it was established that the savings for 1 km railway track when laying the concrete sleepers in the curve of radius 350 m with the fastening type СКД65-Б is 31.5%. This is mainly due to the reduction of the time required to perform the works at the current maintenance and material savings of TS.

At the current maintenance of one kilometer of railway track with intermediate rail fastening of the type СКД65-Б the annual saving is 72.6% of the costs for existing regulations of maintenance (wooden sleepers, fastening type ДО), which is shown in the Fig. 11.

Fig. 11 The economic effect of the current maintenance of 1 km of railway track

When laying the concrete sleepers in curves with radius less than 350 m with the fastening of the type СКД65-Б according to the above mentioned studies it is reduced the number regagings and adjustings of the rail track width.

Thus, the number of regagings for the entire turnaround time (27 years, 800 mln. tons gross) is approximately:

  • with wooden sleepers and fastening type ДО is100 times;

  • - with concrete sleepers and fastening of type СКД65-Б is 41 times.

Findings

Using the above mentioned studies it was found that the frequency of rail track width adjustment in the curve with radius of 350 m at the intermediate rail fastening СКД65-Б is twofold reduced as opposed to the fastening type ДО. The railway track width adjustment with the fastening type ДО is required on the 14th month and with the fastening of СКД65-Б type on the 28th month of the railway track operation.

Originality and practical value

For the first time it was comprehensively studied, described and expressed by the empirical dependence the process of changing the track width and the frequency of its adjustment in the case of fastening type СКД65-Б.

Presented preliminary studies and recommendations make it possible to perform rail track width adjustment with the fastening of type СКД65-Б in time. This will partly prevent and eliminate further development defects of the rail track in plan occurring during its operation with simultaneous ensuring the safety of train motion.

Conclusions

The work represents the studies, which are based on comparative assessment of the influence of the track width change on the periodicity of correction and adjusting its width at the fastening of type ДО, and СКД65-Б. It was chosen two curved sections of track with curve radius of 350 m. On the one section was laid the TP on wooden sleepers with the fastening type ДО, on the second section was the TP on concrete sleepers with the fastening type СКД65-Б.

The track width change at the above mentioned railway sections was investigated within five months of operation. Using the above mentioned data of the field tests it was for the first time established the frequency of rail track width adjustment with the fastening of СКД65-Б type during operation.

The first adjustment of track width in the curve radius of 350 m with the fastening of type СКД65-Б should be performed at the 28th month of operation (then every 7 months), and with the fastening of type ДО on wooden sleepers on the 14th month (then every 3 months).

Using the technical and economic calculations it was established that, unlike the track structures on wooden sleepers with the fastening type ДО, in case of laying the concrete sleepers with the fastening type СКД65-Б the economy for 1 km of railway track for the entire repair interval is 31.5%. At the current maintenance for 1 km of railway track the annual economy is 72.6%.

It was established possible number of the track for width adjustment for the entire turnaround time (800 mln. tn. gross) with concrete sleepers and the fastening type СКД65-Б decreased in 59 times.

LIST OF REFERENCE LINKS

  1. Губар, О. В. Конструкція скріплення типу СКД65-Б, можливості його застосування та визначення ділянки відводу розширення в межах перехідної кривої / О. В. Губар, М. П. Настечик // Проблеми та перспективи розвитку залізн. трансп. : тези доп. 69 Міжнар. наук.-практ. конф. / Дніпропетр. нац. ун-т залізн. трансп. – Дніпропетровськ, 2009. – С. 155.

  2. Даніленко, Е. І. Залізнична колія : підруч. для вищ. навч. закл. : у 2 т. / Е. І. Даніленко. – Киів : Інпрес, 2010. – Т. 1. – 528 с.

  3. Каменский, В. Б. Содержание железнодорожного пути в кривых / В. Б. Каменский, Э. Я. Шац. – Москва : Транспорт, 1987. – 189 с.

  4. Лысюк, В. С. Износ деревянных шпал и борьба с ним / В. С. Лысюк // Тр. ЦНИИ МПС. – Москва : Транспорт, 1971. – Вып. 445. – С. 3–220.

  5. Лысюк, В. С. Экспериментальные исследования сопротивления рельсовой нити распору в условиях обращения тяжеловесных поездов / В. С. Лысюк, А. В. Переслечин, Е. В. Суворов // Скорости движения поездов в кривых : сб. науч. тр. / ВНИИЖТ. – Москва : Транспорт, 1988. – С. 50–60.

  6. Пат. 31032 Україна, МПК7 Е 01 В 9/44 Рейкове скріплення / О. В. Губар М. П. Настечик, П. В. Рагулін, В. В. Рибкін, К. В. Корноухова, В. О. Яковлев. –№ 200712086 ; заявл. 01.11.2007 ; опубл. 25.03.2008, Бюл. № 6. – 3 с.

  7. Рибкін, В. В. Надійність залізничної колії : навч. посіб. / В. В. Рибкін, І. О. Бондаренко, Д. М. Курган. – Дніпропетровськ : ДНУЗТ, 2013. – 154 с.

  8. Рибкін, В. В. Оцінка впливу величини бічної-горизонтальної сили, що передається на вузол проміжного рейкового скріплення типу КБ та
    КПП-5 / В. В. Рибкін, І. О. Бондаренко, Р. В. Маркуль / Проблеми взаємодії колії та рухомого складу : пр. Міжнар. наук.-практ. конф., присв. 100-річчю проф. М. А. Фрішмана / Дніпропетр. нац. ун-т залізн. трансп. – Дніпропетровськ, 2013. – С. 38–39.

  9. Рыбкин, В. В. Исследование вопросов внедрения конструкции бесстыкового пути на железобетонных шпалах в кривых радиусом R≤350 м / В. В. Рыбкин, Н. П. Настечик, Р. В. Маркуль // Тр. X-ой науч.-техн. конф. с междунар. участием / Моск. гос. ун-т путей сообщ. – Москва, 2013.С. 198–201.

  10. Технічні вказівки щодо оцінки стану рейкової колії за показниками колієвимірювальних вагонів та забезпечення безпеки руху поїздів при відступах від норм утримання рейкової колії : затв. наказом Укрзалізниці № 033 Ц від 01.02.2012. – Киів : М-во інфраструктури України, 2012. – 48 с.

  11. Фришман, М. А. Как работает путь под поездами / М. А. Фришман. – 4-е изд., перераб. и доп. – Москва : Транспорт, 1987.189 с.

  12. Яхов, О. П. Особенности перешивки колеи на старогодных шпалах при проведении унификации ширины колеи / М. С. Яхов, О. П. Ершков // Тр. ВНИИЖТа. – Москва, 1960. – Вып. 192 : Ершков О. П. Расчеты железнодорожного пути в кривых и нормы его устройства / О. П. Ершков, Л. П. Мелентьев, М. С. Яхов. – С. 146–149.

  13. Ahlf, R. Matching M/W practice to require use of track / R. Ahlf // J. RT & S (Railway Track & Structures). – New York, 2016. – Vol. 10. – P. 2–3.

  14. Baluch, H. Diagnostyka nawierzchni kolejowej / H. Baluch. – Warszawa : Wydawnictwa komunikacji i lacznosgi, 1978. – 415 p.

  15. Lichtberger, B. Track Compendium. Formation, Permanent Way, Maintenance, Economic / B. Lichtberger. – Hamburg : Eurailpress, 2005. – 634 p.

  16. Rybkin, V. V. Stability issues of the continuous welded rail track on the concrete sleepers on the curves with radius R≤300 m. / V. V. Rybkin N. P. Nastechik, R. V. Markul // Sciences in Cold and Arid Region. 2013. Vol. 5. – Iss. 5. – P. 654–658. doi: 10.3724/SP.J.1226.2013.00654.


М. П. НАСТЕЧИК1, Р. В. МАРКУЛЬ2*

1Каф. «Колія та колійне господарство», Дніпропетровський національний університет залізничного транспорту імені академіка В. Лазаряна, вул. Лазаряна, 2, Дніпро, Україна, 49010, тел. +38 (056) 373 15 31, ел. пошта nastechik_mp@mail.ru, ORCID 0000-0002-4178-6092

2*Каф. «Колія та колійне господарство», Дніпропетровський національний університет залізничного транспорту імені академіка В. Лазаряна, вул. Лазаряна, 2, Дніпро, Україна, 49010, тел. +38 (056) 373 15 31, ел. пошта guaranga_mr@mail.ru, ORCID 0000-0002-7630-8963

ПЕРСПЕКТИВИ УКЛАДАННЯ СКРІПЛЕННЯ ТИПУ

СКД 65-Б В КРИВИХ ДІЛЯНКАХ КОЛІЇ МАЛОГО РАДІУСА

Мета. На сьогоднішній день згідно наказу Укрзалізниці прийнято рішення щодо повного переходу головних колій на залізобетонні шпали. Причиною цього є дефіцит дерев'яних шпал, їх висока вартість та низький термін служби, що в кривих ділянках колії радіусом R≤300 м складає всього 5–7 років (це у 5 разів менше строку служби залізобетонних шпал). Із впровадженням скріплення типу СКД65-Б з’явилась можливість плавно розширювати колію від 0 мм до 14 мм та звузити – від 0 мм до 28 мм із кроком 1 мм. При збільшеному поїзному навантаженні на колію 75…130 кН в горизонтальній площині, що характерно для кривих ділянок колії R≤300 м, часто відбуваються порушення геометрії колії у плані. Це призводить до частих виправок, періодичність проведення яких при скріпленні типу СКД65-Б на сьогоднішній день відсутня. Тому метою статті є розробка рекомендацій щодо утримання рейкової колії у плані зі скріпленням типу СКД65-Б. Методика. В основі методики проведення досліджень лежить порівняльна оцінка впливу динаміки зміни ширини рейкової колії на періодичність виконання виправки її в плані у випадку використання скріплення типу ДО та СКД65-Б. Результати. За допомогою розробленої методики досліджень було встановлено, що перше регулювання ширини рейкової колії при скріпленні типу ДО необхідно виконувати уже на 14-ий місяць, а при скріпленні типу СКД65-Б – на 28-ий місяць експлуатації. Наукова новизна. Вперше було описано та виражено емпіричною залежністю процес зміни ширини рейкової колії та періодичність виконання її регулювання у випадку використання скріплення типуСКД65-Б. Практична значимість. Розроблені авторами рекомендації дозволять вчасно виконувати регулювання ширини рейкової колії при скріпленні типу СКД65-Б і одночасно забезпечують безпеку руху поїздів.

Ключові слова: скріплення типу СКД65-Б; ширина колії; регулювання ширини колії, утримання колії у план

іН. П. НАСТЕЧИК1, Р. В. МАРКУЛЬ2*

1Каф. «Путь и путевое хозяйство», Днепропетровский национальный университет железнодорожного транспорта имени академика В. Лазаряна, ул. Лазаряна, 2, Днипро, Украина, 49010, тел. +38 (056) 373 15 31, эл. почта nastechik_mp@mail.ru, ORCID 0000-0002-4178-6092

2*Каф. «Путь и путевое хозяйство», Днепропетровский национальный университет железнодорожного транспорта имени академика В. Лазаряна, ул. Лазаряна, 2, Днипро, Украина, 49010, тел. +38 (056) 373 15 31, эл. почта guaranga_mr@mail.ru, ORCID 0000-0002-7630-8963

ПЕРСПЕКТИВЫ УКЛАДКИ СКРЕПЛЕНИЯ ТИПА СКД 65-Б

В КРИВЫХ УЧАСТКАХ ПУТИ МАЛОГО РАДИУСА

Цель. На сегодняшний день согласно приказу Укрзализныци принято решение о полном переходе главных путей на железобетонные шпалы. Причиной этого является дефицит деревянных шпал, их высокая стоимость и низкий срок службы, который в кривых участках пути радиусом R≤300 м составляет всего 5–7 лет (что в 5 раз меньше срока службы железобетонных шпал). С внедрением скрепления типа СКД65-Б появилась возможность плавно расширять колею от 0 мм до 14 мм и сузить – от 0 мм до 28 мм с шагом 1 мм. При увеличенной поездной нагрузке на путь 75...130 кН в горизонтальной плоскости, что характерно для кривых участков пути R≤300 м, часто происходят нарушения геометрии пути в плане. Это приводит к частым выправкам, периодичность проведения которых при скреплении типа СКД65-Б на сегодняшний день отсутствует. Поэтому целью статьи является разработка рекомендаций по содержанию рельсовой колеи в плане со связыванием типа СКД65-Б. Методика. В основе методики проведения исследований лежит сравнительная оценка влияния динамики изменения ширины рельсовой колеи на периодичность выполнения выправки ее в плане в случае использования скрепления типа ДО и СКД65-Б. Результаты. С помощью разработанной методики исследований было установлено, что первое регулирование ширины рельсовой колеи при скреплении типа ДО необходимо выполнять уже на 14-ый месяц, а при скреплении типа СКД65-Б – на двадцать восьмой месяц эксплуатации. Научная новизна. Впервые было описано и выражено эмпирической зависимостью процесс изменения ширины рельсовой колеи и периодичность выполнения ее регулирования в случае использования скрепления типа СКД65-Б. Практическая значимость. Разработанные авторами рекомендации позволят своевременно выполнять регулировку ширины рельсовой колеи при скреплении типа СКД65-Б и одновременно обеспечивают безопасность движения поездов.

Ключевые слова: скрепление типа СКД65-Б; ширина колеи; регулирование ширины колеи; содержание пути в плане

REFERENCES

  1. Hubar O.V., Nastechyk M.P. Konstruktsiia skriplennia typu SKD65-B, mozhlyvosti yoho zastosuvannia ta vyznachennia dilianky vidvodu rozshyrennia v mezhakh perekhidnoi kryvoi [Fastening construction СКД65-Б, possibilities of its application and determination of area of taking of expansion within the limits of transitional curve]. Tezy dopovidei 69 Mizhnarodnoi naukovo-praktychnoi konferentsii «Problemy ta perspektyvy rozvytku zaliznychnoho transportu» [Proc. of the 69 Int. Scientific and Practical Conf. «Problems and prospects of railway transport development»]. Dnipropetrovsk, 2009, p. 155.

  2. Danilenko E.I. Zaliznychna koliia. Tom 1 [Railway track. Vol. 1]. Kyiv, Inpres Publ., 2010. 528 р

  3. Kamensky V.B., Shats E.Ya. Soderzhaniye zheleznodorozhnogo puti v krivykh [Maintenance of railway track in curves]. Moscow, Transport Publ., 1987. 189 p.

  4. Lysyuk V.S Iznos derevyannykh shpal i borba s nim [Wear of wooden sleepers and preventing it]. Trudy TsNII MPS [Proc. of the Central Research Institute of Communication Lines Ministry], 1971, vol. 445, pp. 3-220.

  5. Lysyuk V.S., Pereslechin A.V., Suvorov Ye.V. Eksperimentalnyye issledovaniya soprotivleniya relsovoy niti rasporu v usloviyakh obrashcheniya tyazhelovesnykh poezdov [Experimental research of resistance of the rail thread spacers under conditions of heavy trains]. Skorosti dvizheniya poyezdov v krivykh [Rates of movement of trains in curves]. Moscow, 1988, pp. 50-60.

  6. Hubar O.V., Nastechyk M.P., Rahulin P.V., Rybkin V.V., Kornoukhova K.V., Yakovlev V.O. Reikove skriplennia [Rail fastening]. Patent UA, no. 200712086, 2007.

  7. Rybkin V.V., Bondarenko I.O., Kurhan D.M. Nadiinist zaliznychnoi kolii [Reliability railway line]. Dnipropetrovsk, DNURT Publ., 2013. 154 p.

  8. Rybkin V.V., Bondarenko I.O., Markul R.V. Otsinka vplyvu velychyny bichnoi-horyzontalnoi syly, shcho peredaietsia na vuzol promizhnoho reikovoho skriplennia typu KB ta KPP-5 [Evaluation of the influence of the horizontal lateral-force transferred to the intermediate node of the fastening type КБ and КПП-5]. pratsi Mizhnarodnoi naukovo-praktychnoi konferentsii, prysviachenoi 100-richchiu profesora M. A. Frishmana «Problemy vzaiemodii kolii ta rukhomoho skladu» [Proceedings of Int. Scientific-Practical Conf. "Problems of interaction between the track and rolling stock", dedicated to the 100th anniversary of Professor M. A. Frishman]. Dnipropetrovsk, 2013, pp. 38-39.

  9. Rybkin V.V., Nastechik N.P. Markul R.V. Issledovaniye voprosov vnedreniya konstruktsii besstykovogo puti na zhelezobetonnykh shpalakh v krivykh radiusom R≤350 m [Study on the introduction of design welded rails on concrete sleepers in a curve with a radius of less than 300 m]. Trudy X-oy nauchno-tekhnicheskoy konferentsii s mezhdunarodnym uchastiyem [Proc. of the X-th Scientific Conference with international participation]. Moscow, 2013, pp. 198-201.

  10. Tekhnichni vkazivky shchodo otsinky stanu reikovoi kolii za pokaznykamy koliievymiriuvalnykh vahoniv ta zabezpechennia bezpeky rukhu poizdiv pry vidstupakh vid norm utrymannia reikovoi kolii [Technical guidelines for assessment of rail track by track measuring performance cars and ensuring traffic safety in deviation from the norms of rail track maintenance]. Kyiv, M-vo infrastruktury Ukrainy Publ., 2012. 48 p.

  11. Frishman M.A. Kak rabotayet put pod poyezdami [How works the under trains]. Moscow, Transport Publ., 1987. 189 p.

  12. Yakhov M.S., Yershkov O.P, Melentyev L.P. Osobennosti pereshivki kolei na starogodnykh shpalakh pri provedenii unifikatsii shirini kolei [Peculiarities of regaging the track on the used sleepers during the unification of track width]. Raschety zheleznodorozhnogo puti v krivykh i normy yego ustroystva [Calculations of railway track in curves and norms of its devices]. Moscow, Transport Publ., 1960. pp. 146-149.

  13. Ahlf R. Matching M/W practice to require use of track. Journal RT & S (Railway Track & Structures), 2016, vol. 10, pp. 2-3.

  14. Baluch H. Diagnostyka nawierzchni kolejowej. Warszawa, Wydawnictwa komunikacji i lacznosgi Publ., 1978. 415 p.

  15. Lichtberger B. Track Compendium. Formation, Permanent Way, Maintenance, Economic. Hamburg, Eurailpress Publ., 2005. 634 p.

  16. Rybkin V.V., Nastechik N.P., Markul R.V. Stability issues of the continuous welded rail track on the concrete sleepers on the curves with radius R≤300 m. Sciences in Cold and Arid Region, 2013, vol. 5, issue 5, pp. 654-658. doi: 10.3724/SP.J.1226.2013.00654.

    .


    Prof. V. D. Petrenko, Sc. Tech. (Ukraine); Head of Dnipropetrovsk track distance (FC-9): Regional branch of «Prydniprovsk Railways» O. O. Saldyha (Ukraine) recommended this article to be published


    Accessed: Feb. 05, 2016

    Received: June 02, 2016




© N. P. Nastechik, R. V. Marcul 2016