ISSN 2307–3489 (Print), ІSSN 2307–6666 (Online)

Наука та прогрес транспорту. Вісник Дніпропетровського
національного університету залізничного транспорту, 201
6, 3 (63)



залізнична колія

УДК 625.141:656.259

Л. В. ТРИКОЗ1*, І. В. БАГІЯНЦ2*

1*Каф. «Будівельні матеріали, конструкції та споруди», Український державний університет залізничного
транспорту, пл. Фейєрбаха, 7, Харків, Україна, 61050, тел. +38 (057) 730 10 68, ел. пошта lvtrikoz@ukr.net,
ORCID 0000-0002-8531-7546
2*Каф. ««, Український державний університет залізничного транспорту, пл. Фейєрбаха, 7, Харків, Україна, 61050,
тел. +38 (057) 730 19 49, ел. пошта bagira54017@mail.ru, ORCID 0000-0003-0067-4382

ОБґРУНТУВАННЯ ВИБОРУ МОДЕЛІ ЗМІНИ ДІЕЛЕКТРИЧНИХ

ВЛАСТИВОСТЕЙ НЕСУЦІЛЬНИХ СИСТЕМ

Мета. У статті розглядається опір ізоляції рейкового кола як один із параметрів, що впливають на експлуатаційні показники роботи залізничного транспорту. Для зниження впливу опору ізоляції на режими функціонування рейкових кіл та на експлуатаційні показники роботи залізничного транспорту передбачено дослідити вплив поверхневої обробки щебеню на величину діелектричної проникності баластового шару. Методика. Оцінювання впливу виду матеріалу для поверхневої обробки щебеню на величину діелектричної проникності проводили, виходячи з визначення фізичної сутності відносної діелектричної проникності. Визначення відносної діелектричної проникності сипких середовищ може бути тільки непрямим – внаслідок неповного прилягання зернин щебеню та невизначеності порового об’єму. Отже, розрахунки проводили, співставляючи виміряну ємність для середовища з відомою – із виміряною ємністю середовища, для якого необхідно визначити . Тобто, у скільки разів змінюється виміряна ємність, у стільки ж разів змінюється й діелектрична проникність середовища. Результати. Досліджено, як шпали і баласт значно змінюють свою електричну провідність у залежності від наявності в них вологи, зміни навколишньої температури, наявності забруднювачів та інших факторів. Проаналізовано існуючі моделі опису діелектричних властивостей таких систем. Встановлено, що покриття баластного щебеню органічними речовинами впливає на величину його відносної діелектричної проникності. Найбільший ефект зниження цієї величини спостерігався для покриттів на основі каніфольної суміші та силікону. Наукова новизна. Новим є запропонований авторами спосіб підвищення діелектричних властивостей верхньої будови колії за рахунок нанесення на поверхню зерен баласту незмочуваних речовин, на поверхні яких не утворюється плівка вологи. Практична значимість. Показана можливість зведення до мінімуму негативного впливу зниження ізоляції з максимальним його усуненням. Пропонується рішення актуального завдання шляхом виключення впливу опору ізоляції на режими роботи рейкових кіл, що дозволить ліквідувати частину причин відмови пристроїв сигналізації та зменшити кількість випадків «несправжньої зайнятості».

Ключові слова: рейкова лінія; рейкове коло; опір ізоляції; затримки поїздів; діелектричні властивості; верхня будова колії

Вступ

Підвищення конкурентоспроможності залізничного транспорту на внутрішньому й зовнішньому ринках транспортних послуг є пріоритетним завданням Державної цільової програми реформування залізничного транспорту на 2010–2019 рр. [5]. Покращення експлуатаційних показників роботи залізничних станцій залежить від скорочення строків перебування вантажу «від відправника до одержувача».

Під час планування роботи здійснюється підбір вхідних параметрів на основі інформації, що задається роботою залізничного транспорту, а вихідні визначають обсяг та якість виконання роботи. Ступінь впливу контрольованих параметрів на систему може бути знижений як технічними, так і організаційними рішеннями. Для зниження ступеня впливу неконтрольованих параметрів на систему показників знадобляться істотні витрати на вдосконалення технічних засобів, які дозволять, хоча б непрямо контролювати параметри, які схильні до змін. Наприклад, такими технічними рішеннями є рейкові кола на залізничних станціях, перегонах, сортувальних комплексах, які, в зв’язку з різким погіршенням стану баластної призми, призводять до формування сигналів «помилкової зайнятості», що, в свою чергу, впливає на досягнення якісних, кількісних і економічних показників роботи залізничного транспорту.

Чутливим елементом рейкового кола є рейкова лінія, яка підпадає під дію як неперервних, так і дискретних впливів. З часом шпали і баласт значно підвищують електричну провідність, що викликано наявністю в них вологи, зміною нав­ко­лишньої температури, наявністю сипучих вантажів та інших чинників. Тому опір ізоляції рейкового кола знижується і є нестабільним параметром. Чим нижчий опір ізоляції, тим ненадійніша робота рейкового кола і системи управління рухом поїздів, в цілому. Завданням є знизити вплив опору ізоляції на режими функціонування рейкових кіл.

Мета

Вивчення впливу поверхневої оброб­ки щебеню на величину діелектричної проникності баластнового шару для зниження впливу опору ізоляції на режими функціонування рейкових кіл та на експлуатаційні показники роботи залізничного транспорту.

Методика

Питанням покращення експлуатаційних показників приділяється достатньо уваги в багатьох публікаціях [3, 7, 8], які, в основному, спрямовані на вибір оптимальних варіантів використання рухомого складу. У роботі [3] сформульована математична модель нормалізації технологічного процесу управління парком вантажних вагонів операторських компаній у вигляді оптимізаційної задачі з цільовою функцією, яка надана сумарними експлуатаційними витратами за період планування і системою обмежень за технічними та технологічними умовами. Автори [8], аналізуючи елементи обігу вагона, наводять залежність кількості вивільнених вагонів від зміни дільничної швидкості, зменшення середнього простою вагонів на одній технічній станції та середнього простою вагона, що припадає на одну вантажну операцію. Так, в роботі [6] запропонована оптимізаційна модель оптимального варіанта вибору кількості вагонів та їх форми власності через знаходження максимально­го прибутку залізниці. Але в цих роботах недостатньо уваги приділено аналізу параметрів, які впливають на ці експлуатаційні показники. Пропонується розглянути експлуатаційні показники як систему (рис. 1). З цією метою необхідно виділити вхідні та вихідні параметри, встановити контрольовані й неконтрольовані впливи на систему показників.

Рейкове коло – електричний ланцюг, в якому є джерело живлення, колійний приймач і рейкова лінія. За відсутності рухомої одиниці на рейковій лінії від джерела живлення до колійного приймача тече сигнальний струм. При цьому поздовжніми параметрами рейкового кола є питомий опір () й індуктивність () рейки, а поперечними – проникність між рейками () і ємність () між ними. Питомі значення первинних параметрів рейкового кола () залежать від неоднорідності баласта та висоти баластного шару, якості і стану шпал, наявності міжколійних перемичок, які застосовуються для відведення тягового струму, відсмоктувальних фідерів тягового струму, заземлення опор контактної мережі та інших факторів [6].

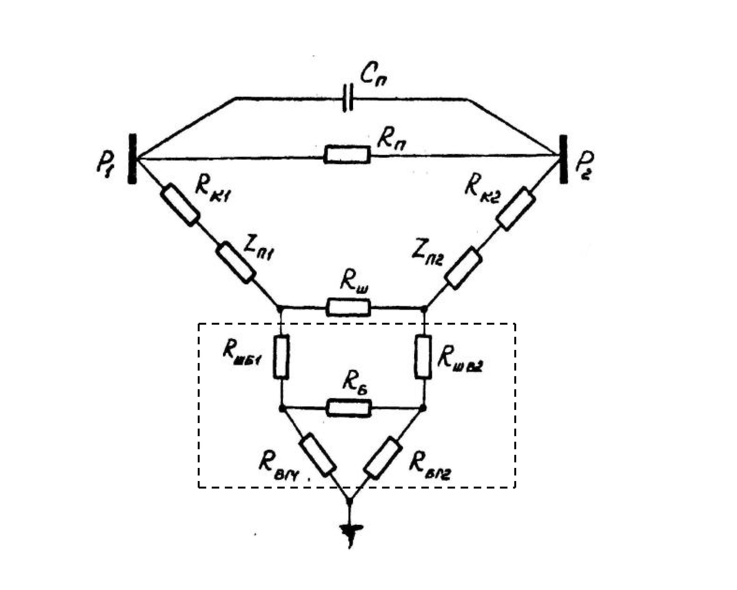
Рейкові кола повинні функціонувати за найнесприятливіших умов, в яких може опинитися рейкове коло навіть на короткий час. На умови функціонування кола впливають три незалежні змінні величини: опір баласту, опір рейок та напруга джерела живлення [17]. Щоб передача електричної енергії від джерела до приймача відбувалася з найменшими втратами потужності, необхідно зменшити електричну проникність ізоляції. У зв’язку з цим доцільно розглянути наведену автором [13] схему заміщення опору ізоляції рейкової лінії (рис. 2), яка детально розкриває перехідний опір від поверхні шпали до ґрунту при протіканні струмів витоку через шпали, баласт та ґрунт і містить такі елементи:

опір струму витоку на поверхні шпали; – ємність між рейками як обкладинками конденсатора з повітрям, що є діелектриком; – перехідний опір між рейками та металевими деталями кріплення (болтами, шурупами та металевими підкладками); – перехідний опір між металевими деталями кріплення (електродами) і деревом та бетоном шпали (електролітом); – опір шпал; – перехідний опір між шпалою та баластом; – опір баласта; – перехідний опір між баластом і ґрунтом.

Завданням є зменшити наявний ланцюг опорів у даній схемі завдяки зменшенню елементів зі зниженим опором, тобто збільшити перехідний опір між шпалою і баластом, опір баласту і перехідний опір між баластом і ґрунтом (пунктир на рис. 2).

Чим більший опір, , , , , , , тим менша проникність і тим гірше перераховані елементи проводять електричний струм витоку і навпаки: чим менший опір, тим більша проникність і тим легше струму витоку пройти крізь шпали, баласт, металеве кріплення, ґрунт.

Рис. 1. Експлуатаційна робота як система показників

Fig. 1. Field operation as the system of indices

Рис.2. Схема заміщення опору ізоляції
рейкової лінії

Fig.2. Equivalent circuit of insulation resistance
for the rail line

За формулою проникності ізоляції рейкової лінії визначається таким чином [2]

,

де – активна складова проникності ізоляції, См/км; – позначає уявну частину комплексної величини; – еквівалентна ємність ізоляції, Ф/км; – кутова частота сигнального струму, рад/с; – частота сигнального струму, Гц.

На зменшення опору баласту значно впливає ступінь забрудненості баластного шару і шпал. Навіть щебеневий баласт через деякий час після укладання, забруднюючись дрібним піском, пилом, шлаком, вугіллям, мінеральними солями, рудами, що перевозяться залізницею, і металевим пилом, що створюється гальмівними колодками при гальмуванні рухомого складу, значно знижує свій електричний опір [9].

Відомо із [1, 11, 14, 18], що на стан верхньої будови колії впливають сипучі вантажі, які призводять до того, що в баластній призмі може спостерігатися вся «таблиця Менделєєва». Існують різні способи очищення баластної призми від забруднювачів, такі як ручне очищення щебеню, щебенеочисні машини на рейковому ходу типу ЩОМ–1200, СЧ–600, RM–80 та інші, що здійснюють пошарове укладання очищеного баласту, промивання баласту. Роботи з очищення щебеню вручну малопродуктивні, дорого коштують і стомлюють робітників. Крім того, деяка кількість забруднювачів у ньому залишається або в процесі очищення потрапляє знову. Машини типу RM-80 виконують очищення односторонніх стрілочних переводів й використовуються не тільки на перегонах, а й на станціях. Вартість очищення одного погонного метра на 2015 рік складає приблизно 85 гривень.

Згідно з дослідженнями [1], після звичайної промивки ступінь забруднення відпрацьованого баластного матеріалу знижується не менше ніж в 2 рази. Альтернативним способом виключення впливу опору ізоляції на режими роботи рейкових кіл є заміна старого баласта на новий. Це зможе покращити показники, але враховуючи великі витрати коштів на заміну баласту у разі потреби припинення руху на час проведення робіт і обмеження швидкості руху на час стабілізації баластної призми ефект втрачається через повторне забруднення. Цей метод дає поліпшення на деяких ділянках лише на обмежений час.

Таким чином, усі існуючі способи очищення мають як низку переваг, так і недоліків. У попередніх дослідженнях було зясовано[15]: якщо фракції щебеню обробляти органічними матеріалами перед укладанням у колію або після промивання, то це вплине на зниження його електричної проникності. Виконані додаткові експерименти з нанесення захисних покриттів дозволяють зменшувати електропровідність баластного щебеню навіть в умовах просипання на колію перевезених мінеральних добрив, підвищуючи надійність роботи рейкової лінії, оскільки це і є задачею зниження впливу неконтрольованих параметрів.

За статистичними даними [12] 94,5 % відмов відбувається через незадовільне утримання колії. Тому, за допомогою знаходження найкращого способу запобігання впливу опору ізоляції за відсутності впливу забруднювачів на роботу рейкових ланцюгів можна отримати позитивну тенденцію в основних показниках експлуатаційної роботи. Удосконалення рейкових ланцюгів для забезпечення їх працездатності при низькому опорі ізоляції є недешевим засобом [16], тому слід звернути увагу на створення таких заходів, які дозволили б технічними або іншими рішеннями поліпшити стан баластної призми.

Результати

Оцінювання впливу виду матеріалу для поверхневої обробки щебеню на величину діелектричної проникності виконували виходячи із визначення фізичної сутності відносної діелектричної проникності. Це число, яке показує, у скільки разів збільшується ємність при заповненні простору між обкладками конденсатора даним ізолюючим середовищем порівнянно із вакуумом (повітрям). Ємність конденсатора та відносна діелектрична проникність зв’язані між собою відомою формулою

,

де – площа пластин конденсотора, м2; відстань між пластинами, м.

Для суцільного діелектричного середовища визначення відносної діелектричної проникності за виміряним значенням ємності не викликає утруднень. Але для несуцільних сипких середовищ, наприклад щебеню або піску, дуже складно оцінити площу електродів внаслідок неповного прилягання зернин щебеню та невизначеності порового об’єму (рис. 3).

Рис. 3. Схема розміщення сипких матеріалів
між обкладками умовного конденсатора

Fig. 3. Layout of bulk material between the plates
of the conditional capacitor

Крім того, шлях проходження струму стає звивистим, що викликає додаткові труднощі у визначенні величини . Тому визначення відносної діелектрич­ної проникності може бути в таких умовах тільки непрямим – співставляючи виміряну псевдоємність для середовища з відомою з виміряною псевдоємністю середовища, для якого необхідно визначити . Тобто, у скільки разів змінюється виміряна ємність, у стільки ж разів змінюється й діелектрична проникність середовища.

У цій роботі ємність визначали за допомогою вимірювача типу Е8-12А. Для цього у контейнер об’ємом 0,01 м3 поміщали зразки як чистого баластного щебеню, так і забрудненого. Для вивчення впливу покриття на діелектричні властивості на поверхню щебеню наносили такі речовини: бітум, каніфольну суміш, лакове покриття, силікон. Значення виміряної ємності та розрахункової величини відносної діелектричної проникності зазначених зразків наведено в таблиці. Значення відносної діелектричної проникності для чистого щебеню = 4,5 прийнято із [4].

Наукова новизна та практична значимість

Як свідчать дані вимірювань, наведені в таблиці, найбільше (порівняно з чистим щебенем, зразок № 1) діелектричну проникність зменшило каніфольне та силі­конове покриття (зразки № 4 і 6). Також зниження проникності спостерігається для лакового покриття (зразок № 5). Бітумне покриття, як і забруднення щебеню, дещо збільшило величину (зразки № 2 і 3).

Для розробки математичної моделі скористаємося емпіричною ємнісною моделлю багатокомпонентної системи. Щебеневий баласт є системою, комплексна діелектрична проникність якої визначається об’ємними частками й діелектричними властивостями складових компонентів, а саме твердих частинок щебеню, по­вітря, вільної та зв’язаної води. На сьогодні немає фізичної моделі діелектричної проникності дисперсних систем на основі діелектричної проникності та об’ємних часток окремих компонент. Найпростіші моделі для двокомпонентних систем ґрунтуються на моделі плоского конденсатора, діелектрик якого складається з двох суцільних діелектриків, що мають різні відносні діелектричні проникності та . Якщо позначити їх об’ємні концентрації як та (вочевидь, що = 1), то ефективна діелектрична проникність може бути визначена за формулами:

для паралельного розташування діелектриків

;

для послідовного розташування діелектриків

.

Таблиця 1

Значення ємності та розрахункової величини
відносної діелектричної проникності

Table 1

Capacitance and the calculated values
of the relative dielectric conductivity

зразка

Опис зразка

Ємність С, пФ

Відносне змінення ємності

Відносна діелектрична проникність

1

Щебінь чистий

97,4

1

4,5

2

Щебінь забруднений

98,1

1,007

4,53

3

Щебінь чистий з бітумним покриттям

97,6

1,002

4,51

4

Щебінь чистий з каніфольним покриттям

93,0

0,955

4,29

5

Щебінь чистий з лаковим покриттям

96,4

0,989

4,45

6

Щебінь чистий з силіконовим покриттям

95,0

0,975

4,39


Для багатокомпонентних сумішей з хаотичним розташуванням складових пропонується розглядати конденсатор, в якому шари діелектриків розташовані як паралельно, так і послідовно. У цьому випадку формула для визначення ефективної діелектричної проникності стає набагато складнішою. Так, автори [10] розглядають ґрунт як п’ятикомпонентну систему, яка складається із твердих частинок ґрунту, повітря, вільної води, міцно зв’язаної та пухко зв’язаної води. Підсумкова формула для такої системи, запропонована авторами [9], має вигляд:

,

де – об’ємна частка та діелектрична проникність і-го компонента суміші; – вільний параметр.

У цій же роботі наводиться інша чотирикомпонентна модель для розрахунку діелектричної проникності

,

де параметр, який підбирається експериментально.

Недоліком подібних моделей є те, що параметри в рівняннях є емпіричними і не мають фізичної сутності. Тому наступним етапом досліджень повинно бути підбір такої математичної моделі, в якій всі параметри мають чітку фізичну сутність і можуть бути визначені на основі об’єктивних властивостей матеріалів без експериментального підбирання багаточисленними вимірюваннями.

Висновки

Експериментально доведено, що покриття баластного щебеню органічними речовинами впливає на величину його відносної діелектричної проникності. Найбільший ефект зниження цієї величини спостерігався для покриття на основі каніфольної суміші та силікону. Таке покриття може бути запропоновано для обробки чистого щебеню перед його укладанням у колію під час ремонтів для продовження термінів експлуатації баластного шару, попередження адгезійного забруднення та ліквідації випадків «несправжньої зайнятості» рейкових кіл, покращення експлуатаційних показників роботи залізничного транспорту. Подальше дослідження буде спрямовано на вибір та експериментальне підтвердження математичної моделі зміни діелектричних властивостей багатокомпонентних систем.

СПИСОК ВИКОРИСТАНИХ ДЖЕРЕЛ

  1. Аналіз існуючих способів очищення і ути-лізації забрудненого баластного щебеню / О. М. Пшінько, А. В. Краснюк, В. П. Лисняк, О. В. Громова // Вісн. Дніпропетр. нац. ун-ту залізн. трансп. ім. акад. В. Лазаряна. – Дніпропетровськ, 2007. – Вип. 17. – С. 209–213.

  2. Брылеев, А. М. Теория, устройство и работа рельсовых цепей : учеб. пособие / А. М. Брылеев, Ю. А. Кравцов, А. В. Шишляков. – Москва : Транспорт, 1978. – 344 с.

  3. Бутько, Т. В. Формалізація процесу управління парком вантажних вагонів операторських компаній / Т. В. Бутько, О. Е. Шандер // Вост.-Европ. журнал передовых технологий. – 2014. – № 2/3. – С. 55–58.

  4. Воробьев, В. Б. Определение состояния балласта и земляного полотна железнодорожного пути георадиолокационным методом в режиме скоростного мониторинга : дис. … канд. техн. наук : 05.22.06 / Воробьев Владимир Борисович. – Ростов-на-Дону : РГУПС, 2008. – 146 с.

  5. Державна цільова програма реформування залізничного транспорту на 2010–2019 роки [Електронний ресурс] : Постанова Кабінету Міністрів України від 16 грудня 2009 р. № 1390 // [Офіційний сайт Верховної Ради України]. – Режим доступу: zakon1.rada.gov.ua/-laws/show/1390-2009-п. – Назва з екрана. – Перевірено : 31.10.2015.

  6. Котляренко, Н. Ф. Электрические рельсовые цепи : учеб. пособие / Н. Ф. Котля­ренко. – Москва : Трансжелдориздат, 1961. – 328 с.

  7. Лаврухін, О. В. Наукові підходи до вдосконалення технології експлуатації вантажних вагонів всіх форм власності / О. В. Лаврухін, Г. С. Бауліна, Г. Є. Богомазова // Інформ.-керуючі системи на залізн. транспорті. – 2015. – № 4. – С. 48–55.

  8. Лаврухін, О. В. Формування вихідних даних моделі стабілізації обігу вагонів / О. В. Лаврухін, Ю. В. Доценко : зб. наук. пр. / ДонІЗТ УкрДАЗТ. – Донецьк, 2012. – Вип. 32. – С.19–24.

  9. Мороз, В. П. Непрерывные путевые датчики систем железнодорожной автоматики и телемеханики для участков с пониженным сопротивлением изоляции : дис. … канд. техн. наук : 05.22.08 / Мороз Владимир Петрович. – Харьков : ХИИТ, 1996. – 156 с.

  10. Определение диэлектрической проницаемости прочно- и рыхлосвязанной воды на СВЧ с использованием емкостной модели диэлектрической проницаемости почв [Електронний ресурс] / А. П. Бобров, П. П. Бобров, О. А. Иванченко, В. Н. Мандрыгина // Вестн. Омск. гос. пед. ун-та. Физ.-мат. науки. – 2006. – Тем. вып. – Режим доступу: http://www.omsk.-edu/article/vestnik-omgpu-149.pdf. – Назва з екрана. – Перевірено : 31.10.2015.

  11. Пат. 2009104966/11 Российская Федерация, МПК E 01 B 11/54 E 01 B 19/00. Устройство для защиты изоляционных стыков рельсов от скопления металлической стружки / заявитель и патентообладатель ООО «Российские железные дороги». – № 2389843 ; заявл. 13.02.2009 ; опубл. 20.05.2010, Бюл. № 14. – 3 с.

  12. Рельсовым цепям – повышенное внимание! [Електронний ресурс]. – Режим доступу: http://www.archivesg.narod.ru/ Avarii6.htm. – Назва з екрана. – Перевірено : 05.10.2015.

  13. Соболев, Ю. В. Путевые преобразователи автоматизированных систем управления железнодорожным транспортом : учеб. пособие /Ю. В. Соболев. – Харьков : Транспорт Украины, 1999. – 200 с.

  14. Технологія ефективного очищення та шляхи утилізації відпрацьованого баластного щебеню у транспортному будівництві / О. М. Пшінько, А. В. Краснюк, Ю. Л. Заяць, О. В. Громова // Мости та тунелі: теорія, дослідження, практика. – 2013. – Вип. 4. – С. 75–81.

  15. Трикоз, Л. В. Дослідження питомої електричної провідності баластного щебеню при перевезенні мінеральних добрив залізнич­ним транспортом / Л. В. Трикоз, І. В. Багіянц // Вісн. НТУ «ХПІ». Серія : Нові рішення в сучасних технологіях : зб. наук. пр. – Харків, 2015. – № 62 (1171). – С. 35–39.

  16. Diemunsch, K. M. Consequences of Failed Track Circuits on Conventional Signaling System in CBTC Projects / K. M. Diemunsch, D. J. Reitz // 2013 Joint Rail Conference (15.04–18.04.2013). – Knoxville, Tennessee, USA, 2013. – Р. 1–10. doi: 10.1115/JRC2013-2515.

  17. Du, X. Calculation of the Impedance of a Rail Track With Earth Return for the High-Speed Railway Signal Circuit Using Finite-Element Method / X. Du, J. Zou, Zh. Wang // IEEE Transactions on Magnetics. – 2015. – Vol. 51. – Iss. 3. – P. 1–4. doi: 10.1109/TMAG.2014.-2360884.

  18. Model Track Studies by Ground Penetrating Radar (GPR) on Ballast With Different Fouling and Geotechnical Properties / H. F. Kashani, L. H. Carlton, C. P. Oden, S. S. Smith // 2015 Joint Rail Conference (23.04–26.04.2015). – San Jose, California, USA, 2015. – Р. 1–8. doi: 10.1115/JR-C2015-5643.

Л. В. ТРИКОЗ1*, И. В. БАГИЯНЦ2*

1*Каф. «Строительные материалы, конструкции и сооружения», Украинский государственный
университет железнодорожного транспорта, пл. Фейербаха, 7, Харьков, Украина, 61050,
тел. +38 (057) 730 10 68, эл. почта lvtrikoz@ukr.net,
ORCID 0000-0002-8531-7546

2*Украинский государственный университет железнодорожного транспорта, пл. Фейербаха, 7,
Харьков, Украина, 61050, тел. +38 (057) 730 19 49, эл. почта bagira54017@mail.ru,
ORCID 0000-0003-0067-4382

ОБОСНОВАНИЕ ВЫБОРА МОДЕЛИ ИЗМЕНЕНИЯ

ДИЭЛЕКТРИЧЕСКИХ СВОЙСТВ НЕСПЛОШНЫХ

СИСТЕМ

Цель. В статье рассматривается сопротивление изоляции рельсовой цепи как одного из параметров, влияющих на эксплуатационные показатели работы железнодорожного транспорта. Для снижения влияния сопротивления изоляции на режимы функционирования рельсовых цепей и на эксплуатационные показатели работы железнодорожного транспорта предполагается исследовать влияние обработки щебня на величину диэлектрической проницаемости балластного слоя. Методика. Оценка влияния вида материала для поверхностной обработки щебня на величину диэлектрической проницаемости проводили, исходя из определения физической сущности относительной диэлектрической проницаемости. Определение относительной диэлектрической проницаемости сыпучих сред может быть только косвенным – вследствие неполного прилегания зерен щебня и неопределенности порового объема. Таким образом, расчеты проводили, сопоставляя измеренную емкость для среды с известной с измеренной емкостью среды, для которой необходимо определить . То есть, во сколько раз меняется измеренная емкость, во столько же раз меняется и диэлектрическая проницаемость среды. Результаты. Исследовано, как шпалы и балласт значительно изменяют свою электрическую проводимость в зависимости от наличия в них влаги, изменения окружающей температуры, наличия загрязнителей и других факторов. Проанализированы существующие модели описания диэлектрических свойств таких систем. Установлено, что покрытие балластного щебня органическими веществами влияет на величину его относительной диэлектрической проницаемости. Наибольший эффект снижения этой величины наблюдался для покрытий на основе канифольной смеси и силикона. Научная новизна. Новым является предложенный авторами способ повышения диэлектрических свойств верхнего строения пути за счет нанесения на поверхность зерен балласта несмачиваемых веществ, на поверхности которых не образуется пленка воды. Практическая значимость. Показана возможность сведения к минимуму негативного влияния снижения изоляции с максимальным его устранением. Предлагается решение актуальной задачи путем исключения влияния сопротивления изоляции на режимы работы рельсовых цепей, что позволит ликвидировать часть причин отказа устройств сигнализации и уменьшить количество случаев «ложной занятости».

Ключевые слова: рельсовая линия; рельсовая цепь; сопротивление изоляции; задержки поездов; диэлектрические свойства; верхнее строение пути

L. V. TRYKOZ1*, І. V. BAHIIANTS2

1*Dep. «Building Materials, Constructions and Structures», Ukrainian State University of Railway Transport, Feyerbach Square, 7, Kharkiv, Ukraine, 61050, tеl. +38 (057) 730 10 68, e-mail lvtrikoz@ukr.net, ORCID 0000-0002-8531-7546
2*Ukrainian State University of Railway Transport, Feyerbach Square, 7, Kharkiv, Ukraine, 61050, tеl. +38 (057) 730 19 49,
e-mail bagira54017@mail.ru, ORCID 0000-0003-0067-4382

RATIONALE FOR CHOOSING THE CHANGE MODEL

OF THE DIELECTRIC PROPERTIES OF DISCONTINUOUS

SYSTEMS

Purpose. The article deals with the insulation resistance of the track circuit as one of the parameters that affect the operating performance of the railway transport. To reduce the influence of the insulation resistance on the operation modes of the track circuits and the performance indicators of railway transport it is assumed to study the influence of crushed stone treatment on the value of dielectric permeability of the ballast bed. Methodology. The influence of material type for the surface treatment of crushed stone on the value of the dielectric permeability was assessed on the basis of the physical nature determination of the relative dielectric permeability. Determination of the relative dielectric permeability of granular media can only be indirect, as a consequence of incomplete adjoining of crushed stone grains and uncertainty of the pore volume. Thus, the calculations were performed by comparing the measured capacity for a medium with the known with measured medium capacity, for which it is necessary to define. That is, the more the measured capacity is changed, the more changes the dielectric permeability of the medium. Findings. Sleepers and ballast significantly change their electrical conductivity depending on the presence of moisture, ambient temperature changes, the presence of pollutants and other factors. The article analyzes the existing models to describe the dielectric properties of such systems. It has been established that coating the crushed stone ballast with organic substances influences the value of its relative dielectric permeability. The greatest effect of reducing this value is observed for the coatings based on rosin mixture and silicone. Originality. Authors proposed original method of dielectric properties increase of the permanent way by grains’ coating with nonwettable substances, on the surface of which is not formed a water film. Practical value. The article shows the possibility of minimizing the negative influence of reducing the isolation with maximum its elimination. It is proposed the solution of actual problem by eliminating the influence of insulation resistance on the modes of track circuits operation, which will eliminate the part of causes of the failure of signaling devices and reduce the number of cases of «false business».

Keywords: rail line; track circuit; insulation resistance; train delays; dielectric properties; permanent way

REFERENCES

  1. Pshinko O.M., Krasniuk A.V., Lysniak V.P., Hromova O.V. Analiz isnuiuchykh sposobiv ochyshchennia i utylizatsii zabrudnenoho balastnoho shchebeniu [Analysis of existing methods of cleaning and utilization of contaminated of ballast rubble]. Visnyk Dnipropetrovskoho natsionalnoho universytetu zaliznychnoho transportu imeni akademika V. Lazariana [Bulletin of Dnipropetrovsk National University named after Academician V. Lazaryan], 2007, issue 17, pp. 209-213.

  2. Bryleyev A.M., Kravtsov Yu.A., Shishlyakov A.V. Teoriya, ustroystvo i rabota relsovykh tsepey [The theory, structure and operation of track circuits]. Moskow, Transport Publ., 1978. 344 p.

  3. Butko T.V., Shander O.Ye. Formalizatsiia protsesu upravlinnia parkom vantazhnykh vahoniv operatorskykh kompanii [Formalization of the management process of freight cars fleet of operator companies]. Vostochno-Yevropeyskiy zhurnal peredovykh tekhnologiyEast European Journal of Advanced Technologies, 2014, no. 2/3, pp. 55-58.

  4. Vorobyev V.B. Opredeleniye sostoyaniya ballasta i zemlyanogo polotna zheleznodorozhnogo puti georadiolokatsionnym metodom v rezhime skorostnogo monitoringa. Kand., Diss. [Determining the condition of rubble and subgrade of railway track using the method of ground penetrating radar in the mode of speed monitoring. Cand. Diss.]. Rostov-on-Don, 2008. 146 p.

  5. Kotlyarenko N.F. Elektricheskiye relsovyye tsepi [Electrical track circuits]. Mosсow, Transzheldorizdat Publ., 1961. 328 p.

  6. Lavrukhin O.V., Baulina H.S., Bohomazova H.Ye. Naukovi pidkhody do vdoskonalennia tekhnolohii ekspluatatsii vantazhnykh vahoniv vsikh form vlasnosti [Scientific approaches to improving the operation technology of freight cars of all forms of ownership]. Informatsiino-keruiuchi systemy na zaliznychnomu transportiInformation and Control Systems on Railway Transport, 2015, no. 4, pp. 48-55.

  7. Lavrukhin O.V., Dotsenko Yu.V. Formuvannia vykhidnykh danykh modeli stabilizatsii obihu vahoniv [Formation of the output data of stabilization model of cars circulation]. Zbirnyk naukovykh prats Donetskoho instytutu zaliznychnoho transportu [Proc. of Donetsk Institute of Railway Transport], 2012, issue 32, pp.19-24.

  8. Moroz V.P. Nepreryvnyye putevyye datchiki sistem zheleznodorozhnoy avtomatiki i telemekhaniki dlya uchastkov s ponizhennym soprotivleniyem izolyatsii. Kand., Diss. [Continuous path-control transducers of railway automation and remote control systems for the sections with low insulation resistance. Cand. Diss.]. Kharkiv, 1996. 156 p.

  9. Bobrov A.P., Bobrov P.P., Ivanchenko O.A., Mandrygina V.N. Opredeleniye dielektricheskoy pronitsayemosti prochno- i rykhlosvyazannoy vody na SVCh s ispolzovaniyem yemkostnoy modeli dielektricheskoy pronitsayemosti pochv [Determination of the dielectric permeability of adsorbed and film water on super-high frequency using a capacitive model of soil dielectric permeability]. Vestnik Omskogo gosudarstvennogo pedagogicheskogo universiteta [Bulletin of Omsk State Pedagogical University], issue 2006, 5 p. Available at: http://www.omsk.edu/article/vestnik-omgpu-149.pdf (Accessed 31 October 2015).

  10. Ustroystvo dlya zashchity izolyatsionnykh stykov relsov ot skopleniya metallicheskoy struzhki [The device for protection of the insulating rail joints from accumulation of swarf]. Patent RU, no. 2389843, 2010.

  11. Derzhavna tsilova prohrama reformuvannia zaliznychnoho transportu na 2010–2019 roky (State target program of reforming the railway transport for 2010-2019). Available at: zakon1.rada.gov.ua/laws/show/1390-2009-p (Accessed 31 October 2015).

  12. Relsovym tsepyam – povyshennoye vnimaniye! (Increased attention to the rail circuits). Available at: http://www.archivesg.narod.ru/Avarii6.htm (Accessed 05 October 2015).

  13. Sobolev Yu.V. Putevyye preobrazovateli avtomatizirovannykh sistem upravleniya zheleznodorozhnym transportom [Track converters of automated control systems of railway transport]. Kharkov, Transport Ukrainy Publ., 1999. 200 p.

  14. Pshinko O.M., Krasniuk A.V., Zaiats Yu.L., Hromova O.V. Tekhnolohiia efektyvnoho ochyshchennia ta shliakhy utylizatsii vidpratsovanoho balastnoho shchebeniu u transportnomu budivnytstvi [Effective cleaning technology and ways of recycling the waste ballast rubble in transport construction]. Mosty ta tuneli: teoriia, doslidzhennia, praktyka [Bridges and Tunnels: Theory, Research, Practice], 2013, issue 4, pp. 75-81.

  15. Trykoz L.V., Bahiiants I.V. Doslidzhennia pytomoi elektrychnoi providnosti balastnoho shchebeniu pry perevezenni mineralnykh dobryv zaliznychnym transportom [Research of specific electrical conductivity of ballast rubble during transportation of mineral fertilizers by railway transport]. Novi rishennia v suchasnykh tekhnolohiiakh – New Decisions in Modern Technologies, 2015, no. 62 (1171), pp. 35-39.

  16. Diemunsch K.M., Reitz D.J. Consequences of Failed Track Circuits on Conventional Signaling System in CBTC Projects. Joint Rail Conf. Tennessee, 2013, pp. 1-10. doi: 10.1115/JRC2013-2515.

  17. Du X., Zou J., Wang Zh. Calculation of the Impedance of a Rail Track With Earth Return for the High-Speed Railway Signal Circuit Using Finite-Element Method. IEEE Transactions on Magnetics, 2015, vol. 51, issue 3, pp. 1-4. doi: 10.1109/TMAG.2014.2360884.

  18. Kashani H.F., Ho. Carlton L., Oden C.P., Smith S.S. Model Track Studies by Ground Penetrating Radar (GPR) on Ballast With Different Fouling and Geotechnical Properties. Joint Rail Conf. California, 2015, pp. 1-8. doi: 10.1115/JRC2015-5643.


Стаття рекомендована до друку д.т.н., проф. В. Д. Петренком (Україна); д.т.н., проф.
А. А. Плугіним (Україна)

Надійшла до редколегії: 16.03.2016

Прийнята до друку: 08.06.2016

doi © Л. В. Трикоз, І. В. Багіянц, 2016