ISSN 2307–3489 (Print), ІSSN 2307–6666 (Online)

Наука та прогрес транспорту. Вісник Дніпропетровського
національного університету залізничного транспорту, 2018, №
5 (77)



нЕТРАДИЦІЙНІ ВИДИ ТРАНСПОРТУ. мАШИНИ ТА МЕХАНІЗМИ

нЕТРАДИЦІЙНІ ВИДИ ТРАНСПОРТУ. мАШИНИ ТА МЕХАНІЗМИ

UDC 621.774.6.06

S. S. ZDANEVICH1*, R. P. POGREBNYAK2*, S. V. ZDANEVICH3*

1*Dep. «Metallurgical Production Machines and Units», National Metallurgical Academy of Ukraine, Gagarin Av., 4,
Dnipro, Ukraine, 49005, e-mail zdanevichss@gmail.com, tel. +38 (066) 044 89 35,
ORCID 0000-0003-3034-4165
2*Dep. «Applied Mechanics», National Metallurgical Academy of Ukraine, Gagarin Av., 4, Dnipro, Ukraine, 49005,
tel. +38 (056) 743 32 76, e-mail pogrebnyakk@ukr.net,
ORCID 0000-0002-4685-1818
3*Dep. «Applied Mechanics», National Metallurgical Academy of Ukraine, Gagarin Av., 4, Dnipro, Ukraine, 49005,
tel. +38 (050) 452 79 52, e-mail sergzd@i.ua,
ORCID 0000-0001-8594-3806

STRUCTURAL ANALYSIS AND RATIONAL

DESIGN OF MECHANISMS of CROSS-ROLL

TUBE STRAIGHTENING MACHINEs

Purpose. The article is aimed to perform a structural analysis of the main and auxiliary mechanisms of tube straightening machines, to identify structural and local redundant links in the mechanism schemes, and to offer recommendations on their rational design. Methodology. The solution is realized by means of the theory of mechanisms and machines using structural analysis of the mechanisms of tube straightening machines based on the universal structural theory of O.G. Ozol. Findings. The extended principle of the machine’s mechanism formation, which provides inclusion to the mechanism not only невільних solid bodies, but also the deformed bodies, allows us to consider the structure of machines for pressure processing of metals, taking into account the plastically deformed workpiece. Therefore, such machines include in their composition a deformed workpiece as an integral part of the machine mechanism, whose deformation and addition of certain geometric parameters to it is the reason the tube straightener was created for. Defects in the machine structure are determined by the local and structural redundant links included in the kinematic chains of the mechanisms, which transform the mechanism into a statically undetermined system. Movement of the mechanism with defects in the structure is possible in the presence of gaps or due to deformation of the links. The main mechanism of the tube straightening machine is a mechanism of variable structure, therefore, an analysis for its two states is carried out: before the tube is caught by the rollers and during its straightening. For calculation of the number of mobilities of the outer «roll – tube» pair, it was taken into consideration that most of the coordinates are overlaid with non-retentive links, which contain a fractional number of constraints. Fifteen redundant links were identified in the main mechanism and their amount in the auxiliary mechanisms of the tube straightening machine was established. Originality. The structural analysis of tube straightening machines with the search for redundant links was never performed. A structural analysis of the mechanisms of cross roll tube straightening machine was performed for the first time, taking into account the presence of external fractional links that are superimposed in the «roll-tube» pairs. Practical value. The practical recommendations for eliminating the harmful redundant links that were found in the structural analysis of the main and auxiliary mechanisms of the tube straightening machine were developed

Keywords: tube straightening machine; structural analysis; redundant links; external fractional links

Introduction

Modern hot rolling mills use cross-roll tube straightening machines (TSM) for the strengthening of pipes [2, 3, 9, 12] of different designs, which differ in the number of rollers, the design of the main drives, the bearing structure, the adjustment mechanisms.

As a rule, TSM operate in the technological line of the mill in the absence of redundancy, which imposes high reliability requirements on these aggregates. In many cases, insufficient reliability of the adjustage machines of pipe-rolling shops, along with high technological loads, is due to defects in the structure of their mechanisms. It is known [6, 11] that defects in the structure are determined by mechanisms embedded in the kinematic chains of mechanisms by local and structural redundant links (RL), transform the mechanism into a statically undetermined system. Movement of the mechanism with defects in the structure is possible in the presence of gaps or due to deformation of the links. In the latter case, there are additional static and dynamic loads, not related to the implementation of technological operations, which depend on the errors of manufacturing and installation, rigidity of body parts and units.

In transient and non-stationary modes of mechanisms with redundant links and gaps in kinematic pairs there are significant dynamic, including shock loads, which cause increased wear of elements of kinematic pairs and progressive increase of gaps, resulting in increased intensity of shock impulses and noise [3].

Machines consisting of mechanisms without redundant links, thus statically determined mechanisms do not have the deficiencies mentioned above. Therefore, while designing and modernizing machines, it is necessary to include in their design mainly statically determined mechanisms, because under all other equal conditions, they guarantee the receipt of machines with higher technical and operational parameters.

The analysis of the mechanisms` structure is a qualitative method, which allows to establish the possibility of additional loads, which are not connected with the technological process, arising in the closed kinematic chains of the mechanisms during deformations of the links and the body, assembly, etc., as well as to verify the correctness of structural formation of the mechanisms.

In the process of analysis, all the TPM mechanisms were considered as spatial ones, the links were considered as absolutely rigid ones, and the kinematic pairs and connections in the first approximation – ideal (without gaps). Analysis of the TSM structure was performed on the basis of the O.G. Ozol’s universal structural theory [5].

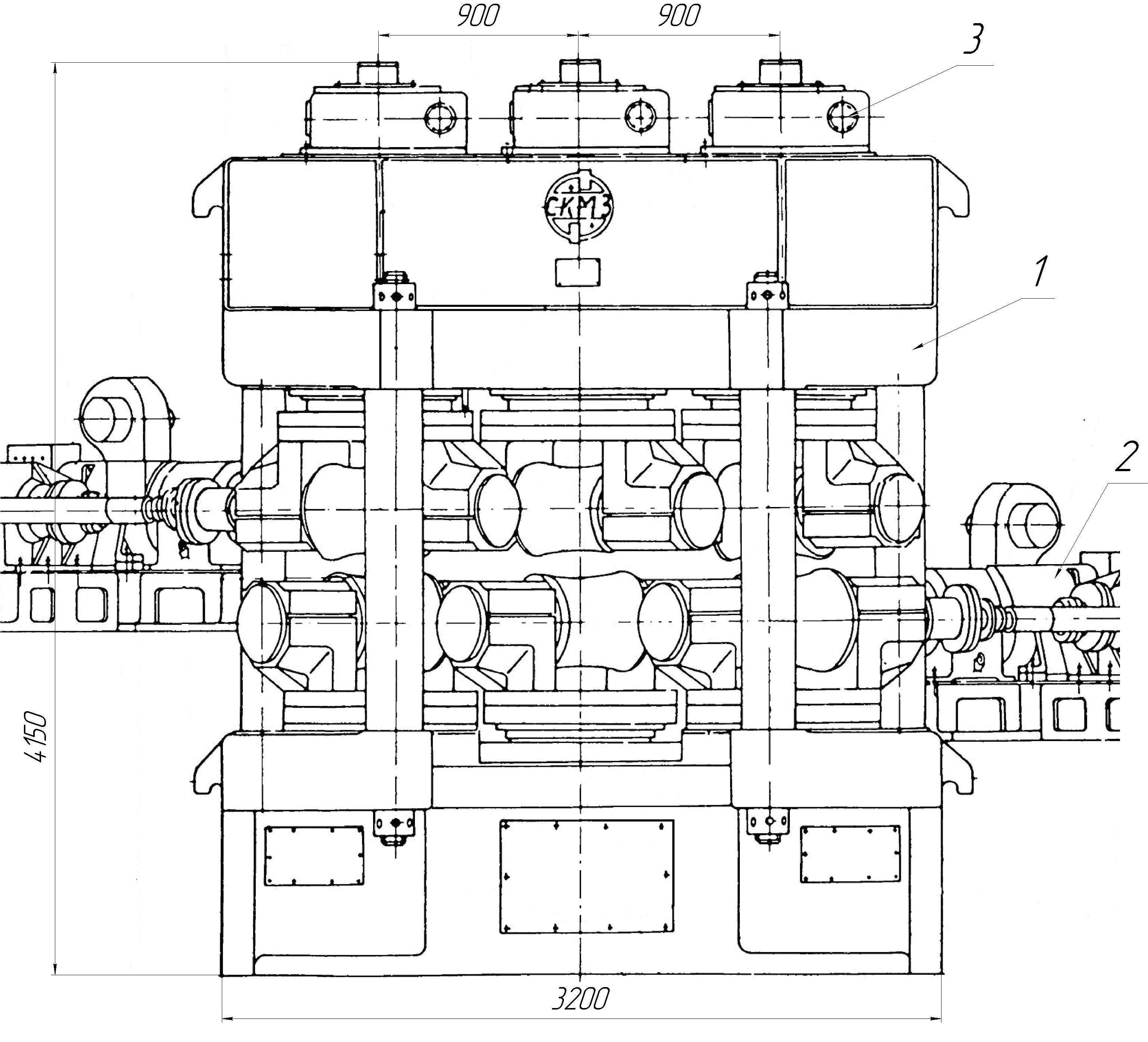
Six-roll TSM OVV 900x3 (Fig. 1) of the construction of the Starokramatorsk Machine-Building Plant (SKMP), with all the cross, hyperbolic rolls of identical length, is installed at the strengthening tube section of the continuous tube-rolling mill (TRM-140). TSM is designed to work in the technological line of the TRM-140 in the absence of reservation on the rational layout of rolls, according to the type of Kieserling tube straightener [4, 7, 8, 10]. It consists of the bearing structure, individual drive of rollers and adjustment mechanisms.

Fig.1. Six-rolls TSM OVV 900x3 (designed by SKMP):
1 – bearing structure; 2 – individual drive of rolls;
3 – adjusting mechanism

There are no studies of structural schemes of the cross-roll TSM in the literature, as well as recommendations on the rational choice of kinematic and structural schemes of TSM mechanisms.

Problem statement

Previously completed TSM studies [3, 4] allowed identifying dynamic and structural imperfections: low vibrational stability of the bearing structure, drives overload, wear and limited life of some major parts and units. Some equipment failures can be caused by structural defects in the kinematic schemes of the mechanisms.

Purpose

The article is aimed to a structural analysis of the basic mechanisms of tube straightening machines, identify structural and local redundant links in the circuits, and prepare recommendations for the rational design of the TSM units.

Methodology

The given task is solved by the means of the theory of mechanisms and machines using the structural analysis of the main mechanisms of the tube straightening machines based on the universal structural theory of O.G. Ozol.

Findings

Extended principle of the machine mechanisms formation, providing inclusion to the machine mechanism not only immovable solid bodies, but also the deformed bodies [2], allows us to consider the structure of machines for pressure processing of metals (PPM) taking into account the plastically deformed workpiece. The deformed bodies mean such bodies the deformation of which is necessary to perform the required functions of the machine. Therefore, PPM machines should include in their structure a deformed workpiece as an integral part of the machine mechanism, whose deformation (change of geometry) and the addition of certain geometric parameters is the reason the TSM was created for.

Determination of redundant links (RL) for the TSM mechanisms containing internal kinematic connections of any class was performed in the following order: according to the kinematic scheme of the given mechanism with the numbered links, a schematic diagram for Ozol [5] with the designation of class of each kinematic pair is formed. According to the structural scheme are calculated: the number of links (n), the total number of kinematic connections (р), the number of the mechanism contours , ; the total number of links () and moves () of all connections was calculated,

(1)

where is the number of kinematic compounds of the i-th genus, ; the number of degrees of freedom of the mechanism ();

, (2)

where – the number of main mobilities (according to the number of moving forces);
– the number of additional mobilities (including the local ones); – the number of dynamic links.

The total number of internal redundant links was determined by the formula:

. (3)

The main drive of TSM rollers (Fig. 2). At idle, all TSM mechanisms are independent in their movements and form a system when interacting with the external working body (pipe). The working body combines the TSM mechanisms not only with the kinematic interaction of the links, but also with dynamic phenomena in the plant.

It is known that compounds of working bodies and links of the mechanism impose external connections. Since the TSM mechanism always has external connections, then according to the universal structural theory, it is necessary to consider it from two positions. Firstly, in isolation from external bodies, with which it has external connections (isolated from the treated pipe). The number of freedom degrees in the absence of external links is called the real mobility of the mechanism (). Secondly, in working condition, when external links are acting (the tube is in the deformation cells). Mobility under existing external links is the operational mobility of the mechanism (). In this case, is less than on the number of external connections spent on its reduction. The TSM mechanism is a mechanism of variable structure, so we will analyze it step by step.

The first stage – before the pipe capture by the rolls (idle), thus, before imposure of external links (Fig. 2, a). Group main drive includes six identical transmissions, consisting of electric motor with a brake pulley, couplings and drive shaft. The kinematic scheme of the main drive (Fig. 2, a) of the investigated tube strengthener is a 49-link branching symmetrical 24 contour mechanism, and a structural diagram (Fig. 2, b) is its topological reflection. Mobility of the mechanism of the main drive rollers , includes 6 main mobilities and 6 local (axial) mobilities of the body of the gear clutches. The general mobility of all kinematic pairs is defined as the sum of the mobility of all kinematic connections (1): .

Then the total number of internal redundant links will be (3) .


а

b

Fig.2. Main drive of TSM: kinematic (a)
and structural (b) scheme

One RL in each contour with gear-tooth systems in gears, the effect of which is manifested in uneven load on the tooth length at linear contact.

It is known [11] that in machines the resistance to self-alignment of the mechanism links is determined by the value of the frictional forces that arise on the elements of the kinematic pairs during the self-alignment movement.

At continuous self-alignment, frictional forces worsen the distribution of forces in the kinematic pairs, which must be taken into consideration. In transient processes, the spline connection of the drive cardan joints of the TSM, in some cases, may not be able to perform the axial self-alignment mobility, which leads to the transmission of the axial load of the takeoff shaft of the gear unit, and possibly to the destruction of the covers of output shafts. It is more expedient to apply static determined ball spindles, where axial mobility is carried out with a small friction or an unloaded cardan joint, which has a length of the barrel-shaped toothed ring, in comparison with the diameter, assigns it to a third-class pair (including axial mobility with small friction).

The second stage – strengthening, the pipe is in rolls. After the pipe capture five more independent contour are formed in the scheme, there are, and the drive keeps its mobilities. The presence in the mechanism of external links, in addition to the internal ones, also requires application of generalized structural formula, which allows determining the number of internal, as well as external RL in the mechanism. The number of external RL is determined by the formula [5]

, (4)

where – the number of external links;
– actual mobility of the mechanism (with removed external links); – operating mobility (with acting external links), can be calculated according to the dependence (2); – the number of lost mobilities of external bodies from the action of external links. Formula (4) shows how many external links are spent on reducing the mobility of the link mechanisms (expression in round brackets) and the external processed body.

When calculating the number of mobilities of the outer «roll – tube» pair, it was taken into consideration that most of the coordinates are overlaid with non-retentive links, which impose a fractional number of constraints [5, 6].

Geometric unilateral links: pipe turn around the vertical axis (½), the pipe movement along the vertical axis (½), turn around the axis perpendicular to the strengthening axis (½).
A geometric two-way connection is taken along the axis perpendicular to the strengthening axis (
y). By friction each external connection imposes two another fractional holonomic friction links, capable of transmitting the rotation moment around the longitudinal axis of strengthening (½) and force along the strengthening axis (½). Then the number of external links of pairs will be Sа = 5·½ + 1 = 3½, and the total number of external links Sа = 6·3½ = 21. The mechanism mobility has not changed after the external links application, therefore , – the pipe can not move independently of the rolls. After substitution, the number of external RL is: .

Most of the 15 redundant links in the five external contours are due to the need for elastic-plastic deformation of the pipe, therefore, in the strengthening scheme with three pairs of rolls, the duplication of each of them (pair) of constraints at the corresponding coordinates causes the technological deformation of the pipe. In this quantity of external RL there are also the harmful ones. Kinematically, it would be enough to make only the first pair of rollers driven; the other two driven pairs introduce one torsional (around the strengthening axis) and axial (along the correcting axis) tension. Since the links on these coordinates are frictional, these tensions cause the rolls to wear out, and in the tube arise torsional and stretching (compression) tensions that are not needed for strengthening. In addition, there may be frictional self-oscillations. Some are compensated by elastic deformation of the pipe.

Mechanisms of setting relate to the mechanisms of episodic action, the regulation is not performed during the technological process and the size of the links is large as compared to the size of the kinematic pairs, so it is advisable to perform a statically determined mechanism, using increased gaps in the link connections.

Roller angle setting mechanism. It is a simple triangular spatial mechanism (Fig. 3, a) with one structural and one local internal independent contours (Fig. 3, b). Mobility of the mechanism , total mobility of all kinematic pairs . Then the number of RL , where 4 RL in the local contour and 1 RL in the structural contour .

In this case, it is necessary to ensure coherence of the support nodes of the worm 1 during their manufacturing. The RL in the structural contour is harmless because it is compensated by breaking-in of the worm pair .

Fig.3. Mechanism of angle setting of the rolls:
kinematic (a) and structural (b) scheme

The mechanism of axial roll setting of the top bed. Kinematic (Fig. 4, a) and structural (Fig. 4, b) schemes are presented without accounting the device of static balance of weight and selection of axial gaps of the upper roller node. Structural parameters of the mechanism: mobility , number of independent contours , general mobility of kinematic pairs ; number of RL . The contours and are symmetric, so each of them has three RL. If you provide the required gaps in the slot pair and the guides of the prismatic slider (or in the combination screw-slider ), then in the scheme for 4 RL will be less.



Fig.4. Mechanism of axial setting
of the rolls of the top bed:
kinematic (a) and structural (b) scheme

Mechanism of angle setting of rollers of the bottom bed (Fig. 5, a). The block diagram has (Fig. 5, b): the number of independent contours , general mobility of kinematic pairs . Mobility of the mechanism , and the number of RL is .



Fig.5. Mechanism of angle setting
of the rolls of the bottom bed:
kinematic (a) and structural (b) scheme

The contours and , as in the previously considered mechanism, are symmetric, so each of them has three RL. The presence of mobility in a pair of in the horizontal plane does not allow to increase the gap in the slip pair to get rid of tensions in the connections of the vertical shaft 2.

The mechanism of the axial setting of the middle roll of the bottom bed (Fig. 6). Hydraulic axial setting mechanism consists of 2 movable links, one structural and one local contour, it has a general mobility in accordance with the formula (2) (basis and local – piston rotation around the vertical axis).



Fig.6. Mechanism of axial setting
of the middle roll of the bottom bed:
kinematic (a) and structural (b) scheme

The number of local RL in the contour was determined by the formula [5]: , where – the sum of all links imposed by each of the two joints of the body-piston and body-stem , S – class of kinematic pair , that is, 4 RL are formed. In the circuit the number of RL .

One can eliminate all RL, if in the movable connection of the stem and the piston a ball-and-socket hinge will be applied, and the pilot of the stem-body will be made so short that it would be possible to attribute the modified kinematic pair to four-movable one . Then the improved mechanism will not have RL: , , , .

Originality and practical value

For the first time a structural analysis of the mechanisms of a cross-roll tube straightening machine was performed taking into consideration the presence of external fractional links, which are superimposed on the pipe-roller pairs.

Practical recommendations for the elimination of harmful redundant links that were found during the structural analysis of the main and auxiliary mechanisms of TSM have been developed.

Conclusions

The main drive of the rollers of the tube straightening machine is a mechanism of a variable structure with non-stationary links. The pipe for the mechanisms of the main drive is an external working body, which imposes non-retentive fractional links. The scheme of the main drive mechanism contains fifteen redundant links, which are mostly determined by the needs for elastic-plastic deformation of the pipe; some of them are harmful and cause tension in contours and deformation and wear of the drive parts.

In the auxiliary mechanisms of roll setting also revealed local and structural redundant links. The ways to reduce them were proposed.



LIST OF REFERENCE LINKS

  1. Добров, И. В. Структурный анализ схем машин обработки металлов давлением / И. В. Добров,
    Р. П. Погребняк // Вісник Нац. техн. ун-ту «ХПІ». Серія: Проблеми механічного приводу. – Харків, 2017. – № 25 (1247). – С. 43–47.

  2. Завгородний, А. В. Совершенствование технологий и оборудования процессов правки труб на косовалковых трубоправильных машинах / А. В. Завгородний, Э. П. Грибков // Обработка материалов давлением : сб. науч. тр. – Краматорск, 2016. – № 2 (43). С. 148155.

  3. Зданевич, С. В. Системная динамика приводов шестивалковых трубоправильных машин /
    С. В. Зданевич, В. А. Ермократьев, С. С. Зданевич // Металургійна і горнорудна промисловість. – 2015. – № 7. – С. 137–142.

  4. Максилейсон, А. М. Трубоправильные машины / А. М. Максилейсон, В. И. Сапир, Ю. С. Комисарчук. Москва : Машиностроение, 1971. – 208 с.

  5. Озол, О. Г. Основы конструирования и расчета механизмов / О. Г. Озол. – Рига : Звайгзне, 1979.
    – 360 с.

  6. Погребняк, Р. П. Повторювані зв’язки у схемах стрижньового повзунно-шатунного механізму захоплювального пристрою / Р. П. Погребняк // Наука та прогрес транспорту. – 2018. – № 4 (76).
    – С. 81–88. doi: 10.15802/stp2018/140547

  7. Ротов, И. С. Машины для правки труб. Конструкции, расчеты, исследования / И. С. Ротов. – Москва : Изд-во Моск. гос. ун-та им. Н. Э. Баумана, 2013. – 269 с.

  8. Семененко, Ю. Л. Отделка профилей и труб давлением / Ю. Л. Семененко. – Москва : Металлургия, 1972. – 232 с.

  9. Deflection detection and curve fitting in three-roll continuous straightening process for LSAW pipes / Chunge Wang, Gaochao Yu, Wei Wang, Jun Zhao // Journal of Materials Processing Technology. – 2017. – Vol. 255. – P. 150–160. doi: 10.1016/j.jmatprotec.2017.11.060

  10. Modification of straightening machine / V. B. Sarode, D. R. Prashant, D. R. Hiraman, V. Chavan Kalyan,
    R.
    Pawar Amol // International Journal of Modern Trends in Engineering and Research. – 2017. – Vol. 4. – Iss. 4. – P. 22–29. doi: 10.21884/ijmter.2017.4112.cruei

  11. Reshetov, L. Self-Aligning Mechanisms : Reference book // Transl. from Russian by L. Sachs. – Moscow : Mir, 1986. – 528 p.

  12. Zhang, Z. Q. A simplified model of maximum cross-section flattening in continuous rotary straightening process of thin-walled circular steel tubes / Z. Q. Zhang, Y. H. Yan, H. L. Yang // Journal of Materials Processing Technology. – 2016. – Vol. 238. – P. 305–314. doi: 10.1016/j.jmatprotec.2016.07.034

С. С. ЗДАНЕВИЧ1*, Р. П. ПОГРЕБНЯК2*, С. В. ЗДАНЕВИЧ3*

1*Каф. «Машини та агрегати металургійного виробництва», Національна металургійна академія України, пр. Гагаріна, 4,
Дніпро, Україна, 49005, тел. +38 (066) 044 89 35, ел. пошта zdanevichss@gmail.com, ORCID 0000-0003-3034-4165
2*Каф. «Прикладна механіка», Національна металургійна академія України, пр. Гагаріна, 4, Дніпро, Україна, 49005,
тел. +038 (056) 743 32 76, ел. пошта pogrebnyakk@ukr.net, ORCID 0000-0002-4685-1818
3*Каф. «Прикладна механіка», Національна металургійна академія України, пр. Гагаріна, 4, Дніпро, Україна, 49005,
тел. +38 (050) 452 79 52, ел. пошта sergzd@i.ua, ORCID 0000-0001-8594-3806

структурний аналіз і раціональне

проектування механізмів КОСОВАЛКОВиХ

ТРУБОПРАВИЛЬНиХ МАШИН

Мета. В роботі передбачається виконати структурний аналіз основних і допоміжних механізмів трубоправильних машин, визначити структурні й локальні надлишкові зв’язки в схемах механізмів та запропонувати рекомендації щодо їх раціонального проектування. Методика. Рішення здійснюється засобами теорії механізмів і машин за допомогою структурного аналізу механізмів трубоправильних машин на основі універсальної структурної теорії О. Г. Озола. Результати. Розширений принцип утворення механізмів машини, що передбачає, окрім твердих невільних тіл, включати до складу механізму і тіла, що деформуються, дозволяє розглядати будову машин обробки металів тиском із урахуванням пластично деформованої заготовки. Тому такі машини включають до свого складу деформовану заготовку як складову ланку механізму машини, заради деформації якої й надання їй певних геометричних параметрів і створюють трубоправильний агрегат. Дефекти структури машин визначають закладені в кінематичних ланцюгах механізмів локальні та структурні надлишкові зв'язки, які перетворюють механізм у статично невизначену систему. Рух механізму з дефектами структури можливий за наявності зазорів або за рахунок деформації ланок. Основний механізм трубоправильної машини є механізмом змінної структури, тому проведен аналіз для двох його станів: до захоплення труби валками і під час виправлення. Для підрахунку числа рухомостей зовнішньої пари «валок–труба» було враховано, що за більшістю координат накладаються неутримувальні зв’язки, які містять дробове число обмежень. Виявлено п’ятнадцять надлишкових зв’язків у схемі основного механізму. З’ясована кількість надлишкових зв’язків у допоміжних механізмах трубоправильної машини. Наукова новизна. Структурного аналізу трубоправильних машин із пошуком надлишкових зв’язків раніше не виконували. У роботі проведено структурний аналіз механізмів косовалкової трубоправильної машини вперше з урахуванням наявності зовнішніх дробових зв’язків, що накладаються в парах «валок–труба». Практична значимість. Розроблені практичні рекомендації щодо усунення шкідливих надлишкових зв’язків, знайдених під час структурного аналізу основних і допоміжних механізмів трубоправильної машини.

Ключові слова: трубоправильна машина; структурний аналіз; надлишкові зв’язки; зовнішні дробові зв’язки

С. С. ЗДАНЕВИЧ1*, Р. П. ПОГРЕБНЯК2*, С. В. ЗДАНЕВИЧ3*

1*Каф. «Машини и агрегаты металлургического производства», Национальная металлургическая академия Украины,
пр. Гагарина, 4, Днипро, Украина, 49005, тел. +38 (066) 044 89 35, эл. почта zdanevichss@gmail.com,
ORCID 0000-0003-3034-4165
2*Каф. «Прикладная механика», Национальная металлургическая академия Украины,
пр. Гагарина, 4, Днипро, Украина, 49005, тел. +038 (056) 743 32 76, эл. почта pogrebnyakk@ukr.net,
ORCID 0000-0002-4685-1818
3*Каф. «Прикладная механика», Национальная металлургическая академия Украины,
пр. Гагарина, 4, Днипро, Украина, 49005, тел. +38 (050) 452 79 52, эл. почта sergzd@i.ua,
ORCID 0000-0001-8594-3806

структурный анализ и рациональное

проектирование механизмов КОСОВАЛКОВыХ

ТРУБОПРАВИЛЬНЫХ МАШИН

Цель. В работе предполагается выполнить структурный анализ основных и вспомогательных механизмов трубоправильных машин, определить структурные и локальные избыточные связи в схемах механизмов и предложить рекомендации относительно их рационального проектирования. Методика. Решение осуществляется средствами теории механизмов и машин с помощью структурного анализа механизмов трубоправильных машин на основе универсальной структурной теории О. Г. Озола. Результаты. Расширенный принцип создания механизмов машин, который предусматривает включать в состав механизма, кроме твердых несвободных тел, и деформирующиеся тела, позволяет рассматривать строение машин обработки металлов давлением с учетом пластически деформированной заготовки. Поэтому такие машины включают в свой состав деформированную заготовку как составляющее звено механизма машины, ради деформации которой и придания ей определенных геометрических параметров и создают трубоправильный агрегат. Дефекты структуры машин определяют заложенные в кинематических звеньях механизмов локальные и структурные избыточные связи, превращающие механизм в статически неопределенную систему. Движение механизма с дефектами структуры возможно при наличии зазоров или за счет деформации звеньев. Основной механизм трубоправильной машины является механизмом переменной структуры, поэтому проведен анализ для двух его состояний: до захвата трубы валками и при ее правке. При подсчете числа подвижностей внешней пары «валок–труба» было учтено, что за большинством координат, которые содержат дробное число ограничений. Выявлено пятнадцать избыточных связей в схеме основного механизма. Определено количество избыточных связей во вспомогательных механизмах трубоправильной машины. Научная новизна. Структурный анализ трубоправильных машин с поиском избыточных связей раньше не проводили. В работе выполнен структурный анализ косовалковой трубоправильной машины впервые с учетом наличия внешних дробных связей, которые накладываются в парах «валок-труба». Практическая значимость. Разработаны практические рекомендации относительно устранения вредных избыточных связей, которые были найдены при структурном анализе основных и вспомогательных механизмах трубоправильной машины.

Ключевые слова: трубоправильная машина, структурный анализ, избыточные связи, внешние дробные связи

REFERENCES

  1. Dobrov, І. V., & Pogrebnyak, R. P. (2017). Strukturnyy analiz skhem mashin obrabotki metallov davleniem. Visnyk Natsionalnoho tekhnichnoho universytetu «KhPI». Seriia: Problemy mekhanichnoho pryvodu, 25(1247), 43-47. (in Russian)

  2. Zavgorodniy, A. V., & Gribkov, E. P. (2016). Sovershenstvovanie tekhnologiy i oborudovaniya protsessov pravki trub na kosovalkovykh trubopravilnykh mashinakh. Obrabotka materialov davleniem. 2(43), 148-155. (in Russian)

  3. Zdanevich, S. V., Yermokratev, V. A., & Zdanevich, S. S. (2015). Sistemnaya dinamika privodov shestivalkovykh trubopravilnykh mashin. Metallurgical and Mining Industry, 7, 137-142. (in Russian)

  4. Maksileyson, A. M., Sapir, V. I., & Komisarchuk, Y. S. (1971). Trubopravilnye mashiny. Moscow: Mashinostroenie. (in Russian)

  5. Ozol, O. G. (1979). Osnovy konstruirovaniya i rascheta mekhanizmov. Riga: Zvaygzne. (in Russian)

  6. Pogrebnyak, R. P. (2018). Repeated connections in the schemes of link slider-crank mechanism of gripping device. Science and Transport Progress, 4(76), 81-88. doi: 10.15802/stp2018/140547 (in Ukranian)

  7. Rotov, I. S. (2013). Mashiny dlya pravki trub. Konstruktsii, raschety, issledovaniya. Moscow: Publisher Bauman Moscow State Technical University. (in Russian)

  8. Semenenko, Y. L. (1972). Otdelka profiley i trub davleniem. Moscow: Metallurgiya. (in Russian)

  9. Wang, C., Yu, G., Wang, W., & Zhao, J. (2018). Deflection detection and curve fitting in three-roll continuous straightening process for LSAW pipes. Journal of Materials Processing Technology, 255, 150-160. doi: 10.1016/j.jmatprotec.2017.11.060 (in English)

  10. Sarode, V. B., Prashant, D. R., Hiraman, D. R., Chavan Kalyan, V., & Pawar Amol, R. (2017). Modification of straightning machine. International Journal of Modern Trends in Engineering & Research, 4(4), 22-29. doi: 10.21884/ijmter.2017.4112.cruei (in English)

  11. Reshetov, L. (1986). Self-Aligning Mechanisms: Reference book. Moscow: Mir. (in English)

  12. Zhang, Z. Q., Yan, Y. H., & Yang, H. L. (2016). A simplified model of maximum cross-section flattening in continuous rotary straightening process of thin-walled circular steel tubes. Journal of Materials Processing Technology, 238, 305-314. doi: 10.1016/j.jmatprotec.2016.07.034 (in English)

Received: June 05, 2018

Accessed: Sep. 28, 2018


dПрямая соединительная линия 4oi 10.15802/stp2018/ © S. S. Zdanevich, R. P. Pogrebnyak, S. V. Zdanevich, 2018