ISSN 2307–3489 (Print), ІSSN 2307–6666 (Online)

Наука та прогрес транспорту. Вісник Дніпропетровського
національного університету залізничного транспорту, 2018, №
4 (76)



НЕТРАДИЦІЙНІ ВИДИ ТРАНСПОРТУ. МАШИНИ ТА МЕХАНІЗМИ

УДК 621.833

Р. П. ПОГРЕБНЯК1*

1*Каф. «Прикладна механіка», Національна металургійна академія України, пр. Гагаріна, 4, Дніпро, Україна, 49005,
тел. +38 (056) 743 32 76, ел. пошта
pogrebnyakk@ukr.net, ORCID 0000-0002-4685-1818

ПОВТОРЮВАНІ ЗВ’ЯЗКИ У СХЕМАХ СТРИЖНЬОВОГО ПОВЗУННО-ШАТУННОГО МЕХАНІЗМУ ЗАХОПЛЮВАЛЬНОГО ПРИСТРОЮ

Мета. Робота має за мету провести структурний аналіз захоплювального пристрою, який є механізмом змінної структури із зовнішніми неутримуючими зв’язками. Також потрібно визначити кількість повторюваних зв’язків у внутрішніх і зовнішніх контурах схеми механізму та з’ясувати способи їх зменшення.
Методика. Досягнення поставленої мети здійснюється засобами теорії механізмів і машин за допомогою універсальної структурної теорії Озолса для аналізу механізму захвату як механізму із внутрішніми і зовнішніми зв’язками. Результати. Проектування схем механічних захватних пристроїв рідко передбачає етап структурного аналізу і синтезу механізму. Надається перевага обов’язковим кінематичному та кінетостатичному розрахункам, компоновці та конструюванню. Якщо структурний аналіз і виконується, то найчастіше він обмежується обчислюванням числа ступенів свободи механізму. Десятиланковий стрижньовий механізм захвату побудований на основі спареного паралелограмного кривошипно-повзунного механізму з ведучим повзуном. Ведучий повзун впливає на шатуни, що з’єднані коромислами зі станиною. На продовженні шатунів шарнірно закріплені ланки, що містять затискні елементи захвата. Додані діади утворюють паралелограм і забезпечують плоскопаралельний рух затискних елементів захвату. Структурний аналіз виконувався за схемами для двох станів механізму: до затиску об’єкту і в стані затиснутого об’єкта. Основні внутрішні структурні параметри кінематичної схеми: число ланок – 10, число з’єднань 13, число контурів – 4, рухомість – 1, кількість внутрішніх повторюваних зв’язків – 11. Число зовнішніх зв’язків – 12, фактична рухомість механізму – 1, робоча рухомість механізму – 0, число втрачених рухомостей зовнішніх тіл від дії зовнішніх зв’язків – 6, кількість зовнішніх повторюваних зв’язків – 5. Наукова новизна. Вперше проведений структурний аналіз спареного повзунно-шатунного механізму захоплювального пристрою як механізму змінної структури з внутрішніми та зовнішніми зв’язками. Виконані поконтурний пошук, аналіз та усунення шкідливих повторюваних зв’язків у внутрішніх та зовнішньому контурах механізму.
Практична значимість. Запропоновані практичні рекомендації щодо зміни рухливостей кінематичних пар для зменшення кількості повторюваних зв’язків у внутрішніх контурах та введення розвантажувального з’єднання у зовнішній контур механізму.

Ключові слова: механічний захват; структурний аналіз; рухомість механізму; повторювальні зв’язки; зовнішні зв’язки

Вступ

Робочий орган промислового робота, який призначений для захоплення й утримання об’єкта маніпулювання, називають захоплювальним (захватним, захватом) пристроєм. Механізми захватів роботів і маніпуляторів є окремими пристроями з індивідуальним приводом. Кінематичні схеми захватів не складні, мають невелику кількість рухомих ланок, переважно
з однією рухомістю.

Основні переваги механізмів без повторюваних зав’язків [4, 8] наступні:

такі механізми статично визначені й не мають додаткових реакцій, не викликаних дією зовнішнього корисного навантаження;

вони не чутливі до пружних деформацій
і незначного відхилення розмірів ланок механізму і станини;

легко збираються, не потребують підгону й приробітки;

у них рідше утворюються зазори й менше зношування у кінематичних парах;

мають вищу надійність і нижчу вартість експлуатації.

Тому під час проектування й модернізації механізмів захватів необхідно закладати в їх конструкцію статично визначні схеми, оскільки за всіх інших рівних умов вони гарантують отримання більш ефективного механізму.

Механізми захватів мають змінну структуру з різними основними параметрами схем, тому їх аналіз проводять двічі: до та після затиску об’єкта затискними елементами захвату, під час якого накладаються зовнішні зв’язки, серед них є неутримуючі [2]. Структурний аналіз окремих кулісних механізмів захватів виконаний у роботах [6, 7, 14].

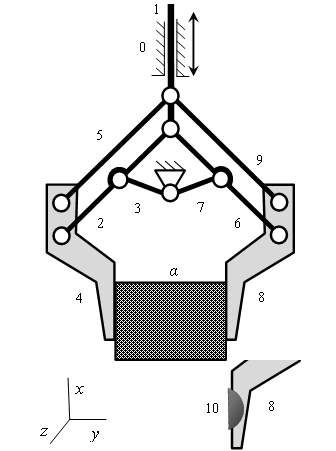
Десятиланковий стрижньовий механізм захвату побудований на основі спареного паралелограмного кривошипно-повзунного механізму з ведучим повзуном. Ведучий повзун 1 (рис. 1, а) впливає на шатуни 2 і 6, що з’єднані коромислами 3 і 7 зі станиною 0. На продовженні шатунів шарнірно закріплені ланки 4 й 8, що містять затискні елементи захвату. Додані діади 4–5 та 8–9 утворюють паралелограм і забезпечують плоскопаралельний рух затискних елементів захвату. Кінематичний синтез механізму має бути виконаний таким чином, що траєкторія точок на кінцях шатунів 2 і 6 на певній ділянці руху описує пряму лінію, а шатуни 4 й 8 здійснюють прямолінійний рух. Структурний аналіз і раціональний кінематичний синтез стрижньового кулісного механізму захвата виконаний у роботі [7].

Рис. 1. Кінематична схема повзунно-шатунного
механізму захвата

Fig. 1. Kinematic scheme of the slider-crank
mechanism of gripping device

Зазвичай вантажозахватні паралелограмні механізми мають підвищену вантажопідйомність, і без спеціального профілювання затискних елементів об’єктом маніпулювання є деталі призматичної форми.

Сьогодні накопичений значний досвід дослідження й проектування різних схем і конструкцій захватів різного призначення [1, 3, 5, 9, 11, 12, 15]. При цьому проектування схем механічних захватних пристроїв, на жаль, майже ніколи не передбачає етапу структурного аналізу й синтезу механізму. Перевага надається обов’язковому кінематичному й кінетостатичному розрахункам, компонуванню й конструюванню [5, 9]. Якщо структурний аналіз і виконується, то найчастіше він обмежується обчислюванням числа ступенів свободи механізму, а для маніпулятора в цілому ще й з’ясуванням його маневреності. Найважливіший структурний параметр будь-якого механізму – наявність у схемі повторюваних (надлишкових) зв’язків – часто залишається не визначеним, а, отже, і не застосовано дій щодо їх зменшення.

Мета

Основна мета роботи – провести структурний аналіз повзунно-шатунного захоплювального пристрою, який є механізмом змінної структури із зовнішніми неутримуючими зв’язками. Також потрібно визначити кількість і розташування повторюваних зв’язків у внутрішніх і зовнішніх контурах схеми механізму та з’ясувати способи їх зменшення.

Методика

Досягнення поставленої мети здійснюється засобами теорії механізмів і машин за допомогою універсальної структурної теорії Озолса для аналізу механізму захвата як механізму із внутрішніми і зовнішніми зв’язками.

Результати

Складний структурний аналіз із визначенням повторювальних зав’язків (ПЗ) зручно виконувати не за кінематичною схемою, а побудованій на її основі структурній [4], або за схемою з використанням графів [8]. Ведуча пара на структурній схемі зображена подвійним концентричним колом, ведучі ланки – фігурами з точковим штрихуванням, арабськими цифрами позначені ланки, римськими – клас (число зв’язків) кінематичних пар. Згідно [4] будь-який механізм, навіть просторовий, може бути зображений пласкою структурною схемою.

Перший етап – до затиску об’єкту. Одношарова симетрична складна напіввідкрита з чотирма базовими ланками структурна схема механізму (рис. 2, а) складається з дев’яти рухомих ланок, тринадцяти з’єднань і чотирьох контурів (четвертого класу). Основні внутрішні структурні параметри кінематичного ланцюга: число ланок , число з’єднань та число контурів. Перевірка за основною геометричною залежністю свідчить про правильність побудови структурної схеми.

Основна рухомість плаского механізму може бути порахована за відомою пласкою формулою Малишева [8]

,

де – число однорухомих пар (V класу),
– число дворухомих пласких пар (IV класу). У схемі всі 13 пар однорухомі (ведуча пара 0–1 має другу рухомість у площині, перпендикулярній площині схеми, тому у площині схеми ця пара є парою V класу), і число ступенів свободи механізму дорівнює одиниці .

Загальне число ПЗ знайдемо за формулою Озолса [4]

, (1)

де загальне число рухливостей усіх з’єднань складе, а У симетричних і топологічно однакових чотирьох контурах утворюються по три ПЗ. Загальна для обох контурів обертальна рухомість самовстановлення ведучого повзуна, що використовується при збиранні в одному контурі (наприклад, 0-1-2-3) і зменшує кількість ПЗ, вже не може бути використана для самовстановлення в іншому (0-1-6-7). Тому в одному контурі (0-1-2-3) утворюються два ПЗ, а в іншому (0-1-6-7) – три.

У контурах паралелограмів 1-2-4-5 і 1-6-8-9 можлива непаралельність осей шарнірів може створити вигин і скручування шатунів, і ці деформації будуть викликані дією ПЗ, а не дією зовнішньої сили [10, 13].

а – а

б – b

Рис. 2. Структурні схеми повзунно-шатунного механізму захвата на різних етапах його роботи:
а – до затиску об’єкта; б – об’єкт затиснутий

Fig. 2. Structural diagrams of the slider-crank mechanism of gripping device at different stages of its
operation:
a – before clamping the object;
b – the object is clamped

Ефективним способом зменшення кількості ПЗ є зниження класу кінематичних пар. На рис. 2, б в дужках представлені рекомендовані для заміни класи кінематичних пар, які дозволять зменшити кількість ПЗ у внутрішніх контурах. Сполуки шатунів 3 і 7 з коромислами 2 і 6, а також обидві пари шатунів 5 і 9 виконані сферичними шарнірами III класу. Місцева рухливість ланок 4 і 8 за очевидними причинами не може бути дозволена встановленням сферичних кінцевих шарнірів. Тоді загальна рухомість всіх пар складе, з’являться дві місцеві рухливості – обертання шатунів 5 і 9 навколо своїх поздовжніх осей, які додадуться до основної рухомості, а кількість внутрішніх ПЗ за формулою (1) складе, тобто залишиться один ПЗ загальний для контурів 0-1-6-7 та 0-1-2-3.

Другий етап – об’єкт затиснутий
(рис. 2,
б). Структура механізму змінилася і накладені зовнішні зв’язки. Оскільки механізми захватів завжди мають зовнішні зв’язки, то згідно універсальній структурній теорії Озолса розглядати їх потрібно з двох позицій. По-перше, в ізоляції від зовнішніх тіл, з якими він має зовнішні зв’язки (ізольовано від об’єкта маніпулювання); число ступенів свободи при усунених зовнішніх зв’язках називають фактичною рухомістю механізму (). По-друге, в робочому стані, коли діють зовнішні зв’язки (об’єкт затиснутий); рухомість при діючих зовнішніх зв’язках – робоча рухомість механізму (). менша за на кількість накладених зовнішніх зв’язків. Перший випадок відповідає стану механізму вільного від об’єкту маніпулювання, другий – стану механізму, коли об’єкт затиснутий.

Оскільки тепер механізм має зовнішні зв’язки, то для подальшого аналізу доцільно використовувати зовнішню структурну формулу, яка дозволяє встановити у такому механізмі кількість зовнішніх ПЗ:

, (2)

де – число зовнішніх зв’язків, – число втрачених рухомостей зовнішніх тіл від дії зовнішніх зв’язків.

Після затиску деталі а в схемі утворюється ще один контур 1-5-4-а-8-9, а механізм і зовнішнє тіло повністю втрачають рухомість Wр = 0. При пласких затискних елементах та достатнього тертя між ними і об’єктом захвату останній не може рухатися відносно механізму, тому вважаємо, що у зовнішніх парах 4-а і а-8 за цих умов утворюються нерухомі з’єднання VI класу. Важливо відзначити, що зовнішні з’єднання стають здатними передати силу уздовж осі х і здійснювати всі голономні [2] фрикційні зв’язки тільки тоді, якщо обидві ланки 8 і 4 затискають об’єкт.

Кількість зовнішніх ПЗ за залежністю (2):
. Три ПЗ утворюються під час накладання фрикційних голономних зв’язків, двічі обмежують передачу моменту навколо осі y і передачу сил уздовж осей х і z. Кінематично було б достатньо, щоб зазначені фрикційні зв’язки накладав один затискний елемент захвата. Решта два з виявлених зовнішніх ПЗ вимагають суворого дотримання паралельності поверхонь затискних елементів захвата і бічних поверхонь деталі в двох взаємно перпендикулярних площинах. Для їх усунення без зміни форми контактуючих поверхонь необхідне введення в схему розвантажувального з’єднання, здатного компенсувати перекоси при затиску об’єкта. Таким з’єднанням може бути сферична пара 10–8 (рис. 1, знизу праворуч). Після її введення непаралельність сторін об’єкту буде компенсована самовстановленням. Усунення цих ПЗ тим більш важливі, що їх дія має багаторазовий імпульсний характер, повторюється при затисканнях і породжує два реактивних моменти, які не викликані дією сил затиску.

На рис. 2, б (внизу) показана структурна схема механізм розглянутого захвата, яка позбавлена шкідливих ПЗ. Після введення трирухомого розвантажувального з’єднання перед накладенням зовнішніх зв’язків фактична рухомість складе ; тут додаються три місцевих рухливості ланки 10. Тепер отримаємо , тобто залишаються два голономних зовнішніх ПЗ, що подвійно обмежують переміщення об’єкта затискання за двома координатами у площині z0y. Їх дія зменшує питомий тиск у зоні контакту та підвищує вантажопідйомність механізму захвата, тому вони не шкідливі [16].

Захватний пристрій, виконаний за пропонованою схемою, де кількість внутрішніх та зовнішніх повторюваних зв’язків мінімальне, безумовно має більш високі експлуатаційні показники.

Наукова новизна та практична
значимість

Вперше проведений структурний аналіз спареного повзунно-шатунного механізму захоплювального пристрою як механізму змінної структури з внутрішніми та зовнішніми зв’язками. Виконані поконтурний пошук, аналіз та усунення шкідливих повторюваних зв’язків у внутрішніх та зовнішньому контурах механізму.

Запропоновані практичні рекомендації щодо зміни рухливостей кінематичних пар для зменшення кількості повторюваних зв’язків у внутрішніх контурах та введення розвантажувального з’єднання у зовнішній контур механізму.

Висновки

Надійність механізмів захватів, як і надійність будь-яких механізмів, суттєво залежить від правильності побудови механізму, вдалого пошуку та усунення шкідливих повторюваних зв’язків.

У найбільш поширених механізмах захватів із паралельними та спареними механізмами зазвичай велика кількість повторюваних зв’язків у внутрішніх та зовнішніх контурах і змінна структура. Для виявлення та усунення внутрішніх та зовнішніх повторюваних зв’язків зручно застосувати узагальнену структурну формулу О. Озолса.

Після аналізу, пошуку і усунення внутрішніх повторюваних зв’язків, необхідний аналіз схеми зі зміненою структурою, коли утворюється зовнішній незалежний контур між ланками механізму і затиснутим об’єктом маніпулювання. Усунення шкідливих повторюваних зв’язків у зовнішньому контурі можливі за рахунок зниження класу зовнішніх кінематичних пар або введення розвантажувального з’єднання для компенсації перекосів поверхонь затискних елементів і об’єкта маніпулювання.

СПИСОК ВИКОРИСТАНИХ ДЖЕРЕЛ

  1. Боренштейн, Ю. П. Исполнительные механизмы захватывающих устройств / Ю. П. Боренштейн. – Ленинград : Машиностроение, 1982. – 302 с.

  2. Герц, Г. Принципы механики, изложенные в новой связи / Г. Герц. – Москва, 1959. – 380 с.

  3. Механика промышленных роботов : учеб. пособие для втузов : в 3 кн. / под ред. К. В. Фролова, Е. И. Воробьева. Кн. 2 : Расчет и проектирование механизмов / Е. И. Воробьев, О. Д. Егоров, С. А. Попов. – Москва : Высш. шк, 1988. – 367 с.

  4. Озол, О. Г. Основы конструирования и расчета механизмов / О. Г. Озол. – Рига : Звайгзне, 1979. – 360 с.

  5. Павленко, І. І. Загальна методика розрахунку та проектування конструкцій захватних пристроїв промислових роботів / І. І. Павленко, М. О. Годунко, І. Д. Кіріченко // Зб. наук. пр. Кіровогр. нац. техн. ун-ту. Техніка в с.-г. вир-ві, галузеве машинобуд., автоматизація. – Кіровоград, 2013. – № 26. – С. 67–70.

  6. Погребняк, Р. П. Пошук та усунення надлишкових зв’язків у захоплюючих пристроях (захоплювачах) механізмів маніпуляторів / Р. П. Погребняк // Металлургическая и горнорудная промышленность. – 2015. – № 7 (296). – С. 91–95.

  7. Погребняк, Р. П. Структурний аналіз і кінематичний синтез стрижньового кулісного механізму захвата / Р. П. Погребняк // Підйомно-транспортна техніка. –2017. – № 2 (54). – С. 47–56.

  8. Решетов, Л. Н. Самоустанавливающиеся механизмы / Л. Н. Решетов. – Москва : Машиностроение, 1979. – 334 с.

  9. Челпанов, И. Б. Схваты промышленных роботов / И. Б. Челпанов, С. Н. Колпашников. – Ленинград : Машиностроение, 1989. – 287 с.

  10. Atarer, F. Design alternatives of network of Altmann linkages / F. Atarer, K. Korkmaz, G. Kiper // International Journal of Computational Methods and Experimental Measurements. – 2017. – Vol. 5. – Iss. 4. – P. 495–503.
    doi: 10.2495/CMEM-V5-N4-495-503

  11. Belfiore, N. P. An atlas of linkage-type robotic grippers / N. P. Belfiore, E. Pennestri // Mechanism and Machine Theory. – 1997. – Vol. 32. – Iss. 7. – P. 811–833. doi: 10.1016/s0094-114x(97)00006-2

  12. Robot grippers / Gareth J. Monkman, Stefan Hesse, Ralf Steinmann, Henrik Schunk. – Weinheim : Wiley-VCH; 2007. – 463 р. doi: 10.1002/9783527610280

  13. Pfurner, М. Algebraic analysis of overconstrained single loop four link mechanisms with revolute and prismatic joints / M. Pfurner, T. Stigger, M. L. Husty // Mechanism and Machine Theory. – 2017. – Vol. 114. – P. 11–19.
    doi: 10.1016/j.mechmachtheory.2017.03.014

  14. Pogrebnyak, R. P. Structural analysis and rational design parallelogram arm gripping device / R. P. Pogrebnyak // Теория и практика металлургии. – 2015. – № 1-2. – С. 123–125.

  15. Robot Grippers (International trends in manufacturing technology) / Ed. by Pham D. Т., Haginbotham W. B. – Bedford : IFS, 1986. – 443 р.

  16. Schlenoff, С. Robust grasp preimages under unknown mass and friction distributions / C. Schlenoff, S. Balakirsky, H. Christensen // Integrated Computer-Aided Engineering. – 2018. – Vol. 25. Іss. 2. – P. 99–110. doi: 10.3233/ICA-180568

Р. П. ПОГРЕБНЯК1*

1*Каф. «Прикладная механика», Национальная металлургическая академия Украины, пр. Гагарина, 4, Днипро, Украина, 49005, тел. +38 (056) 743 32 76, эл. почта pogrebnyakk@ukr.net, ORCID 0000-0002-4685-1818

повторяющиеся связи в схемах стержневого ползунно-шатунного механизма захватывающего устройства

Цель. Работа своей целью имеет проведение структурного анализа захватывающего устройства как механизма переменной структуры с внешними неудерживающими связями. Также необходимо определить количество повторяющихся связей во внутренних и внешних контурах схемы механизма и выяснить способы их уменьшения. Методика. Решение поставленной задачи осуществляется средствами теории механизмов и машин с помощью универсальной структурной теории Озолса для анализа механизма схвата как механизма с внутренними и внешними связями. Результаты. Проектирование схем механических захватных устройств редко предусматривает этап структурного анализа и синтеза механизма, отдается предпочтение обязательным кинематическому и кинетостатическому расчетам, компоновке и конструированию. Если структурный анализ и выполняется, то чаще всего он ограничивается вычислением числа степеней свободы механизма. Десятизвенный стержневой механизм схвата построен на основе спаренного параллелограммного кривошипно-ползунного механизма с ведущим ползуном. Ведущий ползун воздействует на шатуны, соединенные коромыслами со станиной. На продолжении шатунов шарнирно закреплены звенья, несущие зажимные элементы схвата. Добавленные диады образуют параллелограмм и обеспечивают плоскопараллельное движение зажимных элементов схвата. Структурный анализ выполнялся по схемам для двух состояний механизма: до зажима объекта и в состоянии зажатого объекта. Основные внутренние структурные параметры кинематической схемы: число звеньев – 10, число соединений – 13, число контуров – 4, подвижность – 1, количество внутренних повторяющихся связей – 11. Число внешних связей – 12, фактическая подвижность механизма 1, рабочая подвижность механизма – 0, число утраченных подвижностей внешнего тела от действия внешних связей – 6, количество внешних повторяющихся связей – 5. Научная новизна. Впервые проведен структурный анализ спаренного ползунно-шатунного механизма захватывающего устройства как механизма переменной структуры с внутренними и внешними связями. Выполнены поконтурный поиск, анализ и устранение вредных повторяющихся связей во внутренних и внешних контурах механизма.
Практическая значимость. Предложены практические рекомендации по изменению подвижностей кинематических пар для уменьшения количества повторяющихся связей во внутренних контурах и введения разгрузочного соединения в наружном контуре механизма.

Ключевые слова: механический схват; структурный анализ; подвижность механизма; повторяющиеся связи; внешние связи

R. P. POGREBNYAK1*

1*Dep. «Applied Mechanics», National Metallurgical Academy of Ukraine, Gagarin Av., 4, 49005, Dnipro, tel. +038 (056) 743 32 76, e-mail pogrebnyakk@ukr.net, ORCID 0000-0002-4685-1818

REPEATED CONNECTIONS IN THE schemes OF link slider-crank mechanism OF gripping device

Purpose. The article is aimed to carry out a structural analysis of gripping device as a mechanism with a variable structure and external unilateral constraints, as well as to determine the number of repeated connections in the internal and external contours in the mechanism diagram, and to recommend the ways to reduce them. Methodology. Solution of the set problem is realized by means of the mechanisms and machines theory using the universal structural theory of Ozols for analyzing the gripping device as a mechanism with internal and external constraints. Findings. The design of schemes of mechanical gripping devices rarely provides for a stage of structural analysis and synthesis of the mechanism. The preference is given to mandatory kinematic and kinetostatic calculations, layout and design. If structural analysis is carried out, then most often it is limited to calculating the number of the mechanism freedom degrees. The ten-link gripping device is built on the basis of coupled parallelogram slider-crank mechanism with a leading slider. The leading slider acts on the connecting rods connected by the rocker with the frame. The connecting rods bear the clamping elements of the gripping device. The added dyads form a parallelogram and provide a plane-parallel movement of the gripping elements of clamp. Structural analysis was performed using structural schemes for two states of the mechanism: before clamping the object and in the state of the clamped object. The main internal structural parameters of the kinematic scheme: the number of links - 10, the number of connections - 13, the number of contours - 4, the mobility - 1, the number of internal repeated connections - 11. The number of external connections - 12, the actual mobility of the mechanism - 1, the working mobility of the mechanism is - 0, the number of lost mobilities of the external body from the action of external connections - 6, the number of external repeated connections - 5. Originality. Structural analysis of the coupled slider crank mechanism of the gripping device as a mechanism of a variable structure with internal and external connections is carried out for the first time. It is performed contour search, analysis and elimination of useless repeated connections in the internal and external contours of the mechanism. Practical value. Practical recommendations for changing the mobility of kinematic pairs are proposed to reduce the number of repeated connections in internal contours and to provide unloading connection in the outer contour of the mechanism.

Keywords: mechanical gripping device; structural analysis; mobility of mechanism; repeated connections; external connections

REFERENCES

  1. Borenshteyn, Y. P. (1982). Ispolnitelnye mekhanizmy zakhvatyvayushchikh ustroystv. Leningrad: Ma-shinostroyeniye. (in Russian)

  2. Gerts, G. (1959). Printsipy mekhaniki, izlozhennyye v novoy svyazi. Moscow. (in Russian)

  3. Vorobov, Y. I., Yegorov, O. D., & Popov, S. A. (1988). Mekhanika promyshlennykh robotov. In K. V. Frolov, Y. I. Vorobov (Eds.). Raschet i proyektirovanie mekhanizmov. Moscow: Vysshaya shkola. (in Russian)

  4. Ozol, O. G. (1979). Osnovy konstruirovaniya i rascheta mekhanizmov. Riga: Zvaygzne. (in Russian)

  5. Pavlenko, I. I., Godunko, M. O., & Kirichenko I. D. (2013). Zagalna metodika rozrakhunku ta proektuvannya konstruktsіy zakhvatnikh pristroїv promislovikh robotіv. Zbіrnik naukovikh prats Kіrovogradskogo natsіonalnogo tekhnekhnіchnogo unіversitetu. Tekhnіka v sіlskogospodarskomu virobnitstvі, galuzeve mashinobuduvannya, avtomatizatsіya, 2, 67-70. (in Ukranian)

  6. Pogrebnyak, R. P. (2015). Poshuk ta usunennya nadlishkovikh zv'yazkiv u zakhoplyuyuchykh pristroyakh (zakhoplyuvachakh) mekhanizmiv manipulyatoriv. Metallurgicheskaya i gornorudnaya promyshlennost, 7, 91-95. (in Ukranian)

  7. Pogrebnyak, R. P. (2017). Strukturniy analiz i kinematychniy sintez strizhnovogo kulisnogo mekhanizmu zakhvata. Pidyomno-transportna tekhnika, 2(54), 47-56. (in Ukranian)

  8. Reshetov, L. N. (1979). Samoustanavlivayushchiesya mekhanizmy. Moscow: Mashinostroyeniye. (in Russian)

  9. Chelpanov, I. B., & Kolpashnikov, S. N. (1989). Skhvaty promyshlennykh robotov. Leningrad: Ma-shinostroyenie. (in Russian)

  10. Atarer, F., Korkmaz K., & Kiper G. (2017). Design alternatives of network of Altmann linkages. International Journal of Computational Methods and Experimental Measurements, 5(4), 495-503.
    doi: 10.2495/CMEM-V5-N4-495-503 (in English)

  11. Belfiore, N. P., & Pennestri, E. (1997). An atlas of linkage-type robotic grippers. Mechanism and Machine Theory, 32(7), 811-833. (in English)

  12. Monkman, G., Hesse, S., Steinmann, R., & Schunk, H. (2007). Robot grippers. Weinheim: WILEY-VCH.
    doi: 10.1002/9783527610280 (in English)

  13. Pfurner, M., Stigger, T., & Husty, M. L. (2017). Algebraic analysis of overconstrained single loop four link mechanisms with revolute and prismatic joints. Mechanism and Machine Theory, 114, 11-19.
    doi
    : 10.1016/j.mechmachtheory.2017.03.014 (in English)

  14. Pogrebnyak, R. P. (2015). Structural analysis and rational design parallelogram arm gripping device. Theory and Practice Steel Industry. 1-2, 123-125. (in English)

  15. Pham, D. Т., & Haginbotham, W. B. (Eds.). (1986). Robot Grippers. (International trends in manufacturing technology). Bedford: IFS. (in English)

  16. Schlenoff, C., Balakirsky, S. & Christensen, H. (2018). Robust grasp preimages under unknown mass and friction distributions. Integrated Computer-Aided Engineering. 25(2), 99-110. doi: 10.3233/ICA-180568 (in English)



Надійшла до редколегії: 27.04.2018

Прийнята до друку: 31.07.2018

dПрямая соединительная линия 4oi 10.15802/stp2018/ © Р. П. Погребняк, 2018