ISSN 2307–3489 (Print), ІSSN 2307–6666 (Online)

Наука та прогрес транспорту. Вісник Дніпропетровського
національного університету залізничного транспорту, 2018, № 3 (75)



МАТЕРІАЛОЗНАВСТВО

матеріалознавство

UDC 621.791.14

S. O. PLITCHENKO1*

1*Dep. «Applied Mechanics and Materials Science», Dnipropetrovsk National University of Railway Transport named after
Academician V. Lazaryan, Lazaryan St., 2, Dnipro, Ukraine, 49010, tel. +38 (056) 373 15 56,
e-mail
plit4enko@ukr.net, ORCID 0000-0002-0613-2544.

procedure FOR DETERMINING PROCESS CHARACTERISTICS

OF FRICTION STIR WELDING

Purpose. The study is aimed at improving the procedure for determining the optimum radius of the shoulder of a special tool for friction stir welding (FSW) of aluminum alloys and its change depending on the variations of base metal thickness. Methodology. The friction stir welding process was carried out on specially designed equipment. The material for the studies were 1.85 mm thick plates made of aluminum alloy AMg3 with a chemical content of alloying elements within the range of the brand composition. The temperature in the welding zone and the pressure from the tool on the edges of the welded joint were determined using a specially designed research stand. The pressing force of the tool to the base metal during welding was measured with a dynamometer type DC-0.1 with the indicator head. Findings. During the research, the degree of metal heating and the quality of the welded joint formation were determined at various ratios of the rotation frequency of the working tool and the normal pressure to the joining edges. The research allowed determining the influence of FSW process parameters on the temperature of metal heating in the action zone of the working tool shoulder. Originality. The experimental studies allowed to determine the effect of the working tool rotation speed and the magnitude of its pressure on the welded metal during welding on the temperature in the weld zone. Increasing the tool rotation frequency allows to reduce pressure of the working tool during welding, which results in more efficient and high-quality welding process. It has been established that it is possible to obtain better welded joints at a temperature of about 0.7 Tm and to determine the optimal temperature range in the welding zone. Practical value. The study resulted in determination of the conditions for achieving the permanent softening effect during friction stir welding and the optimum temperatures in the welding zone for the tested alloy. The main technological parameters of the working tool are calculated and their influence on the generation of thermal energy in the welding zone is determined. The thermal analysis of the welding process resulted in development of the procedure for determining the technological parameters of the working tool and its rotation frequency depending on the weld metal thickness.

Keywords: friction stir welding; thermal energy; working tool; welding modes; aluminium alloys; optimum temperature

Introduction

One of the directions of the progressive development of rail transport is the introduction of new metal materials for the manufacture of various structures. The main advantages include small specific gravity, strength, corrosion resistance, ease of recycling, etc.

Aluminium alloys are constantly improved, as well as their mechanical and physical properties, with the simultaneous development of innovative methods of their processing.

When making the structures of intricate shapes, welding is accompanied by certain difficulties. The aluminium alloys ability to weld is complicated by the formation of refractory foils, high thermal conductivity and castability, the tendency to form hot cracks, cavities and others.

Almost all of these disadvantages can be eliminated or significantly reduced when using welding without metal melting. Such methods are types of welding by pressure (Fig. 1), with the localization of heat dissipation in near-surface layers of the edges caused by transformation of mechanical energy (frictional forces) into the heat one.

Fig. 1. Friction welding process schemes:
a – traditional; b vibro friction; c of sheet workpieces
using a blade; P – pressing force

Similarly, during the friction stir welding (FSW) [10], the heat source is the friction forces that arise between the surfaces of the welded edges and the working part of the special tool [5, 1217].

The FSW process parameters include:

Rotation frequency of the welding tool around its own axis;

Speed of welding (speed of movement of the welding tool along the welding edges);

Angle of the tool relative to the welded surface normal;

Force of pressing the tool to the edges;

Geometrical dimensions and shape of the working part of the welding tool.

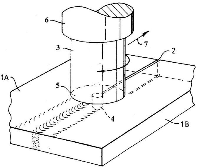
The above characteristics have a different effect on the welding process and the quality of the weld joint [7, 13]. At the same time, the high sensitivity of FSW process to changes in process parameters makes it difficult to support stable welding conditions. For example, the rotation frequency of the tool and the speed of its movement along the edges allow for a wide range of changes in conditions of metal heating and connection. Another matter when it refers to geometric dimensions and tool shape. The intricate form of the elements of the tool significantly complicates its use when changing the range of products under the conditions of friction stir welding (Fig.2, а).

Each of the tool parts provides not only the transformation of mechanical energy into heat, but also its specific distribution along the intersection of the weld seam [17]. The action of the shoulder brings up to 90% of the total energy [12], the remainder is due to the pin. The above correlation indicates the main impact of the shoulder on the stability of FSW process.

In some cases, the working surfaces of the tool may have grooves, flutes, spirals [11], etc., which allows a high level of destruction of the oxide foil of aluminium alloy surfaces and increase in degree of diffusion between the weld metal, which in turn improves the mechanical properties of the joint [1, 12, 14, 15].

The working tool pin is intended for the distribution of thermal energy over the thickness of the welded joint, the crushing of the oxide foils of the ends of the welding surfaces and their activation, ensuring diffusion during welding.

The shape of the working tool pin can vary considerably depending on its diameter, the tool inclination angle during welding, the thickness of the base metal and its chemical composition, which in turn will affect the quality of the welded joint. Similarly to the surface, the shoulder pin may have a groove that helps control the flow of plasticized metal and direct it to the sealing of certain segments of the seam, which reduces the likelihood of the lack of root fusion.

Compared to the technologies of partial or full melting, the use of friction stir welding can significantly reduce the degree of overheating of the metal in the zone of thermal impact and, accordingly, the resulting deformation of the welded joint and the product as a whole [1, 2, 7].

Purpose

Improvement of the procedure for determining the optimum radius of the shoulder of a special tool depending on the variations of base metal thickness.

Material and methodology
of the research

The FSW process (Fig. 2, a) was carried out on a specially designed laboratory equipment using a variety of welding modes [2, 6, 12, 17].

The welding tool (fig. 2, b) was made of P9 grade high-speed steel, which retains its mechanical properties to the melting temperatures of aluminium-based alloys. The tool was used after a special heat treatment hardening.

For the purpose of high-quality metal filling, the axis of the working tool is located at an angle of 1...3° relative to the normal to the metal surface. Normal effort was chosen under the conditions of immersing the tool into the billet to a depth of up to 10% of the weld edge thicknessThe shoulder had a diameter of 12 mm and 1.72 mm long cone-shaped pin with a diameter of 3.4 mm.

a

b

Fig. 2. FSW process of two workpieces (a) and
working tool (b):
1A, 1B – workpieces; 2 – stick; 3 – working tool; 4 – pin;
5 – shoulder; 6 – source of rotation (engine);
7 – direction of welding

The speed of the tool rotation was changed in the range of 800...1600 min-1, with the force of pressing on plates not higher than 1.4 kN. The speed of tool movement along the seam was maintained constant – 50 mm/min.

Materials for researches were 1.85 mm thick plates of AMG3 alloy with the content of alloying elements within the brand composition.

The temperature and pressure from the tool in the welding zone were controlled in a specially designed stand mounted on a vertical cutting bench. The force of working tool pressing to the edges was measured by a dynamometer of type DS-0.1.

The metal heating temperature was measured by thermocouples of chromel-aluminium type with an arrangement at different distances from the axis of the weld seam.

Findings

In different ratios, the working tool rotation speed and its pressing to the connecting edges changed the degree of metal heating.

Fig. 3 shows the research results of the influence of the FSW process parameters on the metal heating temperature under the shoulder of the working tool.

Fig. 3 – Experimental curves of dependence
of the alloy edge heating temperature under
the shoulder on the speed of rotation
and the pressing force of the working tool
(Vw = const):
1 – ω = 800 rpm; 2 – ω = 1250 rpm; 3 – ω = 1600 rpm

The analysis of the type of the ratio resulted in determination of the optimal temperature of the heating of the metal edges. First, a qualitatively different form of dependence corresponded to a change in the structural transformations in the metal edges. Regardless of the rotation speed of the tool and its pressing force, the minimum temperature was in the relatively narrow range of 70...85°С (Fig. 3, points A, B, C). Taking into account possible uncontrolled deviations with the support of stable conditions of the welding process, to simplify the analysis of the thermal balance, the average temperature value of 76...78°C was adopted, which corresponded to the moment of change in the ratio type.

Estimation of the initial recrystallization temperature (TR) for single-phase metallic materials (TR = 0.4·TM, where TM is the metal melting point) showed a sufficiently qualitative coincidence with the values of 76...78°С.

A detailed analysis of the shape of the curves (Fig. 3), taking into account the existing qualitative changes in structural transformations under hot compression, suggests that from the moment of formation of the horizontal section (A – D; B – E; C – F) to a sharp reduction of the pressing force (point D, E, F), the processes of internal alloy reorganization are due to the development of dynamic polygonization and recrystallization.

On this basis, the moment of formation of the horizontal section should be considered as a limit on the minimum temperature of the FSW process, and a sharp decrease as the maximum acceptable value.

The shape of the curves and the qualitative change points in the ratio indicate the dependence of conditions for the achievement of the metal superplastic state on the FSW process parameters. Indeed, if the initial plasticization temperature remains practically independent of the ratio of and , then the achievement of the superplastic state (P decrease area) is more or less determined by the value.

Sufficiently complex character of the simultaneous influence of several technological parameters of the FSW process on plastic properties demanded to estimate the required energy (Q) for heating the metal to a temperature of 0.7TM. The value Q was determined by the ratio of type [9], taking into account the experimental conditions:

, (1)

where – tool rotation frequency; pressing force of the working tool, temperature (), power characteristic, exponent.

The calculation of Q was carried out according to experimental data (Fig. 3) for the alloy plates under steady state conditions:  = 13. (800 min-1), P = 1 kN;  = 20. (1250 min 1), P = 0.59 kN and  = 26.7 (1600 min-1), P = 0.275 kN. The temperature in the edge zone was 0.7 TM. The result of the Q estimate depending on for points J, H, G is shown in Fig. 4

Fig. 4 – Q dependence on the simultaneous influence
of and (points J, H, G) under conditions
of temperature reach of 0.7 TM

The given dependence (Fig. 4) shows a rather complex simultaneous impact on Q from and . On this basis, it is a definite interest to evaluate the impact of any one characteristic. The result of the calculation of Q depending on with (0.275 kN) is shown in Fig. 5.

The analysis of the results shows that in the case of constant pressing force, the double change of leads to Q change at the range of 10...12%, which corresponds to the average value of (Fig. 4, point G).

The result of impact on , in comparison with the pressing force, has a definite confirmation. The fact is that the change interval of is 2 times against the change of more than 3.6 times. Thus, the experiment plan showed a different effect of the FSW technological parameters on the processes of heating the connecting edges.

Fig. 5 Change of Q depending on
with
P=0.275kN

The combined analysis of the Q calculated values (Figs 4, 5) indicates the need to determine the optimal energy for friction stir welding and possible dependence on the geometric dimensions of the working tool. Taking into account the contribution of the shoulder to the energy balance of the FSW, an attempt was made to estimate the optimal diameter of the work tool shoulder for different thicknesses of the connecting edges. To this end, the relationship between the thermal balance of the friction welding process and the main technological parameters [3] was used:

, (2)

where energy characteristic;friction
coefficient;  – specific normal tool pressure;
angular speed of rotation; Rtradius of the tool shoulder.

Given that the relation (2) includes unchanged values, the expression should be simplified:

, (3)

where constant coefficient.

Then the expression (2) will look like:

, (4)

From the relation (4), Rt is equal to:

, (5)

The calculation results for Rt according to (5) using the experimental data [8] and the random values of Q for the studied change intervals and are shown in Fig. 6.

Fig. 6 – Diagram of selecting the working
tool shoulder radius Rt for P=0.275 kN,
depending on :
1 800; 2 1250; 3 – 1600; 4 – 2000 min-1
● – Experimental data Q from Fig. 4

The analysis of the results (Fig. 6) shows the existence of a correlation between the energy Q in the welding zone and the size of the working tool shoulder radius Rt. At higher speeds of the tool rotation (Fig. 6, curves 3 and 4), the same values of Q are achieved with decreasing Rt.

In the process of welding, holding the tool at an angle of 1...3˚ relative to the normal to the blank provides the necessary conditions for filling of the weld bath with the metal. The expected unevenness of temperature distribution along the plane of the contact spot (shoulder) occurs only in the initial stages until reaching the optimal welding conditions. After this, completely homogeneous conditions for the heat energy release process are achieved.

When designing a working tool, it should be borne in mind that excessive increase in the shoulder diameter will increase the load on the equipment and undesirably increase the width of the weld, as well as using high frequency rotation of the tool can lead to overheating of the weld connection, which negatively affects its mechanical properties.

In addition to the influence of these factors, the choice of welding mode depends on the chemical and phase composition of the alloy, the morphology and location in the matrix of the particles of the second phase. Of particular importance is the thickness of the metal edges.

In order to take into account the influence of the welded metal thickness and its thermal properties on the achievement of optimal conditions, it is proposed to use the similarity criterion [4]:

, (6)

where characteristic, similar to Q from (2);
thermal conductivity; thickness of the metal edges; Т temperature in the welding zone, K.

By relation (6), for a particular alloy, under unchanged conditions and Т (optimal heating temperature of edges in FSW), the value varies in a very small range of values, which is confirmed by the data [4] and experimentally in the work. Given that the thickness of the welded metal can vary in a wide range, the calculations of Rt are limited in thicknesses from 1 to 10 mm, which are the most common in the industry.

The value of the energy Q for any thickness of the base metal is estimated by the following expression:

, (7)

The relation (7) taking into account (8)

, (8)

where is constant, takes the form:

, (9)

Taking into account (1), the same level of Q can be achieved by different combinations of and. Then, for (9), Q is in fact the mean for the range of changes of and , that has a definite confirmation. So, for the thickness δ = 1.85mm, the received energy value by the ratio (9) and the average value Q under the three modes (40 kJ) have a qualitative coincidence (Fig. 7).

Fig. 7 – Dependence of the required amount
of energy Q by (9) for the established process
of welding on the metal thickness δ

The given dependence allows us to determine the optimal conditions for friction stir welding for plates of different thicknesses. For example, for δ = 3mm the required amount of heat energy should be of about 70 kJ. Further, for this energy value, for a particular equipment with a specified power, we determine the optimal rotational speed of the tool and the corresponding radius of the shoulder.

Determination of the value Rt, subject to the simultaneous consideration of the tool pressing force, the rotation speed and the metal thickness, is proposed by the ratio:

, (10)

The calculation results for (10) are given for the thicknesses 1<δ<10 mm in Fig. 8

The constructed diagram for (10) corresponds to the conditions of constant pressing force (0.275 kN), although the optimal Q level for welding (FSW) is determined by the combination of and .

The verification of the dependence (Fig. 8) was carried out experimentally. So, under the constant pressure conditions (0.275 kN) for welding the 3 mm thick edges with ω = 1250 min-1, the tool radius should be 9...10 mm, and for the frequency of 1600 min-1 – approximately 8...9 mm.

Fig. 8 – Diagram of determining the optimal working tool shoulder radius Rt to achieve the established welding process at:
P = 0.275 kN, Vsim = const:
1 – 800; 2 – 1250; 3 – 1600;
4 – 2000; 5 – 2500; 6 3000 min-1

Under conditions when the justified necessity of finding the optimal welding mode is based on changing the working tool pressing force, the calculation of Rt is carried out according to another diagram, for a specific value of .

Thus, according to the estimates, it is possible to improve the process of finding the optimum welding conditions for the friction stir welding.

Originality and practical value

The research determined the effect of the working tool rotation speed and the magnitude of its pressure on the welded edges on the temperature in the weld zone. The increase of allows reducing the pressure of the working tool during welding. The conditions for the achievement of the superconducting state of the metal in the welding zone and the optimal temperature range have been determined.

Conclusions

  1. It has been established that it is possible to obtain welded joints at a temperature of about 0.7 Tm during the friction stir welding.

  2. At different ratios of the working tool rotation speed and pressing to the connecting edges, the conditions for achieving the effect of constant softening of the alloy have been determined.

  3. The main technological parameters of the working tool have been calculated and their influence on the generation of thermal energy in the welding zone has been determined.

  4. The thermal analysis of the welding process resulted in development of the procedure for determining the technological parameters of the working tool depending on the weld metal thickness.

LIST OF REFERENCE LINKS

  1. Вакуленко, І. О. Використання технології зварювання тертям з перемішуванням алюмінієвого сплаву / І. О. Вакуленко, С. О. Плітченко, Ю. Л. Надеждін // Вісн. Дніпропетр. нац. ун-ту залізн. трансп. ім. акад. В. Лазаряна. – Дніпропетровськ, 2012. – Вип. 41. – С. 230–233.

  2. Вакуленко, І. О. Про структурні перетворення при зварюванні тертям з перемішуванням алюмінієвого сплаву / І. О. Вакуленко, О. А. Мітяєв, С. О. Плітченко // Нові матеріали і технології в металургії та машинобудуванні. – 2014. – № 1. – С. 8–10.

  3. Вилль, В. И. Сварка металлов трением / В. И. Вилль. – Ленинград : Машиностроение, 1970. – 178 с.

  4. Ерохин, А. А. Основы сварки плавлением. Физико-химические закономерности / А. А. Ерохин. – Москва : Машиностроение, 1973. – 448 с.

  5. Моделирование тепловых процессов при фрикционной сварке / Э. Л. Макаров, С. А. Королев,
    М. М. Штрикман, Н. М. Кащук // Сварка и диагностика. – 2010. – № 3. – С. 2125.

  6. Пат. 75698 Україна, МПК В 23 К 1/00. Спосіб зварювання тертям з перемішуванням сплавів на основі алюмінію / Вакуленко І. О., Плітченко С. О., Надеждін Ю. Л. ; заявник та патентовласник Дніпропетр. нац. ун-т залізн. трансп. ім. акад. В. Лазаряна. – № U201206529 ; заявл. 29.05.12 ; опубл. 10.12.12, Бюл. № 23. – 4 с.

  7. Покляцкий, А. Г. Некоторые преимущества стыковых соединений тонколистовых деформируемых алюминиевых сплавов АМг5М и АМг6М, полученных сваркой трением с перемешиванием, по сравнению с ТИГ / А. Г. Покляцкий, И. Н. Клочков, С. И. Мотрунич // Автоматическая сварка. – 2015. – № 7. – С. 18–23.

  8. Determination activation energy of friction stir welding / I. O. Vakulenko, S. O. Plitchenko // Welding and Related Technologies : Proc. of 9th Intern. Conf. of Young Scientists (23–26 May 2017, Kyiv, Ukraine). – Kyiv, 2017. – Р. 54–58.

  9. Hayes, R. W. On the mechanism of delayed discontinuous plastic flow in an age-hardened nickel alloy /
    R. W. Hayes, W. C. Hayes // Acta Metallurgica. – 1982. – Vol. 30.
    – Іss. 7. – P. 12951301.
    doi
    : 10.1016/0001-6160(82)90148-1

  10. Int. Pat. Application № PCT/GB 92/02203; GB Pat. Application № 9125978.8. Friction Stir Butt Welding / Thomas W. M., Nicholas E. D., Needham J. C. et al. – Publ. 1991.

  11. Int. Pat. Application № 10/140,797; US Pat. № 6,669,075 B2. Tapered Friction Stir Welding Tool / Colligan K. – Publ. 30.12.2003.

  12. Investigation of stationary shoulder friction stir welding of aluminum alloy 7075-T651 / Dongxiao Li, Xinqi Yang, Lei Cui, Fangzhou He, Xu Zhang // Journal of Materials Processing Technology. – 2015. – Vol. 222. – P. 391–398. doi: 10.1016/j.jmatprotec.2015.03.036

  13. Friction stir welding and processing / Editors Rajiv S. Mishra, Murray W. Mahoney. – Ohio : ASM International, 2007. – 360 p.

  14. Modeling heat transfer during friction stir welding using a meshless particle method / Yihua Xiao, Haifei Zhan, Yuantong Gu, Qinghua Li // Intern. Journal of Heat and Mass Transfer. – 2017. – Vol. 104. – P. 288–300. doi: 10.1016/j.ijheatmasstransfer.2016.08.047

  15. Numerical modeling for the effect of pin profiles on thermal and material flow characteristics in friction stir welding / Hao Su, Chuan Song Wu, Marcel Bachmann, Michael Rethmeier // Materials & Design. – 2015. – Vol. 77. – P. 114–125. doi: 10.1016/j.matdes.2015.04.012

  16. Shneider, J. A. Temperature distribution and resulting metal flow / J. A. Shneider // Friction Stir Welding and Processing. – Ohio : ASM International, 2007. – Р. 37–49.

  17. Thermo-Mechanical Modeling of Friction-Stir Welding Tool Used in Aluminum Alloys Joints / J. F. Villegas, J. V. Dominguez, G. V. Ochoa, J. Unfried-Silgado // Contemporary Engineering Sciences. – 2017. – Vol. 10. – Іss. 34. – P. 1659–1667. doi: 10.12988/ces.2017.711156

С. О. ПЛІТЧЕНКО1*

1*Каф. «Прикладна механіка та матеріалознавство», Дніпропетровський національний університет залізничного
транспорту імені академіка В. Лазаряна, вул. Лазаряна, 2, Дніпро, Україна, 49010, тел. +38 (056) 373 15 56,
ел. пошта plit4enko@ukr.net, ORCID 0000-0002-0613-2544

МЕТОДИКА ВИЗНАЧЕННЯ ТЕХНОЛОГІЧНИХ ХАРАКТЕРИСТИК

ПРОЦЕСУ ЗВАРЮВАННЯ ТЕРТЯМ ІЗ ПЕРЕМІШУВАННЯМ

Мета. Дослідження передбачає удосконалення методики визначення оптимальної величини радіуса заплечика спеціального інструмента під час зварювання тертям із перемішуванням (ЗТП) сплавів на основі алюмінію та його зміну залежно від зміни товщини основного металу. Методика. Процес зварювання тертям із перемішуванням виконаний на спеціально розробленому обладнанні. Матеріалом для досліджень були пластини товщиною 1,85 мм зі сплаву алюмінію АМг3 з хімічним вмістом легувальних елементів у межах марочного складу. Температуру в зоні зварювання та тиск від інструмента на кромки зварного з’єднання визначали за допомогою спеціально розробленого дослідного стенда. Силу притискання робочого інструмента до основного металу під час зварювання вимірювали за допомогою динамометра типу ДС-0,1 з індикаторною головкою. Результати. У процесі досліджень за різних співвідношень частоти обертання робочого інструмента та нормального притискання до з’єднуваних кромок визначений ступінь розігріву металу, а також якість формування зварного з’єднання. З’ясований вплив технологічних параметрів процесу ЗТП на температуру розігріву металу в зоні дії заплечика робочого інструмента. Наукова новизна. З експериментальних досліджень було визначено, що температура в зоні зварювання залежить від швидкості обертання робочого інструмента та величини його тиску на зварюваний метал. Збільшення частоти обертання інструмента дозволяє зменшувати його тиск, що дає змогу більш ефективно та якісно проводити процес зварювання. Встановлена можливість отримувати більш якісні зварні з’єднання за температури, яка приблизно дорівнює 0,7Тпл, визначений оптимальний діапазон температур у зоні зварювання.
Практична значимість. Визначені умови досягнення ефекту постійного пом’якшення під час зварювання тертям із перемішуванням та оптимальні температури в зоні зварювання для досліджуваного сплаву. Здійснений розрахунок основних технологічних параметрів робочого інструмента та визначений їх вплив на генерування теплової енергії в зоні зварювання. На основі теплового аналізу процесу зварювання розроблена методика визначення технологічних параметрів робочого інструмента та частоти його обертання залежно від товщини зварюваного металу.

Ключові слова: зварювання тертям із перемішуванням; теплова енергія; робочий інструмент; режими зварювання; сплави на основі алюмінію; оптимальна температура

С. А. ПЛИТЧЕНКО1*

1*Каф. «Прикладная механика и материаловедение», Днепропетровский национальный университет железнодорожного транспорта имени академика В. Лазаряна, ул. Лазаряна, 2, Днипро, Украина, 49010, тел. +38 (056) 373 15 56,
эл. почта plit4enko@ukr.net, ORCID 0000-0002-0613-2544


МЕТОДИКА ОПРЕДЕЛЕНИЯ ТЕХНОЛОГИЧЕСКИХ ХАРАКТЕРИСТИК

ПРОЦЕССА СВАРКИ ТРЕНИЕМ С ПЕРЕМЕШИВАНИЕМ

Цель. Исследование предусматривает усовершенствование методики определения оптимальной величины радиуса заплечика специального инструмента при сварке трением с перемешиванием (СТП) сплавов на основе алюминия и его изменение в зависимости от изменения толщины основного металла.
Методика. Процесс сварки трением с перемешиванием выполнялся на специально разработанном оборудовании. Материалом для исследований были пластины толщиной 1,85 мм из сплава алюминия АМг3 с химическим содержанием легирующих элементов в пределах марочного состава. Сварочный инструмент изготавливался с использованием быстрорежущей стали марки Р9 и подвергался специальной термообработке. Температуру в зоне сварки и давление от инструмента на кромки сварного соединения определяли с помощью специально разработанного исследовательского стенда. Сила прижима рабочего инструмента к основному металлу при сварке измерялась с помощью динамометра типа ДС-0,1 с индикаторной головкой.
Результаты. В процессе исследований при различных соотношениях частоты вращения рабочего инструмента и нормального прижима к соединительным кромкам определили степень разогрева металла, а также качество формирования сварного соединения. Определили влияние технологических параметров процесса СТП на температуру разогрева металла в зоне действия заплечика рабочего инструмента. Научная новизна. Из экспериментальных исследований было определено, что температура в зоне сварки зависит от скорости вращения рабочего инструмента и величины его давления на свариваемый металл. Увеличение частоты вращения инструмента позволяет уменьшать его давление, что дает возможность более эффективно и качественно проводить процесс сварки. Установлена возможность получать более качественные сварные соединения при температуре, примерно равной 0,7 Тпл, определен оптимальный диапазон температур в зоне сварки. Практическая значимость. Определены условия достижения эффекта постоянного смягчения при сварке трением с перемешиванием и оптимальные температуры в зоне сварки для исследуемого сплава. Осуществлен расчет основных технологических параметров рабочего инструмента и определено их влияние на генерирование тепловой энергии в зоне сварки. На основе теплового анализа процесса сварки разработана методика определения технологических параметров рабочего инструмента и частоты его вращения в зависимости от толщины свариваемого металла.

Ключевые слова: сварка трением с перемешиванием; тепловая энергия; рабочий инструмент; режимы сварки; сплавы на основе алюминия; оптимальная температура

REFERENCES

  1. Vakulenko, I. O., Plitchenko, S. O., & Nadegdin, Y. L. (2012). Use of technology of friction stir welding for aluminum alloys. Visnyk Dnipropetrovskoho natsionalnoho universytetu zaliznychnoho transportu imeni akademika V. Lazariana, 41, 230-233. (in Ukranian)

  2. Vakulenko, I. O., Mitiaiev, O. A., & Plitchenko, S. O. (2014). Pro strukturni peretvorennia pry zvariuvanni tertiam z peremishuvanniam aliuminiievoho splavu. Novi materialy i tekhnolohii v metalurhii ta mashynobuduvanni, 1, 8-10. (in Ukranian)

  3. Vyll, V. Y. (1970). Svarka metallov trenyem. Leningrad: Mashinostroyeniye. (in Russian)

  4. Yerokhin, A. A. (1973). Osnovy svarki plavleniem. Fiziko-khimicheskie zakonomernosti. Moscow: Mashinostroenie. (in Russian)

  5. Makarov, E. L., Korolev, S. A., Shtrikman, M. M., Kashchuk, N. M. (2010). Modelirovanie teplovykh protsessov pri friktsionnoy svarke. Svarka i diagnostika, 3, 21-25. (in Russian)

  6. Vakulenko, I. O., Plitchenko, S. O., & Nadegdin, Y. L. (2012). UA Patent No. 75698. Kyiv: Ukrainskyi instytut intelektualnoi vlasnosti (Ukrpatent). (in Ukranian)

  7. Poklyatskiy, A. G., Klochkov, I. N., & Motrunich, S. I. (2015). Nekotorye preimushchestva stykovykh soedineniy tonkolistovykh deformiruemykh alyuminievykh splavov AMg5M i AMg6M, poluchennykh svarkoy treniem s peremeshivaniem, po sravneniyu s TIG. Avtomaticheskaya svarka, 7, 18-23. (in Russian)

  8. Vakulenko, I. O., Plitchenko, S. O. (2017). Determination activation energy of friction stir welding. Proceedings of the 9th International Conference Young Scientists Welding and related Technologies, May 23-26, 2017, 54-58. (in English)

  9. Hayes, R. W., & Hayes, W. C. (1982). On the mechanism of delayed discontinuous plastic flow in an age-hardened nickel alloy. Acta Metallurgica, 30 (7), 1295-1301. doi: 10.1016/0001-6160(82)90148-1 (in English)

  10. Thomas, W.M., Nicholas, E.D., Needham, J.C. & et al. (1991). GB Patent No. 9125978.8 (Int. Pat. Application № PCT/GB 92/02203). (in English)

  11. Colligan, K. (2003). US Patent No. 6,669,075 B2 (Int. Pat. Application № 10/140,797). (in English)

  12. Li, D., Yang, X., Cui, L., He, F., & Zhang, X. (2015). Investigation of stationary shoulder friction stir welding of aluminum alloy 7075-T651. Journal of Materials Processing Technology, 222, 391–398.
    doi: 10.1016/j.jmatprotec.2015.03.036 (in English)

  13. Mishara, R. S., & Mahoney, M. W. (Eds.) (2007). Friction stir welding and processing. Ohio: ASM International. (in English)

  14. Xiao, Y., Zhan, H., Gu, Y., & Li, Q. (2017). Modeling heat transfer during friction stir welding using a meshless particle method. International Journal of Heat and Mass Transfer, 104, 288-300.
    doi: 10.1016/j.ijheatmasstransfer.2016.08.047 (in English)

  15. Su, H., Wu Song, C., Bachmann, M., & Rethmeier, M. (2015). Numerical modeling for the effect of pin profiles on thermal and material flow characteristics in friction stir welding. Materials & Design, 77, 114-125. doi: 10.1016/j.dt.2015.05.001 (in English)

  16. Shneider, J. A. (2007). Temperature distribution and resulting metal flow. In J. A. Shneider (Ed.), Friction stir welding and processing, (37-49). Ohio: ASM International. (in English)

  17. Villegas, J. F., Dominguez, J. V., Ochoa, G. V., & Unfried-Silgado, J. (2017). Thermo-Mechanical Modeling of Friction-Stir Welding Tool Used in Aluminum Alloys Joints. Contemporary Engineering Sciences, 10 (34), 1659-1667. doi: 10.12988/ces.2017.711156 (in English)


Prof. I. O. Vakulenko, D. Sc. (Tech.) (Ukraine) recommended this article to be published


Received: March 21, 2018

Accepted: April 22, 2018

doi 10.15802/stp2018/133168 © S. O. Plitchenko, 2018