ISSN 2307–3489 (Print), ІSSN 2307–6666 (Online)

Наука та прогрес транспорту. Вісник Дніпропетровського
національного університету залізничного транспорту, 2017, № 5 (71)



ТРАНСПОРТНЕ БУДІВНИЦТВО

УДК 624.04

С. М. СТОВПНИК1*, А. Л. ГАН2*, Є. А. ЗАГОРУЙКО3*, Л. В. ШАЙДЕЦЬКА4*

1*Каф. «Геобудівництво та гірничі технології», Національний технічний
університет України «Київський політехнічний інститут імені Ігоря Сікорського»,
вул. Борщагівська, 115/3, Київ, Україна, 03056, тел. +38 (067) 848 59 77,
ел. пошта stansto@i.ua, ORCID 0000-0001-5664-8680
2*Каф. «Геобудівництво та гірничі технології», Національний технічний
університет України «Київський політехнічний інститут імені Ігоря Сікорського»,
вул. Борщагівська, 115/3, Київ, Україна, 03056, тел. +38 (097) 653 05 66,
ел. пошта gan@geobud.kiev.ua, ORCID 0000-0003-0832-1338
3*Каф. «Геобудівництво та гірничі технології», Національний технічний університет
України «Київський політехнічний інститут імені Ігоря Сікорського»,
вул. Борщагівська, 115/3, Київ, Україна, 03056, +38 (063) 614 41 01,
ел. пошта zagoruyko@geobud.kiev.ua, ORCID 0000-0003-2710-3934
4*Каф. «Геобудівництво та гірничі технології», Національний технічний університет
України «Київський політехнічний інститут імені Ігоря Сікорського»,
вул. Борщагівська, 115/3, Київ, Україна, 03056, тел. +38 (067) 447 59 14,
ел. пошта shaydetskaya_lubov@ukr.net, ORCID 0000-0002-6593-0255

ДОСЛІДЖЕННЯ ГІДРАВЛІЧНОГО ВПЛИВУ

НА ТЕХНОЛОГІЧНУ СТІЙКІСТЬ МЕТРОТУНЕЛЮ

МІЛКОГО ЗАКЛАДАННЯ
В НАМИВНИХ МАСИВАХ

Мета. На основі аналізу результатів комп’ютерного моделювання та лабораторних досліджень у науковій роботі необхідно встановити залежність впливу змін гідравлічного рівня ґрунтових вод на стійкість обробки тунелів метрополітену за рахунок розвитку деформацій оточуючого намивного масиву. Методика. Методичну основу комплексу досліджень складають аналіз та узагальнення відомих наукових результатів та практичного досвіду прогнозування і попередження деформацій обробок тунелів та оточуючого ґрунтового масиву, а також комп’ютерне моделювання критичного напружено-деформованого стану обробки тунелю при зміні гідравлічного рівня ґрунтових вод. Результати. В процесі технологічного спорудження та під дією безнапірних підземних вод при експлуатації тунелів ліній метрополітену мілкого закладання стійкість суцільно-секційної обробки забезпечується завдяки рівномірному гідростатичному обтисканню обробки, при цьому осідання тунелю знаходяться в межах допустимих значень. Результати досліджень показують, що при зміні рівня підземних вод по обидва боки тунелю може виникати різний гідростатичний тиск. При цьому з’являється перерозподіл напружень ґрунтового масиву навколо поперечного перерізу тунелю, а це, в свою чергу, призводить до виникнення додаткових нерівномірних деформацій та розкриття тріщин обробки тунелю під час експлуатації. Наукова новизна. Авторами роботи вперше встановлено вплив зміни гідростатичного тиску, що може виникати внаслідок коливання рівня підземних вод, на суцільно-секційну обробку тунелів ліній метрополітену мілкого закладання через вторинне осідання ґрунту. Визначені умови виникнення вторинного осідання ґрунту та встановлено характер протікання деформацій у період експлуатації тунелів мілкого закладання. Практична значимість. На стадії проектування ліній метрополітену мілкого закладання необхідно враховувати можливість нерівномірного осідання від дії гідростатичного тиску в період експлуатації. Це дозволить уникнути додаткових деформацій у сезонний період, зменшити кількість поточних ремонтів, підвищити надійність та збільшити термін експлуатації конструкцій обробки тунелів.

Ключові слова: стійкість масиву; напружено-деформований стан; гідродинамічний вплив; обробка тунелю; намивний масив

Вступ

Велику кількість українських міст утворено по берегах водойм. Від середини ХХ століття розвиток великих міст відбувався через розширення забудови у тому числі і намиванням ґрунтових масивів у межах річкової пойми. При цьому транспортне сполучення в новоутворених мікрорайонах забезпечується лініями метрополітену мілкого закладання. Аналіз раніше проведених досліджень [1–3, 5] показує, що характерними ознаками намивних ґрунтів водонасичених піщаних масивів є нерівномірність фракційного складу з наявністю значної кількості пилуватих часток, абсолютний гідростатичний розподіл напружень та практично відсутнє зчеплення між частками ґрунту, які знаходяться у суспензованому стані. Сукупність цих, змінних у часі, факторів призводить до безперервного перерозподілу напружень у масиві, у наслідок чого погіршується стійкість водонасичених ґрунтів, виникають додаткові деформації, які впливають на підземні споруди.

Тому дослідження гідродинамічного впливу на стійкість підземних споруд метрополітенів мілкого закладання є актуальною задачею.

Мета

Для встановлення впливу змін гідравлічного рівня ґрунтових вод на стійкість обробки тунелів метрополітену була поставлена задача дослідження експлуатаційної надійності метротунелів в умовах водонасичених піщаних ґрунтів при безперервному функціонуванні магістральних транспортних потоків, що характерно для мегаполісів.

Методика

Для отримання теоретичних даних авторами виконано узагальнення відомих з літератури результатів досліджень динамічного впливу на технологічну стійкість обробок тунелів метрополітенів мілкого закладання [1–10].

Методичну основу комплексу досліджень склали: аналіз наукових результатів та практичного досвіду прогнозування деформацій обробок тунелів в залежності від напружено-деформованого стану оточуючого ґрунтового масиву, комп’ютерне моделювання критичного розвитку переміщень обробки тунелю при зміні гідравлічного рівня ґрунтових вод.

Результати

Ущільнення міської забудови та аварійні ситуації на гідротехнічних комунікаціях суттєво змінюють первісні гідрогеологічні умови техногенного масиву, які суттєво відрізняються від гідрологічних даних на стадії проектування метрополітену. У наслідок цього виникають порушення експлуатації діючого метрополітену, які, на прикладі Оболоньської гілки Київського метрополітену, можуть приводити до втрати герметичності гідроізоляції та супроводжуватись потраплянням води та виносом ґрунтів у тунель.

Для прогнозування майбутньої експлуатаційної надійності ділянок метрополітену, що знаходяться в подібних умовах, було виконано моделювання напружено-деформованого стану обробки під дією перетоків ґрунтових вод.

Детально проаналізовані умови ділянки Сирецько–Печерської лінії в межах Харківського відгалуження. У намивному масиві, представленому переважно водонасиченими пісками, оскільки, супіски та суглинки присутні в незначній кількості, виявлена незначна ділянка заторфованості (рис.1).

Рис. 1. Інженерно-геологічні умови метротунелю мілкого закладання Сирецько-Печерської лінії

Fig. 1. Engineering and geological conditions for the metro-tunnel of shallow depth, Syretsko-Pechersk line

Фізико-механічні характеристики ґрунтів цієї ділянки лінії метрополітену наведені в таблиці 1.

Особливістю умов цієї ділянки є змінний рівень перетинання підземним потоком вертикального перерізу тунелю (від перевищення на 1,2 м над перекриттям до перепаду на висоті 4,4 м від рівня лоткової частини тунелю).

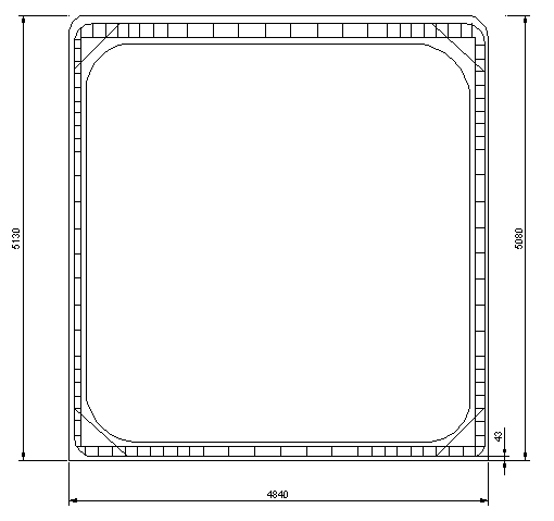
Безпосередньо в масиві тунель розташований похило (під ухилом 4%0) при змінній глибині (1,8–5,2 м) від денної поверхні. Конструкція тунелю представлена стандартизованою суцільносекційною обробкою (ССО) у вигляді залізобетонної прямокутної конструкції коробкового перерізу (рис. 2).

За допомогою програмних засобів були змодельовані стадії технологічного процесу спорудження метротунелю траншейним способом, які включають: забивку шпунтового огородження, осушення котловану за допомогою водопониження рівня ґрунтових вод на період будівництва, виймання ґрунтів до рівня лоткової частини, монтування обробки ССО, зворотне засипання та вилучення шпунтів.

Таблиця 1

Фізико-механічні характеристики ґрунтів

Table 1

Physical and mechanical characteristics of soils

Вид ґрунту

Щільність ґрунту ρ0, т/м3

Щільність сухого ґрунту ρd, т/м3

Коефіцієнт фільтрації, Кф, м/добу

Кут внутрішнього тертя φн, град

Питоме зчеплення, сн, МПа

Модуль деформації, Е0, МПа

Пісок дрібний мало вологий середньої щільності

1,72

1,65

5,0

32

0,002

20

Пісок середньої крупності насичений водою, щільний

1,95

1,66

35

32

0,001

30


Рис. 2. Конструкція обробки ССО тунелю
мілкого закладання

Fig. 2. The construction design of tunnel ESP
of shallow depth

Послідовне моделювання технології робіт дозволило отримати параметри розподілу напружено-деформованого стану ґрунтів навколо конструкції з врахуванням інтегральної дії напруг на кожному етапі робіт, яке суттєво відрізняється від первісного природного. Одним з елементів суттєвого впливу на розподіл напруг є можливість залишення окремих шпунтин (за досвідом «ПАТ «Київметробуд» доля вилучених паль не перевищує 30–40 %).

На останньому етапі відновлювалась дія гідростатичного тиску ґрунтових вод та оцінювався напружено-деформований стан масиву. Було встановлено, що стійкість стін котловану суттєво порушувалась, тому передбачено додавання в конструкцію огородження котловану розпірних елементів.

Далі за допомогою нормативного програмного комплексу «SCAD» були створені кілька комп’ютерних моделей з врахуванням нерівномірного тиску ґрунтових вод та ймовірним підмивом з іншого боку. Конструкція обробки змодельована елементом – плитою, основа під лотковою частиною секції тунелю моделюється коефіцієнтом постеля (вінклерова основа), навантаження від ґрунту та підземних вод на стіни секції задано рівномірно-розподіленим тиском. Величина підмиву змінювалася в межах 0–30 %.

Відповідно до отриманого розподілу навантажень визначені показники напружено-деформованого стану конструкції обробки (рис. 3).

Слід зазначити, що гідростатичне обтискання конструкції ґрунтовими водами забезпечує рівномірний перерозподіл напруг в неї, без виникнення критичних станів, а загальне осідання конструкції не перевищує 3,8 мм. Таким чином встановлено, що вплив безнапірного горизонту ґрунтових вод на стійкість конструкції є обмеженим.

За наявності гідравлічного градієнту в масиві виникає направлена фільтрація, напрямок якої обумовлюється різницею глибин рівня води. Найбільш складним представляється випадок, коли підземні потоки протікають перпендикулярно осі тунелю. Відповідний аналіз гідрогеологічних умов дозволив припустити можливість виникнення барражного ефекту на ділянці перетинання підземного потоку і споруди тунелю.

Рис. 3. Вертикальні деформації конструкції обробки при 30 %-му підмиву, мм

Fig. 3. Vertical deformations of the construction design at 30% of washout, mm

Внаслідок цього виникає локальний перепідйом ґрунтових вод уздовж бокової стінки тунелю, який може призвести до переливання частини потоку через склепіння обробки і подальшого спадання рівня води з протилежної сторони тунелю. Ця робоча гіпотеза була прийнята з певними припущеннями для визначення додаткових нерівномірних деформацій споруди.

Згідно з цією гіпотез була створена комп’ютерна модель з урахуванням вимивання ґрунту з-під основи тунелю. У результаті моделювання було встановлено, що на ділянці тунелю, яка перекривається підземним потоком, виникають додаткові деформації нерівномірного осадження тунелю (рис. 4, 5).

Цей ефект підтверджено при повторному перерахунку напруженого стану обробки за програмою «SCAD», який показав, що перетоки води через перекриття обробки призводить до розмивання ґрунтової основи під протилежною до напрямку потоку стінкою обробки, у результаті чого виникає нерівномірне навантаження на лоткову частину тунелю, що посилює розмив основи.

Наступне зменшення площі обпирання в основі тунелю викликає концентрацію експлуатаційних напруг на одній стороні обробки (рис. 6.). А це, у свою чергу, призводить до нерівномірної осадки тунелю.

Рис.4. Характер нерівномірної осадки тунелю

Fig. 4. Nature of the uneven settlement of the tunnel

Рис. 5. Сумарні деформації осадження тунелю
при 30 %-му підмиву, мм

Fig. 5. Total deformations of the tunnel precipitation
at 30% of washout, mm

Рис. 6. Нерівномірний напружений стан обробки при розмиванні основи при 30 %-му підмиву, тм/м

Fig. 6. Uneven stress state of the treatment when the water erosion of base at 30% of washing-out, t m/m

За результатами розрахунків була побудована залежність можливого крену від утвореного нерівномірного перепаду рівня підземних вод по обидва боки тунелю (рис. 7).

З рисунку 7 видно, що відхилення тунелю при розмиванні основи носить нелінійний характер. При чому в самих екстремальних умовах, коли з одного боку намивні ґрунти повністю знаходяться у водонасиченому стані, а з іншого боку водонасиченні ґрунти знаходяться на рівні підошви тунелю (тобто перед переливом через склепіння обробки), без розмиву підошви відхилення тунелю від осі становить 62,09 мм. Відповідно зі збільшенням ступеню розмивання ґрунту в основі тунелю, крен буде збільшуватись і становить: при 10 % розмиві основи відхилення тунелю 81,23 мм; при 20 % – 118,08 мм; при 30 % – 175,83 мм; при 40 % – 260,26 мм.

Рис. 7. Відхилення тунелю від вертикальної
осі в залежності від градієнта уклону рівня
підземних вод

Fig. 7. Deviation of the tunnel from
the vertical axis depending on the gradient of groundwater level

Наукова новизна та практична
значимість

Авторами роботи вперше встановлено залежність відхилення тунелю метрополітену мілкого закладання від вертикальної осі від градієнта уклону рівня підземних вод, що виникає за рахунок розмивання ґрунтової основи під протилежною до напрямку потоку стінки обробки. Цей процес призводить до вторинного осідання, носить нелінійний характер і для нестійких намивних ґрунтів м. Києва коливається (у межах від 62,09 мм до 260,26 мм в залежності від ступеня розмиву підошви тунелю).

Визначені умови виникнення вторинного осідання тунелю метрополітену, яке виникає внаслідок нерівномірного навантаження на лоткову частину тунелю (за рахунок локального перепідйому ґрунтових вод уздовж бокової стінки тунелю), та встановлено характер протікання деформацій в період експлуатації тунелів мілкого закладання.

На стадії проектування ліній метрополітену мілкого закладання необхідно враховувати можливість нерівномірного осідання від дії гідростатичного тиску в період експлуатації. Це дозволить уникнути додаткових деформацій у сезонний період, зменшити кількість поточних ремонтів та підвищити надійність і термін експлуатації конструкцій обробки тунелів.

Висновки

1. У процесі технологічного спорудження та під дією безнапірних підземних вод стійкість суцільносекційної обробки забезпечується завдяки рівномірному гідростатичному обтисканню обробки, а осідання при цьому знаходяться в межах допустимих значень.

2. У місцях перетину підземного потоку і споруди тунелю можуть виникати перетікання води через перекриття тунелю з наступним одностороннім розмиванням грантової основи, що призводить до втрати поперечної стійкості споруди і, як наслідок, до виникнення небезпечних концентрацій напруг в бічній і лотковій частині обробки.

СПИСОК ВИКОРИСТАНИХ ДЖЕРЕЛ

  1. Протосеня, А. Г. Метод прогноза напряженного состояния обделки перегонных тоннелей для инженерно-геологических условий г. Ханоя / А. Г. Протосеня, До Нгок Тхай // Изв. Тульского гос. ун-та. Науки о земле. – 2017. – Вып. 1. – С. 145–152.

  2. Стовпник, С. Н. Исследование взаимодействия цельносекционной обделки мелкого заложения с водонасыщенным намывным массивом при динамическом влиянии метропоезда / С. Н. Стовпник,
    Р. В. Пазюк // Строительство и архитектура : материалы междунар. науч.-практ. конф. (26–27 ноября 2015 г.). – Ростов-на-Дону, 2015. – Т. I. – С. 390–399.

  3. Стовпник, С. М. Напружено-деформований стан обробки тунелю метрополітену мілкого закладання в водонасичених пісках / С. М. Стовпник, С. В. Бородай, В. Г. Кравець // Енергетика. Екологія. Людина : Третя наук.-техн. конф. (14 квітня 2011 р.). – Київ, 2011. – С. 112114.

  4. Al-Baali, M. A Note on Using Partitioning Techniques for Solving Unconstrained Optimization Problems on Parallel Systems / M. Al-Baali, C. Triki // SQU Journal for Science. – 2015. – Vol. 20, no. 2. – P. 1218.
    doi: 10.24200/squjs.vol20iss2pp12-18.

  5. Berset, N. Engineering Geology of Underground Excavation – Lötschberg Base Tunnel Case Study. Pt. 2 / NBerset. – Zürich : ETH Zurich, 2016. – 51 р.

  6. Comprehensive Prediction of Fissure Water in Extra-Long Deep Tunnel and Its Application [Електронний ресурс] / L. Li, S. Shi, S. Li, Z. Xu, Z. Zhou // Chinese Journal of Underground Space and Engineering. – 2013. – Vol. 9, no. 3. Режим доступу: http://en.cnki.com.cn/Article_en/CJFDTotal-BASE201303024.htm. – Назва з екрана. – Перевірено : 27.10.2017.

  7. Frequency anomaly of groundwater level before major earthquakes in Taiwan / T.-K. Yeh, C.-H. Chen,
    C.-H. Wang, S. Wen //
    Proc. of the Intern. Association of Hydrological Sciences (PIAHS) (12 Nov. 2015). – 2015. – Vol. 372. – P. 101104. doi:10.5194/piahs-372-101-2015.

  8. Infiltration into two-layered soil: the Green-Ampt and Averyanov models revisited. Transport in Porous Media / Ali Al-Maktoumi, A. Kacimov, S. Al-Ismaily, H. Al-Busaidi, S. Al-Saqri // Transport in Porous Media. – 2015. Vol. 109. – Iss 1. – P. 169–193. doi:10.1007/s11242-015-0507-8.

  9. Modelling of transient water table response to managed aquifer recharge: A Lagoon in Muscat, Oman /
    A.
    R. Kacimov, V. Zlotnik, A. Al-Maktoumi, R. Al-Abri // Environmental Earth Sciences Journal (Springer). – 2016. Vol. 75. – Iss. 4. – P. 318. doi:10.1007/s12665-015-5137-5.

  10. Porewater pressure control on subglacial soft sediment remobilization and tunnel valley formation: A case study from the Alnif tunnel valley (Morocco) / E. Ravier, J.-F. Buoncristiani, M. Guiraud [et al.] // Sedimentary Geology. – 2014. – Vol. 304. – Р. 71–95. doi: 10.1016/j.sedgeo.2014.02.005.

С. М. СТОВПНИК1*, А. Л. ГАН2*, Е. А. ЗАГОРУЙКО3*, Л. В. ШАЙДЕЦКАЯ4*

1*Каф. «Геостроительство и горные технологии», Национальный технический университет
Украины «Киевский политехнический институт имени Игоря Сикорского»,
ул. Борщаговская, 115/3, Киев, Украина, 03056,

тел. +38 (067) 848 59 77, эл. почта stansto@i.ua, ORCID 0000-0001-5664-8680
2*Каф. «Геостроительство и горные технологии», Национальный технический университет
Украины «Киевский политехнический институт имени Игоря Сикорского»,
ул. Борщаговская, 115/3, Киев, Украина, 03056,

тел. +38 (097) 653 05 66, эл. почта gan@geobud.kiev.ua, ORCID 0000-0003-0832-1338
3*Каф. «Геостроительство и горные технологии», Национальный технический университет
Украины «Киевский политехнический институт имени Игоря Сикорского»,
ул. Борщаговская, 115/3, Киев, Украина, 03056,

тел. +38 (063) 614 41 01, эл. почта zagoruyko@geobud.kiev.ua, ORCID 0000-0003-2710-3934
4*Каф. «Геостроительство и горные технологии», Национальный технический университет
Украины «Киевский политехнический институт имени Игоря Сикорского»,
ул. Борщаговская, 115/3, Киев, Украина, 03056,

тел. +38 (067) 447 59 14, эл. почта shaydetskaya_lubov@ukr.net, ORCID 0000-0002-6593-0255


ИССЛЕДОВАНИЯ ГИДРАВЛИЧЕСКОГО ВЛИЯНИЯ

НА ТЕХНОЛОГИЧЕСКУЮ УСТОЙЧИВОСТЬ МЕТРОТонНЕЛЯ

МЕЛКОГО ЗАЛОЖЕНИЯ В НАМЫВНЫХ МАССИВАХ

Цель. На основе анализа результатов компьютерного моделирования и лабораторных исследований в научной работе необходимо установить зависимость влияния изменений гидравлического уровня грунтовых вод на устойчивость обработки тоннелей метрополитена за счет развития деформаций окружающего намывного массива. Методика. Методическую основу комплекса исследований составляют анализ, обобщение известных научных результатов и практического опыта прогнозирования, предупреждения деформаций обработок тоннелей и окружающего грунтового массива, а также компьютерное моделирование критического напряженно-деформированного состояния обработки тоннеля при изменении гидравлического уровня грунтовых вод. Результаты. В процессе технологического сооружения и под действием безнапорных подземных вод при эксплуатации тоннелей линий метрополитена мелкого заложения устойчивость сплошь-секционной обработки обеспечивается благодаря равномерному гидростатическому обжатию, при этом осадки тоннеля находятся в пределах допустимых значений. Результаты исследований показывают, что при изменении уровня подземных вод с обеих сторон тоннеля может возникать разное гидростатическое давление. При этом появляется перераспределение напряжений грунтового массива вокруг поперечного сечения тоннеля, а это, в свою очередь, приводит к возникновению дополнительных неравномерных деформаций и раскрытия трещин обработки тоннеля во время эксплуатации. Научная новизна. Авторами работы впервые установлено влияние изменения гидростатического давления, которое может возникать вследствие колебания уровня подземных вод на сплошь-секционную обработку тоннелей линий метрополитена мелкого заложения за счет вторичного оседания грунта. Определены условия возникновения вторичного осадка грунта и установлен характер протекания деформаций в период эксплуатации тоннелей мелкого заложения. Практическая значимость. На стадии проектирования линий метрополитена мелкого заложения необходимо учитывать возможность неравномерной осадки от действия гидростатического давления в период эксплуатации. Это позволит избежать дополнительных деформаций в сезонный период, уменьшить количество текущих ремонтов, повысить надежность и увеличить срок эксплуатации конструкций обработки тоннелей.

Ключевые слова: устойчивость массива; напряженно-деформированное состояние; гидродинамическое влияние; обработка тоннеля; намывной массив

S. M. STOVPNYK1*, A. L. HAN2*, E. A. ZAHORUIKO3*, L. V. SHAIDETSKA4*

1*Dep. «Geochemistry and Mining Technologies», National Technical University of Ukraine
«Igor Sikorsky Kiev Polytechnic Institute», Borschagivska St., 115/3, Kyiv, Ukraine,
03056, tel. +38 (067) 848 59 77, e-mail stansto@i.ua,
ORCID 0000-0001-5664-8680
2*Dep. «Geochemistry and Mining Technologies», National Technical University of Ukraine
«Igor Sikorsky Kyiv Polytechnic Institute», Borschagivska St., 115/3, Kyiv, Ukraine,
03056, tel. +38 (097) 653 05 66, e-mail gan@geobud.kiev.ua,
ORCID 0000-0003-0832-1338
3*Dep. «Geochemistry and Mining Technologies», National Technical University of Ukraine
«Igor Sikorsky Kyiv Polytechnic Institute», Borschagivska St., 115/3, Kyiv, Ukraine, ,
03056, tel. +38 (063) 614 41 01, e-mail zagoruyko@geobud.kiev.ua,
ORCID 0000-0003-2710-3934
4*Dep. «Geochemistry and Mining Technologies», National Technical University of Ukraine
«Igor Sikorsky Kiev Polytechnic Institute», Borschagivska St., 115/3, Kyiv, Ukraine,
03056, tel. +38 (067) 447 59 14, e-mail shaydetskaya_lubov@ukr.net,
ORCID 0000-0002-6593-0255


RESEARCH OF HYDRAULIC IMPACT ON THE TECHNOLOGICAL

STABILITY OF SHALLOW METROTUNNEL IN DREDGING MASSIVES


Purpose. On the basis of the results analysis of the computer simulation and laboratory studies it is necessary to determine the changes impact dependence of the hydraulic level of groundwater on the tunnels processing stability in the underground due to the deformations development of the surrounding dredging massif. Methodology. The methodological basis of the research complex consists of the analysis, generalization of known scientific results and practical experience of forecasting and preconditioning of deformations of tunnel and surrounding soil mass processing, as well as computer simulation of the critical stress-strain state of the tunnel processing at changes in the hydraulic level of groundwater. Findings. In the process of technological construction and under the non-pressure groundwaters impact, when operating tunnels of subway lines of shallow foundation, the stability of all-section machining is ensured due to the uniform hydrostatic reduction of processing. At this the sediments are within the permissible values. The results of the research show that different levels of hydrostatic pressure can occur when the groundwater level changes from both sides of the tunnel. At the same time, there is a redistribution of stresses of the soil mass around the cross section of the tunnel, which, in turn, leads to the appearance of additional non-uniform deformations and the opening of cracks in the tunnels during operation. Originality. The authors of the work firstly established the effect of changes in hydrostatic pressure, which may arise due to fluctuations in the level of groundwater on the whole-section processing of tunnels of metro lines of shallow foundation due to secondary sedimentation. The conditions of occurrence of the secondary sediment have been determined and the nature of the deformation course has been established during the operation of the shallow subway. Practical value. At the stage of designing the metro lines of the shallow foundation, it is necessary to take into account the possibility of uneven precipitation from the action of hydrostatic pressure during operation. This will avoid additional deformations during the seasonal period, reduce the number of current repairs, increase reliability and the useful life of the tunnel processing structures.

Keywords: stability of the massif; stress-strain state; hydrodynamic effect; processing of a tunnel; dredging massif

REFERENCES

  1. Protosenya, A. G., & Thai, Do Ngoc (2017). Method of forecasting interstation tunnel lining stress condition for geological conditions of Hanoi. News of the Tula state university. Sciences of Earth, 1, 145-152.

  2. Stovpnyk, S. N., & Pazyuk, R. V. (2015). Investigation of the interaction of a single-section decoration of a shallow formation with a water-saturated dipping massif under the dynamic influence of the metro-train. Proceedings of the International Conference on Construction and architecture-2015, Rostov-on-Don, November 26-27, 2015 (pp. 390-393). Rostov-on-Don: Editorial and Publishing Center RSSU.

  3. Stovpnyk, S. N., Borodai, S. V., & Kravets, V. G. (2011). The stressed-deformed state of the underground tunnel processing of shallow watering in water-saturated sands. Proceedings of the Third scientific and technical conference «Power engineering. Ecology. Man», April 14, 2011, Kyiv (pp. 112-114). Kyiv: NTUU KPI.

  4. Al-Baali, M., & Triki, C. (2015). A Note on Using Partitioning Techniques for Solving Unconstrained Optimization Problems on Parallel Systems. SQU Journal for Science, 20 (2), 12-18. doi:10.24200/squjs.vol20iss2pp12-18

  5. Berset, N. (2016). Engineering Geology of Underground Excavation - Lötschberg Base Tunnel Case Study Part 2. Zürich: ETH Zurich.

  6. Li, L., Shi, S., Li, S., Xu, Z., & Zhou, Z. (2013). Comprehensive Prediction of Fissure Water in Extra-Long Deep Tunnel and Its Application. Chinese Journal of Underground Space and Engineering, 3, 024.

  7. Yeh, T.-K., Chen, C.-H., Wang, C.-H., Wen, S. (2015). Frequency anomaly of groundwater level before major earthquakes in Taiwan. Proceedings of the International Association of Hydrological Sciences, 372, 101-104. doi:10.5194/piahs-372-101-2015

  8. Al-Maktoumi, A., Kacimov, A., Al-Ismaily, S., Al-Busaidi, H., & Al-Saqri, S. (2015). Infiltration into two-layered soil: the Green-Ampt and Averyanov models revisited. Transport in Porous Media, 109(1), 169-193. doi:10.1007/s11242-015-0507-8

  9. Kacimov, A. R., Zlotnik, V., Al-Maktoumi, A., & Al-Abri, R. (2016). Modelling of transient water table response to managed aquifer recharge: A Lagoon in Muscat, Oman. Environmental Earth Sciences, 75(4). doi:10.1007/s12665-015-5137-5

  10. Ravier, E., Buoncristiani, J.-F., Guiraud, M., Menzies, J., Clerc, S., Goupy, B., & Portier, E. (2014). Porewater pressure control on subglacial soft sediment remobilization and tunnel valley formation: A case study from the Alnif tunnel valley (Morocco). Sedimentary Geology, 304, 71-95. doi: 10.1016/j.sedgeo.2014.02.005


Стаття рекомендована до друку д.т.н., проф. С. В. Зайченком (Україна);
д.т.н., доц.
О. Л. Тютькіним (Україна)


Надійшла до редколегії: 06.06.2017

Прийнята до друку:12.09.2017



doi 10.15802/stp2017/114357 © С. М. Стовпник, А. Л. Ган, Є. А. Загоруйко, Л. В. Шайдецька, 2017