ISSN 2307–3489 (Print), ІSSN 2307–6666 (Online)

Наука та прогрес транспорту. Вісник Дніпропетровського
національного університету залізничного транспорту, 2017, № 5 (71)



ПРОМИСЛОВИЙ ТРАНСПОРТ

ПРОМИСЛОВИЙ ТРАНСПОРТ

УДК 621.181

А. А. Редько1*, И. А. Редько2*

1*Каф. «Теплогазоснабжение, вентиляция и использование тепловых вторичных энергоресурсов»,
Харьковский национальный университет строительства и архитектуры, ул. Сумская, 40,
Харьков, Украина, 61002, тел. +38 (057) 700 16 40, эл. почта andrey.ua-mail@ukr.net,
ORCID 0000-0003-2331-7273
2*Каф. «Эксплуатация газовых и тепловых систем», Харьковский национальный университет
городского хозяйства имени А. Н. Бекетова, ул. Маршала Бажанова, 17, Харьков,
Украина, 61002, тел. +38 (050) 400 77 99, эл. почта germes_s2006@ukr.net,
ORCID 0000-0002-9863-4487

Интенсификация теплообмена

в высокотемпературном кипящем слое

Цель. Данная работа направлена на экспериментальное исследование теплообмена в высокотемпературном кипящем слое с крупными частицами для того, чтобы обеспечить выполнение экологических требований к системам теплоснабжения. Методика. Для решения поставленной задачи разработана экспериментальная установка, обеспечивающая проведение исследований при температуре кипящего слоя и пульсирующего кипящего слоя в диапазоне 800–1 000 °С. Температура кипящего слоя обеспечивалась путем сжигания природного газа и древесных отходов. В качестве материала слоя использовались песок и шамот с размером частиц от 1,0 до 5,0 мм. Коэффициент теплоотдачи от слоя к поверхности, погруженной в слой, и плотность теплового потока измерялись калориметрическим методом при стационарном режиме. Исследовались гладкие и поперечно оребренные трубы с различной высотой и шагом ребер. Опыты в высокотемпературном пульсирующем кипящем слое проводились при пульсирующем сжигании природного газа либо в подрешеточной камере, в которую раздельно подавались природный газ и воздух. Частота пульсаций горения обеспечивалась системой автоматики. Частота вспышки регулировалась в диапазоне от 0,14 до 5 Гц. Результаты. Представлены результаты физического моделирования оценки коэффициентов теплоотдачи гладких и оребренных труб в кипящем слое крупных частиц при сжигании древесных отходов и газообразного топлива. Показано, что коэффициент теплоотдачи с повышением температуры возрастает в 2–2,5 раза, и в слое с диаметром частиц 2,5–5 мм составляет 300–350 Вт/(м2 К), что значительно выше, чем для слоевых топок. Результаты опытов представлены в виде обобщенной зависимости, учитывающей диаметр частиц и значение коэффициента оребрения. Теплоотдача оребренных труб на 15–20 % ниже, чем гладких труб, но плотность теплового потока, отнесенная к площади оребренной трубы, равна 0,12–0,20 МВт/м2, что выше, чем для гладких труб. При пульсирующей подаче топлива с частотой 1–2 Гц коэффициент теплоотдачи возрастает от 10–15 % до 25–30 %. При частоте пульсаций от 2 до 5 Гц коэффициент теплоотдачи изменяется от 510 до 570 Вт/(м2/К). При дальнейшем увеличении частоты пульсаций коэффициент теплоотдачи уменьшается и составляет 515–520 Вт/(м2/К). Показано существенное влияние скважности пульсаций от 0,8 до 0,3: коэффициент теплоотдачи увеличивается на 30–35 %. Однако, при этом наблюдается неустойчивый режим горения газовоздушной смеси и выброс частиц материала из слоя. Результаты опытов представлены в виде обобщенной зависимости. Научная новизна. Авторами представлены впервые полученные опытные данные значений коэффициентов теплоотдачи оребренных труб в кипящем слое и пульсирующем кипящем слое крупных частиц при температуре слоя 800–1100 оС. Практическая значимость. Полученные в работе результаты позволяют разрабатывать топочные устройства с низкотемпературным кипящим слоем путем погружения в слой оребренных трубчатых поверхностей. Опытные данные обобщены и представлены
в критериальном виде, удобном для практического использования.

Ключевые слова: теплообмен; кипящий слой; оребренные поверхности; пульсирующий кипящий слой; теплоотдача; критериальные уравнения

Введение

Решение проблемы энергосбережения и повышения эффективности использования топлива возможно путем применения технологии сжигания топлива различного вида в низкотемпературном кипящем слое (НКС). Применение технологии НКС обеспечивается размещением поверхности нагрева в кипящем слое. Однако, размещение в кипящем слое поверхностей нагрева для отвода теплоты слоя требует достоверных опытных данных о значениях теплоотдачи гладких и оребренных труб. В этой связи проблема эффективности теплообмена оребренных поверхностей в кипящем слое крупных частиц остается в числе особо актуальных. В последнее время в Украине вопросам интенсификации теплообмена и сжигания топлива уделяется недостаточно внимания. Сжигание твердого топлива ведется в слоевых, недостаточно эффективных топках. Технология сжигания низкосортного топлива в кипящем слое, получившая широкое развитие в 80-е годы прошлого столетия, не получила практического продолжения. Анализ литературных источников показал, что опытные данные по теплоотдаче поперечно-оребренных труб практически отсутствуют.

Цель

Данная работа направлена на экспериментальное исследование теплообмена в высокотемпературном кипящем слое крупных частиц для обеспечения выполнения экологических характеристик систем теплоснабжения.

Состояние проблемы

Эффективность процессов сжигания твердого топлива в кипящем слое, сопровождающихся отводом теплоты, значительно повышается при размещении в слое оребренных поверхностей [1].

Отсутствие точных аналитических решений потребовало широкого проведения экспериментальных исследований и разработки на их основе приближенных зависимостей.

Теплообмен оребренных поверхностей в кипящем слое изучался в работах [4, 7, 12, 15, 18, 23, 25]. При этом в работах [7, 16, 19, 23, 24] приведены результаты экспериментального исследования труб с поперечным круглым оребрением. Оребрение выполнено из меди и алюминия. В работе [24] исследуется эффективность круглого (зубчатого), у [7, 9, 11] – спирального оребрения. В работах [11, 25] изучался теплообмен труб с продольным оребрением. Возможность повышения интенсивности теплоотдачи путем применения различной формы насечек рассматривалась в работе [28]. В работах [3, 8, 10, 16, 27] изучался теплообмен гладких труб в высокотемпературном кипящем слое.

В работе [27] проведены исследования теплоотдачи и теплообменного элемента, выполненного в виде пластины с ребрами прямоугольного профиля. Толщина ребер от 6 до 14 мм, высота от 6 до 14 мм, шаг между ребрами 20 мм. Показано, что оптимальная высота ребер 8 мм. Максимальные значения коэффициента теплоотдачи получены при шаге между ребрами 12 мм.

В работе [26] также исследовался теплообмен одиночной трубы с поперечным круглым оребрением. Изучалось влияние высоты и толщины ребер, шага оребрения на интенсивность теплоотдачи. Дисперсный материал – стеклянные шарики диаметром от 0,4 до 0,8 мм. Высота ребра изменялась от 7,5 до 37,5 мм, шаг оребрения от 2 до 10 мм. Ребра изготовлены из меди толщиной от 0,5 до 2 мм. Результаты показали, что с увеличением высоты ребра коэффициент теплоотдачи уменьшается, увеличение его шага приводит к повышению коэффициента теплоотдачи, т. е. максимальные значения коэффициента теплоотдачи достигаются при меньшей высоте ребер и большем шаге. При этом коэффициент теплоотдачи уменьшается с высотой ребер, тем сильнее, чем тоньше ребра и чем меньше их теплопроводность. Результаты исследований позволили определить оптимальные геометрические характеристики оребрения: для медных ребер принимается толщина около 1 мм, высота 40 мм; для стальных ребер – толщина 1 мм, высота 20 мм; шаг оребрения – около 4 мм.

В работе [12] приведены результаты исследований труб с ребрами треугольного профиля в псевдоожиженном слое крупнодисперсного материала – песка d т = 0,25; 0,62 мм, шамотной крошки dт = 0,975 мм, зернах проса dт = 2,0 мм. Результаты исследований показывают, что интенсивность теплообмена возрастает с увеличением высоты ребер и уменьшением шага между ними.

Авторами работы [24] исследовалась теплоотдача поперечно- (зубчато-) оребренных труб в псевдоожиженном слое стеклянных шариков диаметром dт = 0,2–0,47 мм. Высота ребер изменялась до 22,2 мм. Толщина ребра равнялась 0,635 мм. Шаг между ребрами – 3,2 мм. Исследования показали, что интенсивность теплообмена увеличивается с увеличением высоты ребра до 25 мм, при дальнейшем увеличении высоты ребра, коэффициент теплоотдачи повышается медленнее. Взаимное расположение труб в пучке оказывает влияние на расстоянии до 50,8 мм. Подтверждается вывод, что коэффициент теплоотдачи увеличивается с уменьшением диаметра частиц.

В работе [4] изучалась теплоотдача шахматного пучка горизонтальных стальных труб в псевдоожиженном слое крупнодисперсного материала (алюмосиликагеля) с диаметром частиц 2,8–4 мм (эквивалентный диаметр dэ = 3,5 мм). Рассматривался пучок стальных труб диаметром D = 39 мм в количестве 14 труб, расположенных в три ряда, оребрение пучка – приварное ленточное стальное – высотой 8 мм, толщиной 0,9 мм, шаг между ребрами – 6,8 мм. Шаг размещения труб в пучке S = 80 мм. Результаты измерений показали, что коэффициент теплоотдачи равнялся 230–280 Вт/(м2. К) и в диапазоне скорости воздуха 1,28–1,8 м/с не зависил от скорости псевдоожижения.

Таким образом, анализ результатов экспериментальных исследований, выполненных различными авторами, показал, что применение оребрения позволяет значительно повысить (в 3–5 раза) интенсивность теплообмена между псевдоожиженным слоем и поверхностью. Исследования теплообмена выполнены, в основном, для одиночной оребренной трубы и мелкодисперсного материала dт=0,4–0,8 мм, исследования с крупнодисперсным материалом носят частный характер (для некоторых типов поперечного оребрения). Интенсивность теплообмена оребренных труб в пучке на 10–15 % ниже по сравнению с одиночной трубой, при этом компоновка труб в шахтном или коридорном пучке практически не влияет на коэффициент теплоотдачи, но при высоких скоростях и малом шаге рекомендуется шахматное расположение труб, при этом коэффициент теплоотдачи практически не зависит от вертикального шага. Изменение шага размещения труб в пучке в широком интервале (при S>2,2) не влияет на эффективность теплообмена. Степень интенсификации теплообмена не зависит от размеров и формы теплообменной поверхности, слабо зависит от скорости воздуха, а определяется, в основном, размером и плотностью частиц, при этом теплосъем с оребренной поверхности трубного пучка возрастает пропорционально коэффициенту оребрения.

В работах [3, 8, 16] указывается, что коэффициент теплоотдачи в пульсирующем слое на 15–20 % выше, чем в кипящем слое. Однако работы по исследованию процессов интенсификации малочисленны, опытные данные разрознены.

Высокая температура в топке с кипящим слоем двояко определяет интенсивность внешнего теплообмена: происходит изменение теплофизических свойств дисперсного материала и ожижающего газа, а также существенным становится лучистый теплоперенос [12, 15–19, 28]. Это свидетельствует о слабом влиянии на степень теплообмена черноты, структуры слоя, которая изменяется в зависимости от скорости газа и положения теплообменника. Степень черноты кипящего слоя не зависит от концентрации излучающих газов в продуктах сгорания. Результаты опытов показывают, что основными характеристиками дисперсной системы, определяющими ее излучательные свойства, являются характеристики материала частиц и распределение температуры в системе.

Приведенный коэффициент теплоотдачи уменьшается с высотой ребер тем сильнее, чем тоньше ребра и чем меньше их теплопроводность. Коэффициент теплоотдачи на ребре практически не зависит от толщины ребра, возрастает с увеличением шага между ребрами, уменьшается с увеличением высоты ребер. Рекомендации различных авторов по выбору оптимальной геометрии оребрения противоречивы. Опытные данные по теплообмену оребренных труб в высокотемпературном кипящем слое практически отсутствуют.

Таким образом, эффективность теплообмена поверхности нагрева, размещенной в кипящем слое, может быть достаточно высокой (230–300 Вт/(м2. К), достигая 500–600 Вт/(м2. К). Интенсификация теплообмена обеспечивается применением оребренных (развитых) теплообменных поверхностей и пульсирующей подачей ожижающего газа.

Методика исследования

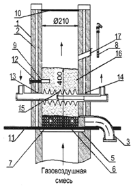
Опыты проводились на экспериментальной установке, представляющей собой теплообменную камеру круглого сечения диаметром 210 мм, высотой 1,0 м (рис. 1). Температура кипящего слоя варьировалась за счет сжигания в нем древесных отходов и газовоздушной смеси непосредственно в слое дисперсного материала. В качестве материала слоя использовались песок и шамот. Экспериментальное исследование теплообмена в кипящем слое проводилось при температуре 1073–1373 К.

Рис. 1. Схема лабораторной установки:
1 – кладка; 2 – засыпка; 3 – желоб;
5 – газораспределительная решётка; 6 – слой
неподвижных частиц;
7 – газовая горелка;
8 – запальник; 9 – термопара слоя; 10 – отбойная решётка; 11 – рабочая площадка; 12 – датчик-калориметр;
13, 14 – термопара; 15 – термопара поверхности
датчика;
16 – слой; 17 – смотровое стекло

Fig. 1. Scheme of laboratory installation:
1 – laying; 2 – backfilling; 3 – trough;
5 – gas distribution grating; 6 – layer of fixed particles;
7 – gas burner; 8 – igniter; 9 – thermocouple layer;
10 – baffle grating; 11 – working platform;
12 – sensor-calorimeter; 13, 14 – thermocouple;
15 – sensor surface thermocouple;
16 – layer; 17 – sight glass

Камера выполнена из огнеупорного кирпича. В боковой стене камеры имелся желоб для ссыпания материала слоя. Над теплообменной камерой располагался короб вытяжной вентиляции.

В качестве газораспределительного устройства применялась плоская перфорированная керамическая решетка живым сечением 1,5 %. Подача воздуха в теплообменную камеру осуществлялась двумя напорными вентиляторами типа ВВД-5. На высоте 50 мм от газораспределительного устройства в камере располагались две подовые горелки низкого давления. Температура КС поддерживалась в пределах 800–1100 оС. Температура слоя измерялась дифференциально включенной ХК-термопарой.

Пульсации газового потока осуществлялись при помощи электромагнитных клапанов и пульсатора роторного типа.

Размещенный в кипящем слое датчик обеспечивал измерение суммарного коэффициента теплоотдачи от слоя к поверхности стационарным калориметрическим методом:

, (1)

где MB, CP, , – соответственно массовый расход и теплоемкость воды, температура воды на выходе и входе в калориметр. FOP – площадь оребренной поверхности; tKC – температура кипящего слоя; tCT – температура стенки калориметра.

Калориметр представлял собой оребренную трубу. В качестве теплоносителя использовали воду с температурой 10–20 °С.

Опыты в пульсирующем кипящем слое проводили следующим образом. Ожижение слоя осуществляется продуктами пульсирующего сжигания природного газа, которое происходит либо в слое, либо в подрешеточной камере, представляющей собой цилиндрическое пространство объемом 50–500 см3. Объем пульсирующей камеры сгорания газа изменяется путем заполнения его крупным дисперсным материалом. В камере сгорания имеется два отверстия для подвода воздуха и газа, а также две запальные свечи системы зажигания. На трубопроводах подачи воздуха и газа имеются электромагнитные клапаны, предотвращающие проникновение ударной волны при возгорании газовоздушной смеси и регулирующие подачу воздуха и газа. Для измерения расхода воздуха используется ротаметр РС-3, а для измерения расхода газа – счетчик типа «Rombach», по показаниям которых устанавливается необходимое соотношение газа и воздуха (0,9–1,8). Система зажигания пульсирующей камеры сжигания состоит из блока радиоэлектронных элементов, позволяющих регулировать частоту вспышки от 5 до 0,14 Гц, частоту подачи газа и воздуха, двух запальных свечей, универсального блока питания от сети переменного тока
220 В и постоянного тока 12 В.

Результаты исследования

Результаты измерений теплоотдачи гладкой и оребренной труб показаны на рис. 2.

Зависимость коэффициента теплоотдачи от скорости ожижающего газа в высокотемпературном кипящем слое аналогична зависимости коэффициента теплоотдачи в слое при низких температурах Tкс до 423 К. В опытах выбирались скорости продуктов сгорания, при которых коэффициент теплоотдачи имел бы максимальное значение, например, для песка w=0‚5–2‚0 м/с, для шамота dэ=2,81 мм, w=0‚7–2‚5 м/с. С повышением температуры кипящего слоя до 973–1223 К коэффициент теплоотдачи возрастает в 2,0–2,5 раза и в слое шамота с диаметром частиц dT=2,5–5 мм составит 300–350 Вт∕(м2·К), что значительно выше, чем для слоевых топок. Сравнение расчетных и опытных данных удовлетворительное (рис. 2). Теплоотдача оребренной трубы (hp·Sp= 10×20 мм) на 15–20 % ниже значений теплоотдачи гладкой. При этом измерение температурного режима ребер показало, что температура в вершине ребра высотой 20 мм и выше достигает значений 873–973 К, что для ребер из материала Ст. 20 является недопустимым. Более благоприятен температурный режим ребер высотой 10 мм, температура которых менее 723–673 К.

Повышение температуры кипящего слоя приводит к значительному увеличению плотности теплового потока на поверхности нагрева (рис. 3).

Рис. 2. Зависимость суммарного коэффициента теплоотдачи гладких труб от температуры слоя:
– шамот, dэ=2‚81мм; – песок, dт=1‚0–1‚5‚ tст=134 – 355˚C [12]; – шамот, dт=2‚0-5‚0 [10];
α – расчет по [2, 18]

Fig. 2. Dependence of the total heat transfer coefficient of smooth pipes on the layer temperature:
– chamotte, d = 2.81 mm;
– sand, dт = 1.0–1.5, tст = 134–355° C [12];
– chamotte, dт = 2.0–5.0 [10];
α – calculation according to [2, 18]

Рис. 3. Зависимость плотности теплового
потока от температуры слоя:
– гладкая труба, песок, шамот, dэ=2‚81мм;
– поперечное оребрение, hp·Sp=10·20; шамот,
dэ=2‚81; а – расчет по [2, 18]

Fig. 3. Dependence of the heat flux density
on the layer temperature:
– smooth pipe, sand, chamotte, dэ=2.81 mm;
– transverse finning, hp·Sp=10·20; chamotte,
dэ=2.81; а – calculation by [2, 18]

Так, для гладкой трубы плотность теплового потока составляет qmax=0,15–0,2 МВт/м2 в слое шамота dт=2‚5–5‚0 мм при температуре слоя 973–1223 К. Теплоперенос оребренных труб выше, и средняя плотность теплового потока на поверхности несущей трубы достигает значений 0,25–0,40 МВт∕м2. Плотность теплового потока, отнесенная к площади оребренной трубы, равна 0,12–0,25 МВт∕м2. При этом локальная плотность (например, в основании ребра) может превышать данные значения и вызывать значительные термические напряжения. Поэтому возрастают требования к материалу оребренных поверхностей и к выбору оптимальных геометрических параметров оребрения (в основном к выбору высоты ребер). Существенное влияние на теплоотдачу оказывает температура стенки трубы. Так, в кипящем слое постоянной температуры (973–1223 К) повышение температуры стенки (путем изменения расхода охлаждающей воды) до значений 573–673 К приводит к увеличению коэффициента теплоотдачи в 1,3–1,5 раза по сравнению со значением αΣ при Tст=253–423 К. Дальнейшее повышение температуры стенки не приводит к значительному повышению коэффициент теплоотдачи.

Результаты экспериментального исследования теплоотдачи оребренных труб в высокотемпературном кипящем слое при температуре 9731223 К показаны на рис. 2 и обобщены в виде зависимости аналогично [5].

. (2)

Таким образом, применение оребрения погруженных в кипящий слой горизонтальных труб при Tкс=1023–1273 К обеспечивает достижение высоких коэффициентов теплообмена, равных 800–900 Вт/(м2 К), и увеличивает теплоперенос по сравнению с гладкой трубой
в 2,5–3,0 раза.

Исследовалась теплоотдача оребренной (hp·Sp=10·20 мм) и гладкой трубы в пульсирующем слое. Зависимость коэффициента теплоотдачи от средней скорости сжижающего газа в пульсирующем слое носит практически такой же характер, как и для стационарного слоя.

Результаты экспериментов приведены на рис. 4.

Рис. 4. Зависимость коэффициента теплоотдачи оребренной трубы от частоты пульсирующего слоя:
φ=0‚3; dэ=2‚81мм; hp·Sp=10·20мм;
φ=0‚8; dэ=2‚81мм; hp·Sp=10·20мм

Fig. 4. Dependence of the heat transfer coefficient
of the finned tube on the frequency
of the pulsating layer:
φ=0.3; dэ=2.81 mm; hp·Sp=10·20 mm;
φ=0.8; dэ=2.81 mm; hp·Sp=10·20 mm

Особенностью пульсирующего слоя является то, что αmax наблюдается при скоростях, значительно меньших, чем в кипящем слое. Так, если в кипящем слое с частиц шамота (dэ=2‚81 мм) значение αmax фиксировались при скорости псевдоожижения 1,61,8 м/с, то в пульсирующем слое значение αmax достигались при средней скорости wср =0,5м/с и скважности потока φ=0‚3. Максимальный коэффициент теплоотдачи оребренной трубы в пульсирующем слое на 20–30 % больше, чем в стационарном кипящем слое. С уменьшением диаметра частиц кипящего слоя от 2,81 до 0,71 мм теплообмен увеличивается в 1,3–1,5 раза.

Коэффициент теплоотдачи практически слабо зависит от частоты пульсаций. Так, если при ν=0‚5 Гц αmax=510 Вт∕(м2 К), то при ν=2‚0 Гц αmax=560–570 Вт/(м2 К). При дальнейшем увеличении частоты пульсаций до 10 Гц коэффициент теплоотдачи уменьшался до 515–520 Вт/(м2 К). Таким образом, при пульсирующей подаче газовоздушной смеси с частотой 1,0–2,0 Гц коэффициент теплоотдачи возрастает на 10–15 %, при дальнейшем увеличении частоты пульсаций до 10 Гц теплообмен пульсирующего слоя практически не отличается от теплообмена в стационарном кипящем слое. Теплообмен горизонтальных оребренных труб в высокотемпературном пульсирующем слое характеризуется достижением максимальных значений коэффициента теплоотдачи (на 20–30 % выше, чем в стационарном кипящем слое) при более низких значениях средней скорости сжижающего газа; наблюдается зависимость коэффициента теплоотдачи (увеличение на 10–15 %) от частоты пульсаций в диапазоне 1,0–2,0 Гц; с уменьшением скважности пульсаций от 0,8 до 0,3 теплообмен увеличивается на 30–35%, т.е. наиболее существенна интенсификация теплообмена пульсациями при скважности 0,25–0,35; с уменьшением диаметра частиц слоя от d = 2,81 мм до d = 0,71 мм, при частоте ν =0,5 Гц и скважности пульсаций φ = 0,3 коэффициент теплоотдачи увеличивается в 1,3–1,5 раза; повышение температуры пульсирующего слоя на 200 С и стенок трубы на 100 С приводит к увеличению теплопереноса на 25–30%.

Опытные данные удовлетворительно описываются расчетной зависимостью.

. (3)

Научная новизна и практическая
значимость

Работы в данном направлении велись зарубежными исследователями [20–22, 29].

Авторами представлены впервые полученные опытные данные о значениях коэффициентов теплоотдачи оребренных труб в кипящем слое и пульсирующем кипящем слое с крупными частицами при температуре слоя 800–1 100 оС.

Полученные в работе результаты позволяют разрабатывать топочные устройства с низкотемпературным кипящим слоем, путем погружения в слой оребренных трубчатых поверхностей. Опытные данные обобщены и представлены в виде критериев, что удобно для практического использования.

Выводы

Таким образом, теплообмен горизонтальных оребренных труб в высокотемпературном пульсирующем слое характеризуется достижением максимальных значений коэффициента теплоотдачи (на 20–30 % выше, чем в стационарном кипящем слое) при более низких значениях средней скорости сжижающего газа; наблюдается зависимость коэффициента теплоотдачи (увеличение на 10–15 %) от частоты пульсаций в диапазоне 1,0–2,0 Гц; с уменьшением скважности пульсаций от 0,8 до 0,3 теплообмен увеличивается на 30–35 %, т.е. наиболее существенна интенсификация теплообмена пульсациями скважностью 0,25–0,35; с уменьшением диаметра частиц слоя от 2,81 мм до 0,71 мм при частоте 0,5 Гц и скважности пульсаций 0,3 коэффициент теплоотдачи увеличивается в 1,3–1,5 раза; повышение температуры пульсирующего слоя и стенок трубы приводит к увеличению теплопереноса на 25–30 %.



СПИСОК ИСПОЛЬЗОВАННЫХ ИСТОЧНИКОВ

  1. Баскаков, А. П. Котлы и топки с кипящим слоем / А. П. Баскаков, В. В. Мацнев, И. В. Распопов. – Москва : Энергоатомиздат, 1996. – 352 с.

  2. Баскаков, А. П. Лучистый теплообмен в кипящем слое при псевдоожижении газом / А. П. Баскаков, Ю. М. Голдобин // Изв. АН СССР. Серия: Энергетика и транспорт. – 1970. – № 4. – С. 163–168.

  3. Бокун, И. А. Теплообмен между пульсирующим слоем и поверхностью нагрева / И. А. Бокун,
    Я. П. Шлапкова // Тез. докл. Минского междунар. форума по тепло- и массообмену / Институт тепло-
    и массообмена им. А. В. Лыкова НАН Беларуси. – Минск, 1988. – Т. 5. – С. 54–55.

  4. Гальперин, Н. И. О теплообмене между ребристыми трубами и псевдоожиженным слоем зернистого материала / Н. И. Гальперин, В. Г. Айнштейн, И. Н. Тоскубаев // Химия и технология топлив и масел. – 1972. – № 9. – С. 42–43.

  5. Забродский, С. С. Высокотемпературные установки с псевдоожиженным слоем / С. С. Забродский. – Москва : Энергия, 1971. – 389 с.

  6. Ильченко, А. И. Исследование радиационно-кондуктивного теплообмена в кипящем слое : дис. … канд. техн. наук / Ильченко А. И. ; АН Белорус. ССР , Ин-т тепло- и массообмена. – Минск, 1968. – 153 с.

  7. Исследование теплообмена в гладкотрубных и оребренных шахматных пучках труб в топках кипящего слоя и на моделях / В. Г. Мигай, В. Н. Шамякин, В. В. Манцев, И. В. Житомирская // Тепломассообмен в дисперсных системах. – Минск, 1980. – Т. 6, ч. 1. – С. 94–98.

  8. Исследование теплообмена между пульсирующим слоем и поверхностью / З. Н. Головина, Ю. Г. Брук, В. В. Соловьев, Г. П. Кучин // Теория и практика сжигания газа. – Ленинград, 1981. – С. 150–153.

  9. Исследование теплообмена шахтных пучков гладких и оребренных труб в кипящем слое / И. В. Житомирская, В. М. Мигай, Н. С. Рассудов, В. Н. Шемякин // Теплоэнергетика. – 1982. – № 1. – С. 49–51.

  10. Махорин, К. Е. Теплообмен в высокотемпературном кипящем слое / К. Е. Махорин, В. С. Пикашов, Г. П. Кучин. – Киев : Наук. думка, 1981. – 148 с.

  11. Мигай, В. М. Исследование теплообмена оребренных труб в кипящем слое / В. М. Мигай, Н. В. Зозуля, И. В. Житомирская // Энергомашиностроение. – 1984. – № 1. – С. 13–15.

  12. Пальченок, Г. И. Теплообмен между горизонтальной оребренной трубой и псевдоожиженным слоем крупных частиц / Г. И. Пальченок, А. И. Тамарин, С. С. Забродский // Тепломассообмен в дисперсных системах. – Минск, 1980. – Т. 6, ч. 1. – С. 89–98.

  13. Пальченок, Г. И. Теплообмен между горизонтальным пучком оребренных труб и псевдоожиженным слоем крупнодисперсного материала / Г. И. Пальченок // Исследование процессов переноса в дисперсных системах. – Минск, 1981. – С. 14–23.

  14. Панов, О. М. Исследование локального теплообмена по периметру горизонтальных цилиндров в высокотемпературном кипящем слое : дис. … канд. техн. наук / Панов О. М.; Уральск. политехн. ин-т. – Свердловск, 1977. – 113 с.

  15. Перенос тепла в топке кипящего слоя к горизонтальному шахтному трубному пучку / А. М. Тамарин, Ю. Г. Епаков, Е. С. Рассудов, В. Н. Шемякин // Энергомашиностроение. – 1977. – № 12. – С. 7–8.

  16. Рассудов, Н. С. О применении импульсной подачи воздуха в топках с кипящим слоем / Н. С. Рассудов, А. Е. Варламова // Теплоэнергетика. – 1983. – № 1. – С. 62–64.

  17. Рахманов, В. Б. Теплообмен в топке с низкотемпературным кипящим слоем при сжигании жидкого
    и твердого топлива : дис. … канд. техн. наук : 05.04.01 / Рахманов В. Б. ; Харьк. политехн. ин-т. – Харьков, 1983. – 205 с.

  18. Тоскубаев, И. Н. Исследование теплообмена между ребристыми поверхностями и псевдоожиженным слоем : автореф. дис. … канд. техн. наук : 05.17.08 / Тоскубаев И. Н. ; Моск. ин-т тонкой хим. технологии им. М. В. Ломоносова. – Москва, 1974. – 21 с.

  19. Харченко, Н. В. Исследование теплообмена между кипящим слоем и погруженным телом при высоких температурах : дис. … канд. техн. наук / Харченко Н. В. ; Институт газа АН УССР. – Киев, 1964. – 190 с.

  20. Effect of anti-wear beams on waterwall heat transfer in a CFB boiler / Linjie Xu, Leming Cheng, Jieqiang Ji, Qinhui Wang // International J. of Heat and Mass Transfer. – 2017. – Vol. 115. – P. 1092–1098.
    doi: 10.1016/j.ijheatmasstransfer.2017.08.085.

  21. Effect of furnace pressure drop on heat transfer in a 135 MW CFB boiler / Xuemin Liu, Man Zhang, Junfu Lu, Hairui Yang // Powder Technology. – 2015. – Vol. 284. – P. 19–24. doi: 10.1016/j.powtec.2015.06.019.

  22. Experimental and simulation study of heat transfer in fluidized beds with heat production / Z. Li,
    C. E. T. Janssen, K. A. Buist, N. G. Deen, M. van Sint Annaland, J. A. M. Kuipers // Chemical Engineering Journal. – 2017. – Vol. 317. – P. 242–257.
    doi: 10.1016/j.cej.2017.02.055.

  23. Jolley, J. J. Heat transfer in beds of fluidired solids // Fuel. – 1949. – No. 5, vol. 28. – P. 114–115.

  24. Krause, W. B. Heat transfer from horizontal serrated finned tubs in a air-fluidized bed of uniformly sized particles / W. B. Krause, A. R. Peters // Heat transf. – 1983. – Vol. 105. – P. 319–324. doi: 10.1115/1.3245581.

  25. Natusch, H. J. Zur Wärmeübertragung an horizontaben Lärgsrippenrohren in Gas / H. J. Natusch, M. Z. Blenke // Fliebbetten Verfahrenstechnik. – 1974. – Vol. 8, no. 10. – P. 287–293.

  26. Natusch, H. J. Zur Wärmeübertragung an Rippenrohren in Gas / H. J. Natusch, M. Z. Blenke // Fliebbetten Verfahrenstechnik. – 1973. – Vol.7, no. 10. – P. 293–296.

  27. Neukirchen, B. Oestaltung horizontalen Rohrbündel in Gas – Firbelschichtreak toren nah Warmetechischen Gesichtspunkten / B. Neukirchen, М. Blenko // Chem. Ing. Techn. – 1973. – Vol. 45. – P. 307–312.

  28. Petre, J. C. Heat Transfer In-bed Heat Exchangs / J. C. Petre, W. A. Treeby, J. A. Buckham // Chem. Eng. Progr. – 1968. – Vol. 64, no. 7. – P. 45–51.

  29. Study on heat transfer characteristics of the high temperature reheater tube panel in a 300 MW CFB boiler with fluidized bed heat exchanger / Xiaofeng Lu, Hu Wang, Wenqing Zhang, Quanhai Wang, Jianbin Chen, Yinhu Kang, Wei Kuang, Shengwei Xin, Changxu Liu, Xiong Xie // Applied Thermal Engineering. – 2015. – Vol. 81. – P. 262–270.

  30. The transfer from a horizontal discontinuans finned tube in fluidized bed / W. E. Genetti [et al.] // AIChE. – 1971. – Vol. 67, no. 116. – P. 85–89.

А. О. Редько1*, і. о. редько2*

1*Каф. «Теплогазопостачання, вентиляція та використання теплових вторинних енергоресурсів»,
Харківський національний університет будівництва та архітектури, вул. Сумська, 40, Харків,
Україна, 61002, тел. +38 (057) 700 16 40, ел. пошта andrey.ua-mail@ukr.net,
ORCID 0000-0003-2331-7273
2*Каф. «Експлуатація газових і теплових систем», Харківський національний університет
міського господарства імені О. М. Бекетова, вул. Маршала Бажанова, 17, Харків, Україна,
61002, тел. +38 (050) 400 77 99, ел. пошта germes_s2006@ukr.net , ORCID 0000-0002-9863-4487

інтенсифікація теплообміну

у високотемпературному киплячому шарі

Мета. Дана робота спрямована на експериментальне дослідження теплообміну в високотемпературному киплячому шарі великих частинок для того, щоб забезпечити виконання екологічних вимог до систем теплопостачання. Методика. Для вирішення поставленого завдання розроблена експериментальна установка, яка забезпечує проведення досліджень при температурі киплячого шару та пульсуючого киплячого шару в діапазоні 800–1000 С. Температура киплячого шару досягається шляхом спалювання природного газу і деревних відходів. Як матеріал шару використовувалися пісок та шамот із розміром частинок від 1,0 до 5,0 мм. Коефіцієнт тепловіддачі від шару до поверхні, зануреної у шар, і щільність теплового потоку вимірювалися калориметричним методом при стаціонарному режимі. Досліджувалися гладкі та поперечно оребрені труби з різною висотою й кроком ребер. Досліди у високотемпературному пульсуючому киплячому шарі проводилися при пульсуючому спалюванні природного газу в шарі або в підгратчастій камері, в яку окремо подавалися природний газ та повітря. Частота пульсацій горіння забезпечувалася системою автоматики. Частота спалаху регулювалася в діапазоні від 0,14 до 5 Гц. Результати. Представлені результати фізичного моделювання оцінки коефіцієнтів тепловіддачі гладких та оребрених труб у киплячому шарі великих частинок при спалюванні деревних відходів і газоподібного палива. Показано, що коефіцієнт тепловіддачі з підвищенням температури зростає у 2–2,5 рази, та в шарі з діаметром частинок 2,5–5 мм становить 300–350 Вт/(м2/К), що значно вище, ніж для шарових топок. Результати дослідів представлені у вигляді узагальненої залежності, що враховує діаметр частинок і значення коефіцієнта оребрення. Тепловіддача оребрених труб на 15–20 % нижче, ніж гладких труб, але щільність теплового потоку, віднесена до площі оребреної труби, дорівнює 0,12–0,15 МВт/м2, що вище, ніж для гладких труб. При пульсуючій подачі палива з частотою 1–2 Гц коефіцієнт тепловіддачі зростає від 10–15 % до 25–30 %. При частоті пульсацій від 2 до 5 Гц коефіцієнт тепловіддачі змінюється від 510 до 570 Вт/(м2/К). При подальшому збільшенні частоти пульсацій коефіцієнт тепловіддачі зменшується і становить 515–520 Вт/(м2/К). Показано суттєвий вплив шпаруватості пульсацій від 0,8 до 0,3: коефіцієнт тепловіддачі збільшується на 30–35 %. Однак, при цьому спостерігається нестійкий режим горіння газоповітряної суміші та викид частинок матеріалу з шару. Результати дослідів представлені у вигляді узагальненої залежності. Наукова новизна. Авторами представлені вперше отримані дослідні дані про значення коефіцієнтів тепловіддачі оребрених труб у киплячому шарі та пульсуючому киплячому шарі великих частинок при температурі шару 800–1100 С. Практична значимість. Отримані в роботі результати дозволяють розробляти топкові пристрої з низькотемпературним киплячим шаром шляхом занурення в шар оребрених трубчастих поверхонь. Дослідні дані узагальнені та представлені в критеріальному вигляді, зручному для практичного використання.

Ключові слова: теплообмін; киплячий шар; оребрені поверхні; пульсуючий киплячий шар; тепловіддача; критеріальні рівняння





А. O. redko1*, i. O. redko2*

1*Dep. «Heat and Gas Supply and Use of Termal Secondary Energy Resources»,
Kharkiv National University of Construction and Architecture, Sumskaya St., 40,
Kharkiv, Ukraine, 61002, tel. +38 (057) 700 16 40, e-mail andrey.ua-mail@ukr.net,
ORCID 0000-0003-2331-7273
2*Dep. «Gas and Heat Supply», O. M. Beketov National University of Urban
Economy in Kharkiv, Marshall Baganov St., 17, Kharkiv, Ukraine, 61002,
tel. +38 (050) 400 77 99, e-mail germes_s2006@ukr.net,
ORCID 0000-0002-9863-4487

INTENSIFICATION OF HEAT TRANSFER

IN A HIGH-TEMPERATURED FLUIDIZED BED

Purpose. This paper highlights experimental research of heat exchange in coarse particles to ensure the performance of ecological characteristics of Heat supply system. Methodology. The test stand has been developed to solve the defined task. It helps to do the research at the temperature of fluidizing bed and pulsating fluidizing bed at the range 800–1000 °С. The temperature of the fluidized bed was provided by burning natural gas and wood waste. Sand and chamotte with a particle size of 1.0 to 5.0 mm were used as the layer material. The heat-transfer coefficient from the layer to the surface, immersed in the layer, and the density of the heat flux were measured by a calorimetric method under steady-state conditions. Smooth tubes and transversely finned with different height and rib spacing were investigated. Experiments in a high-temperature pulsating fluidized bed were carried out with pulsating combustion of natural gas in a layer or in a sublattice chamber into which natural gas and air were separately supplied. The frequency of combustion pulsations was provided by the automation system. The flash frequency was regulated in the range from 0.14 to 5 Hz. Findings. It is presented the results of physical modeling to find out the heat-transfer coefficients of smooth and finned tubes in fluidizing bed of coarse particles in the process of wood waste and gaseous fuel combusting. It is proved that the coefficient of heat transfer increases with increasing temperature by 2–2,5 times in the bed which contains particles diameter of 2.5–5 mm is 300–350 Vt/(m2 К) that is much higher than for layer furnaces. The results of the experiments are presented in the form of a generalized relationship that takes into account the diameter of the particles and the value of the finning coefficient. Heat transfer of finned tubes is 15–20% less then smooth tubes but the density of heat flow referred to the area of a finned tube is 0,12–0,20 МVt/m2 that is higher than for smooth ones. At pulsating fuel supply with frequency 1-2 Hz the heat-transfer coefficient gets higher from 10–15% till 25–30%. At a ripple frequency of 2 to 5 Hz, the heat-transfer coefficient varies from 510 to 570 W/(m2K). With a further increase in the pulsation frequency, the heat-transfer coefficient decreases and amounts to 515–520 W/(m2K). A significant effect of the ripple pulsation from 0.8 to 0.3 is shown: the heat-transfer coefficient is increased by 3035%. However, an unstable combustion regime of the gas-air mixture and the ejection of material particles from the layer are observed. The results of the experiments are presented in the form of a generalized relationship. Originality. The authors have presented the obtained experimental data about heat-transfer coefficients of finned tubes in fluidizing bed and pulsing fluidizing bed of coarse particles at the temperature of layer 800–1100 оС. Practical value. The results obtained at the research help to develop furnace devices with low-temperature fluidizing bed in the process of immersion in a layer of finned tubes layers. The research data is presented in criterial view which is convenient for practical using.

Keywords: heat exchange; fluidizing bed; finned surfaces; pulsating fluidizing bed; heat transfer; criterial equation

References

  1. Baskakov, A. P., Matznev, V. V., & Raspopov, I. V. (1996). Kotly i topki s kipyashchim sloyem. Moscow: Energoatomizdat.

  2. Baskakov, A. P., & Goldobin, Y. M. (1970). Luchistyiy teploobmen v kipyaschem sloye pri psevdoozhizhenii gazom. Proceedings of Academy of Sciences. Power Engeneering and Transport, 4, 163-168.

  3. Bokun, I. A., & Shlapkova, Y. P. (1988). Teploobmen mezhdu pulsiruyuschim sloyem i poverhnostyu nagreva. In Proceedings of the Minsk International Forum Heat and Mass Transfer, Minsk, 1988, May 24-27, 5, (pp. 54-55). Minsk: ITMO im. A. V. Lykova AN BSSR.

  4. Galperin, N. I., Aynshteyn, V. G., & Toskubaev, I. N. (1972). O teploobmene mezhdu rebristyimi trubami i psevdoozhizhennym sloyem zernistogo materiala. Chemistry and Technology of Fuels and Oils, 9, 42-43.

  5. Zabrodskiy, S. S. (1971). Vysokotemperaturnyye ustanovki s psevdoozhizhennym sloyem. Moscow: Energia.

  6. Ilchenko, A. I. (1968). Issledovaniye radiatsionno-konduktivnogo teploobmena v kipyashchem sloye. (PhD thesis). Available from A. V. Luikov heat and mass transfer institute of the National Academy of Sciences of Belarus, Minsk.

  7. Migay, V. G., Shamyakin, V. N., Mantsev, V. V., & Zhitomirskaya, I. V. (1980). Issledovaniye teploobmena v gladkotrubnykh i orebrennykh shakhmatnykh puchkakh trub v topkakh kipyashchego sloya i na modelyakh. In Heat-Mass Exchange in Disperse Systems, 6 (1), 94-98.

  8. Golovina, Z. N., Brook, Y. G., Solovyev, V. V., & Kuchin, G. P. (1981). Issledovaniye teploobmena mezhdu pulsiruyushchim sloyem i poverkhnostyu. In Teoriya i praktika szhiganiya gaza. (pp. 150-153). Leningrad: Nedra.

  9. Zhitomirskaya, I. V., Migay, V. M., Rassudov, N. S., & Shemyakin, V. N. (1982). Issledovaniye teploobmena shakhtnykh puchkov gladkikh i orebrennykh trub v kipyashchem sloe. Teploenergetika, 1, 49-51.

  10. Makhorin, K. Y., Pikashov, V. S., & Kuchin, G. P. (1981). Teploobmen v vysokotemperaturnom kipyashchem sloye. Kyiv: Naukova Dumka.

  11. Migay, V. M., Zozulya, N. V., & Zhitomirskaya, I. V. (1984). Issledovaniye teploobmena orebrennykh trub v kipyashchem sloye. Energomashinostroeniye, 1, 13-15.

  12. Palchenok, G. I., Tamarin, A. I., & Zabrodskiy, S. S. (1980). Teploobmen mezhdu gorizontalnoy orebrennoy truboy i psevdoozhizhennym sloyem krupnykh chastits. Teplomassoobmen v dispersnykh sistemakh, 6 (1), 89-98.

  13. Palchenok, G. I. (1981 Teploobmen mezhdu gorizontalnym puchkom orebrennykh trub i psevdoozhizhennym sloem krupnodispersnogo materiala. In Issledovaniye protsessov perenosa v dispersnykh sistemakh. (pp. 14-23). Minsk: ITMO AN BSSR.

  14. Panov, O. M. (1977). Issledovaniye lokalnogo teploobmena po perimetru gorizontalnykh tsilindrov v vyso-kotemperaturnom kipyashchem sloe. (PhD thesis). Available from Ural Polytechnic Institute, Sverdlovsk.

  15. Tamarin, A. M. Epakov, Y. G., Rassudov, E. S., & Shemyakin, V. N. (1977). Perenos tepla v topke kipyashchego sloya k gorizontalnomu shakhtnomu trubnomu puchku. Energomashinostroyeniye, 12, 7-8.

  16. Rassudov, N. S., & Varlamova, A. E. (1983). O primenenii impulsnoy podachi vozdukha v topkakh s kipyashchim sloem. Teploenergetika, 1, 62-64.

  17. Rakhmanov, V. B. (1983). Teploobmen v topke s nizkotemperaturnym kipyashchim sloyem pri szhiganii zhidkogo i tverdogo topliva. (PhD thesis). Available from Kharkiv Polytechnic Institute, Kharkiv.

  18. Toskubaev, I. N. (1974). Issledovaniye teploobmena mezhdu rebristymi poverkhnostyami i psevdoozhizhennym sloyem. (PhD thesis). Available from Moscow Technological University, Moscow.

  19. Kharchenko, N. V. (1964). Issledovaniye teploobmena mezhdu kipyashchim sloyem i pogruzhennym telom pri vysokikh temperaturakh. (PhD thesis). Available from The Gas Institute of the National Academy of Sciences of Ukraine, Kyiv.

  20. Xu, L., Cheng, L., Ji, J., & Wang, Q. (2017). Effect of anti-wear beams on waterwall heat transfer in a CFB boiler. International Journal of Heat and Mass Transfer, 115 (B), 1092-1098. doi:10.1016/j.ijheatmasstransfer.2017.08.085

  21. Liu, X., Zhang, M., Lu, J., & Yang, H. (2015). Effect of furnace pressure drop on heat transfer in a 135 MW CFB boiler. Powder Technology, 284, 19-24. doi:10.1016/j.powtec.2015.06.019

  22. Li, Z., Janssen, T. C. E., Buist, K. A., Deen, N. G., van Sint Annaland, M., & Kuipers, J. A. M. (2017). Experimental and simulation study of heat transfer in fluidized beds with heat production. Chemical Engineering Journal, 317, 242-257. doi:10.1016/j.cej.2017.02.055

  23. Jolley, J. J. (1949). Heat transfer in beds of fluidired solids. Fuel, 28 (5), 114-115.

  24. Krause, W. B., & Peters, A. R. (1983). Heat transfer from horizontal serrated finned tubs in a air-fluidized bed of uniformly sized particles. Journal of Heat Transfer, 105 (2), 319-324. doi:10.1115/1.3245581

  25. Natusch, H. J., & Blenke, M. (1974). Zur Wärmeübertragung an horizontaben Lärgsrippenrohren in Gas. Fliebbetten Verfahrenstechnik, 8 (10), 287-293.

  26. Natusch, H. J., & Blenke, M. (1973). Zur Wärmeübertragung an Rippenrohren in Gas. Fliebbetten Verfahrenstechnik, 7 (10), 293-296.

  27. Neukirchen, B., & Blenko, M. (1973). Gestaltung horizontaler Rohrbündel in Gas-Wirbelschichtreaktoren nach wärmetechnischen Gesichtspunkten. Chemie Ingenieur Technik, 45 (5), 307-312. doi:10.1002/cite.330450516

  28. Petre, J. C., Treeby, W. A., & Buckham, J. A. (1968). Heat Transfer In-bed Heat Exchangs. Chemical Engineering Progress, 64 (7), 45-51.

  29. Wang, H., Lu, X., Zhang, W., Wang, Q., Chen, J., Kang, Y., …, & Xie, X. (2015). Study on heat transfer characteristics of the high temperature reheater tube panel in a 300 MW CFB boiler with fluidized bed heat exchanger. Applied Thermal Engineering, 81, 262-270. doi:10.1016/j.applthermaleng.2015.02.025

  30. Genetti W.E. et al (1971). The transfer from a horizontal discontinuans finned tube in fluidized bed. AIChE Symposium Series, 67 (116), 85-89.


Статья рекомендована к публикации д.т.н., проф. В. А. Габринцом (Украина);
д.т.н., проф. И. И. Капцовым (Украина)


Надійшла до редколегії: 06.06.2017

Принята до друку: 28.09.2017

doi 10.15802/stp2017/113613 © А. А. Редько, И. А. Редько, 2017