ISSN 2307–3489 (Print), ІSSN 2307–6666 (Online)

Наука та прогрес транспорту. Вісник Дніпропетровського
національного університету залізничного транспорту, 2017, № 4 (70)



екСплуаТація та ремонт засобів транспорту

UDC 629.4.016.5:625.144

M. I. KAPITSA1, D. V. BOBYR2, A. Y. DESIAK3*

1Dep. «Locomotive, Dnipropetrovsk National University of Railway Transport named after Academician V. Lazaryan,
St. Lazaryan, 2, Dnipro, Ukraine, 49010, tel. +38 (0562) 33 19 61, e-mail m.i.kapitca@ua.fm, ORCID 0000000238002920
2Dep. «Locomotive, Dnipropetrovsk National University of Railway Transport named after Academician V. Lazaryan,
Str. Lazaryan, 2, Dnipro, Ukraine, 49010, tel. +38 (0562) 33 19 61, e-mail dmitrob@ua.fm, ORCID 0000-0003-1441-3861
3*Dep. «Locomotive, Dnipropetrovsk National University of Railway Transport named after Academician V. Lazaryan,
Str. Lazaryan, 2, Dnipro, Ukraine, 49010, tel. +38 (0562) 33 19 61, e-mail andrey.desyak1992@gmail.com,
ORCID 0000-0001-8650-5242

DETERMINING PERMISSIBLE SPEED OF TILTING

TRAIN IN CURVED TRACK

Purpose. The main purpose of the article is to determine the permissible speed of the air-cushioned tilting train in curved track and to justify the expediency of operating this type of rolling stock on the railways of Ukraine to increase the speed, improve the passenger comfort and save the energy due to more uniform high-speed train driving. Methodology. The determination of the maximum permissible speed of the tilted train in curved track involves the use of methods of linear and vector algebra and empirical formulas for applied scientific and technical research. The calculation of the maximum speed is based on the principle of calculating centrifugal force for the velocities that meet the safety criteria of movement on the horizontal unbalanced acceleration in the stable radius curve. Findings. The results of the calculations showed that in the 1000 m radius curved track section, provided the passenger comfort, the maximum permissible speed of the train without forced tilt is 132 km/h, and with the forced tilt – 189 km/h. The velocity gain in the curve is about 30% and up to 10% on the section (depending on the number of curves). Originality. The method of determining the permissible speed of the tilted train in curved track is improved, which consists in determining the permissible centrifugal force acting on the train in the stable radius curve, taking into account the passenger comfort conditions. Practical value. This method allows accurately determining the permissible speed on the condition of passenger comfort in the curved section and the required additional tilt angle of the train, depending on the speed, curve radius and canting. Enhanced speed and comfort of passenger trains in the future will increase the demand for rail services among the population and strengthen the position of rail transport in Ukraine’s transport system.

Keywords: high-speed transport; rolling stock; body tilt system; centrifugal force; resultant force; curve radius; canting

Introduction

Integration of Ukraine into the European community creates preconditions for a significant increase in passenger and freight transportation volumes. Under these conditions, the requirements for transport are essentially new. The radical measure to provide domestic and international passenger transportation is the creation of a high-speed railway network with access to the European network and CIS countries [7].

In order to solve the problem of introduction of high-speed trains in Ukraine, it is necessary to apply the systematic approach that includes the analysis of world experience, the study of the preconditions for organization of high-speed trains in Ukraine, ways of connecting the domestic railway network with the European one, designing of high-speed lines, which involves the development of requirements and standards for plan and longitudinal profile designing [5].

Another problem of the development of high-speed transport is that virtually all infrastructure and rolling stock remained as inheritance since the Soviet era. Therefore, the entire railway industry of Ukraine is out-dated and needs a global upgrade, consisting of:

reconstruction of the track and the contact network;

modernization or renewal of the fleet of rolling stock;

complete replacement of signalling, centralization and locking devices with more modern ones designed for high-speed traffic;

replacement of the cargo and passenger train operation model.

If Ukraine aspires to integrate into the transport system of Europe, then the rail transport must meet the European standards in terms of comfort, reliability and security.

Such leading countries as Germany, France, Italy, Spain, China and Japan are actively using trains on air-cushioned suspension with body forced tilt in curves to improve the speed and comfort of passengers. This can significantly reduce the effect of centrifugal acceleration on passengers in curved track sections and rolling stock vibration at high speeds [13].

Problem statement

On the railway lines, the possibility of speed increasing in the track curved sections is limited by the effect of transverse centrifugal acceleration, acting on the rolling stock and passengers. It increases in proportion to the velocity squared and decreases in proportion to the curve radius. Also, centrifugal acceleration creates the force that pushes the rolling stock to the outer rail, which can lead to the derailment. Passengers and locomotive crew also experience the effect of centrifugal force, which tries to throw them away from the centre of the curve to the car side. This factor creates considerable discomfort during the trip. Partially, the action of the centrifugal force is reduced by increasing the canting in the track curved sections. In this case, some part of the centrifugal force acting on the passengers is compensated.

If one installs the rail lines in the curve in one level, then the centrifugal force, together with the crew weight, will form the resultant force that can go to the outer rail line. This force causes:

increased wear of the lateral surface of the outer rail;

rebounds of the external rail;

unpleasant sensations of passengers due to unbalanced acceleration.

Maximum canting in Ukraine is 150 mm By the permission of Ukrzaliznytsya, the maximum canting can amount to more than 150 mm, but this will lead to uneven wear of rails and discomfort of passengers at low speed [9].

However, the canting is not always enough to increase the speed in the curve. This is due to the fact that the canting is designed for the speed of freight trains, which, as a rule, move at speeds up to 80 km/h.

This problem is especially relevant for Ukraine, since for the introduction of high-speed traffic, the minimum radii of curves should be about 4 000–5 000 m, and on the railway lines of Ukraine there are curves with radii of about 500 m, which does not meet the requirements of high-speed railway lines. The increase of the curve radius is a complicated process, expensive and, to some extent, impossible, due to the densely populated settlements and rail infrastructure. Thus, the tilting rolling stock should solve the problem of the implementation of high-speed traffic on the territory of Ukraine. When using trains with such a system, the part of the centrifugal force is compensated.

Therefore, in this article, we strive to prove the expediency of operation of the high-speed rolling stock on the Ukrainian railway lines with the body tilt system in the curved track sections in order to increase the speed of passage of curves without profile reconstruction and change. It will also allow saving the energy through the steadier mode of train driving.

Analysis of researches and publications

In the works by Redchenko E. S. [10], Kurgan M. B. [6] and Zubko A. P. [1] the possibility of using the tilting rolling stock in Ukraine during the organization of high-speed traffic was already considered.

In order to determine the permissible speed of the train with the body forced tilt in the curve the work [10] proposes the following method.

The vehicle moving in the curve is affected, in general, by two main forces: gravity and centrifugal force, which depends on the movement speed and the curve radius. All forces acting on the vehicle in the track curve are shown in Fig. 1

The centrifugal force is determined by the formula:

, (1)

where mrolling stock mass, kN; V – rolling stock speed in the curve, km/h; R – curve radius, m.

Fig. 1. Vehicle movement with additional tilt
of the body in curve

To reduce the effect of centrifugal force in the curves, the outer rail is placed higher than the internal one by the value of cant h, m. Therefore, the track is inclined with respect to the horizon at the following angle:

, (2)

where track width, m.

Due to this, a part of the centrifugal force is compensated by the force of gravity, since in the floor plane of the car the projections of the foregoing forces are directed to the opposite sides.

Obviously, the result of the vectorial addition of these forces will be some unbalanced lateral force .

To provide the greatest comfort for passengers, the unbalanced lateral force should be equal to zero. The projection of the centrifugal force must be fully compensated by the gravity component:

, (3)

where gfree fall acceleration, m/s2.

The profile of the curves is constructed with a fixed optimal canting. But since trains move at different speeds, one should define «insufficient canting». The maximum canting is limited for reasons of preventing the rolling stock tipping into the curve when it stops or moves slowly and is equal to =0,15 m.

Insufficient canting can be compensated by inclining the vehicle body with the help of additional force for the angle , into such a position that the body would occupy during movement in the curve with the required canting of the outer rail, i.e. .

The condition for compensating the centrifugal force for tilting trains can be written as follows:

(4)

Consequently, the expression for the additional angle of the body tilt will be as follows:

(5)

The disadvantage of this method is that the author [10] does not take into account the condition of passenger comfort on horizontal unbalanced acceleration, and the additional angle of the body tilt is determined with full compensation of the centrifugal force, i.e. the unbalanced acceleration in this case is equal to zero, and as it is known, the permissible unbalanced acceleration is  m/s2.

The authors in [6] and [1] propose the method for determining the permissible speed of the tilting train in the curve, which is as follows.

In circular curves, the permissible speed of movement is determined by the safety criterion of movement on the horizontal unbalanced acceleration:

(6)

where estimated canting, mm; S – distance between the rail top axes, 1 600 mm.

In modern vehicles, which during curve passing have the body forced tilt into the middle of the curve at the angle , the permissible speed increases with the introduction of canting into the formula (6), which is an additional compensation for the unbalanced acceleration:

(7)

Substituting formula (7) into formula (6), we obtain the permissible speed of the train with the forced tilt of the body in the curve:

(8)

The main disadvantage of this method is that the authors [1, 8] do not perform calculations to determine the additional angle of the train tilt during the curve passage, since the additional tilt angle depends on the curve radius, movement speed, canting and the maximum tilt angle achieved by the rolling stock.

Purpose

Justification of the expediency of operation of the air-cushioned rolling stock with tilt in curved sections on the railways of Ukraine for increased speed and comfort of passengers.

Methodology

The methodology for determining the maximum permissible speed of the tilted train in curved track involves the use of methods of linear and vector algebra and empirical formulas for applied scientific and technical research.

The calculation of the maximum speed of the tilted train in curved track is based on the principle of calculating centrifugal force for the velocities that meet the safety criteria of movement on the horizontal unbalanced acceleration in the stable radius curve.

Basic material

The modern high-speed trains have three main systems of body tilt in curves: passive, active and active-passive.

In passive tilt systems, the body is suspended like a pendulum with a centre of rotation above the body gravity centre. When moving in the curve, the centre of gravity under the action of centrifugal force is displaced externally, providing the required angle of the body tilt. The tilt angle of the passive system can be up to 3°–5°. In this case, a significant part of the centrifugal force is compensated, and the speed in the curves can be increased by 14% [8].

In active systems, the tilt of the body is performed with the help of special devices. Hydraulic, pneumatic, electro-hydraulic and electromechanical systems are used as a power-driven mechanism of the body forced tilt. In order to ensure correct operation of the system, the rolling stock is equipped with a number of sensors, which, depending on the speed, curve radius and canting, determine the optimal angle of the rolling stock tilt. Typically, the tilt angle of the active systems is 8°–10° [8], which makes it possible to increase the speed to 25–30 %.

The active-passive tilt system can work both as active and passive depending on the speed and the desired angle of the body tilt. If you need to turn the body to 3°–5° angle, then the system works as a passive one. If you need to set a larger angle, then the system starts to work as active. The advantage of the passive tilt system is that there is no need to spend energy for the body tilt and it has simple and reliable design. And the advantage of the active one is the greater maximum possible tilt angle [5, 14].

In this paper, the method for determining the permissible speed of movement in the curve with the body forced tilt is as follows:

determination of the permissible speed of the train in the curve provided the passengers feel comfortable;

determination of the forces acting on the train in the track curved section (centrifugal force and gravity);

determination of the permissible centrifugal force in the curve subject to comfort;

determination of the resultant force for centrifugal and gravitational forces;

determination of the angle of deflection of the resultant force vector at the permissible speeds from the vertical axis Oy;

determination of the angle of deflection of the resultant force vector from the vertical axis of the locomotive, which in turn is the desired angle of the body tilt in the curve;

determination of the permissible angle of deflection of the resultant force vector from the vertical axis Oy with the body forced tilt;

determination of the value of the resultant force and centrifugal force with the body forced tilt in the curve;

definition of maximum speed with the >maximum angle of the body tilt, which is provided by the rolling stock design;

construction of the graph showing the dependence of the centrifugal force of the locomotive on the speed in the track curve, the limitation of the centrifugal force without body tilt, the limitation of the centrifugal force with body tilt and the limitation of the speed at the maximum angle of the body tilt.

Increasing the speed of movement requires much greater compliance with traffic safety criteria. This is especially true for the tilting rolling stock. In world practice, the following traffic safety criteria are used:

vertical acceleration, which arises during the movement of the train in the curve section of the longitudinal track profile;

longitudinal acceleration associated with the processes of braking and run-up;

horizontal unbalanced acceleration, which arises during the movement in the track curve in plan;

full acceleration, acting on the passenger;

vertical acceleration occurring in the passenger car body, caused by fluctuations, and acting on a passenger;

criterion of safety of movement on elastic edging of a rail.

The criterion that influences the safety of the passengers of the tilting train the most is the criterion of comfort, that is, the criterion of safety of movement on the horizontal unbalanced acceleration.

As already noted, the permissible speed of movement in the track curve in the condition of comfort of passengers and locomotive crew is determined by the largest value of unbalanced acceleration m/s2, which is specified on the railways of the CIS countries. In justified cases, in order to eliminate the speed limit on individual curves depending on the locomotive type, the transverse permissible unbalanced acceleration can be increased to 1 m/s2, but not long-term and not repeated. Permissible unbalanced acceleration for freight trains, provided that the outer or inner rail of the curve is not overloaded, is equal to ± 0.3 m/s2 [3, 12].

Different authors offer different formulas for determining the permissible speed of movement in the curved track. From the considerable volume of literature, it is possible to define three most used empirical formulas for determining the permissible speed of passage of curves provided the comfort of passengers and locomotive crew. Formula (9) is given in [3], formula (10) in [11], and formula (11) in [2].

(9)

(10)

(11)

According to the above formulas in Fig. 2 we constructed the graph of dependence of the permissible movement speed on the curve radius without body tilt for the following conditions: the canting and mm, the curve radius m. Since the difference in the results obtained by formulas (9), (10) and (11) is less than one per cent, so it makes no sense to construct all three dependencies; it’s enough to just construct the dependence by one of the formulas for three different cants.

Fig. 2. Graph of the dependence of permissible movement speed on the curve radius:
1, 2, 3 – functions with canting
by and mm, respectively

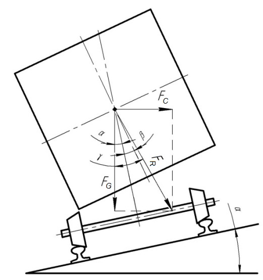
The vehicle moving in a curve, in general, is affected by two main forces: gravity and centrifugal force, which depends on the speed and radius of the curve. All forces acting on the locomotive in the curve are shown in Fig. 3. The result of the vector addition of centrifugal and gravitational forces is the resultant force.

For the calculation scheme of the forces acting, the centrifugal force , acting on the rolling stock in the curve is determined by the formula (1), and the angle of canting is determined by the formula (2).

Substituting in formula (1) the value of the maximum permissible speed under the condition of comfort, which is calculated by the formula (9), we obtain the maximum permissible centrifugal force acting on the rolling stock in the curved track.

The fig. 4 shows the graph of dependence of the centrifugal force on the curve radius at different speeds.

Fig. 3. Vehicle movement without body tilt
in the curve:

gravity force; centrifugal force;
resultant force of gravity and centrifugal forces;
angle between the vector of the gravity force and the vertical axis of the rolling stock without body tilt and the angle of canting; additional angle of rolling stock tilt; angle between the resultant force vector and the gravity force vector

Fig. 4. Graph of dependence of the centrifugal force
on the curve radius at different speeds:
1, 2, 3, 4 functions at speeds of 50, 100, 150 and 200 km/h respectively;
5limitation of centrifugal force

The resultant force from the centrifugal and gravitational forces is determined by the vector addition and will be equal to:

(12)

The force of gravity acting on the rolling stock is determined by:

(13)

The basis of the method for determining the permissible speed of the tilting rolling stock is the definition of the maximum deflection angle of the resultant vector without and with body tilt, provided that the passengers feel comfortable. The deflection angle of the resultant vector without body tilt is equal to:

(14)

For the greatest comfort of the passengers, the resultant vector should be perpendicular to the floor plane. Besides, this angle is an additional necessary angle for the body tilt in the curve and is determined by the formula:

. (15)

After the substitution and transformation of formulas (14) and (15) we obtain:

. (16)

. (17)

It is seen that the formula for determining the additional angle of body tilt (17) coincided with the formula (5), which is calculated according to the method [1].

If we calculate the additional tilt angle by the formula (15), it is worth noting that the additional tilt angle can be not only positive, but also negative. The negative tilt angle is formed when the body is tilted in the direction opposite to the turn. This is necessary in the case when the train moves at a low speed in the curve with a sufficiently high canting.

The permissible tilt angle of the resultant vector to the vertical axis Oy with the body forced tilt is defined as the sum of the deflection angles of the resultant vector without body tilt and the required additional tilt angle:

. (18)

Now, the permissible resultant and centrifugal forces with the body forced tilt will equal respectively:

. (19)

. (20)

In order to determine the maximum permissible speed of the tilting train under the condition of maximum compensation of centrifugal force and subject to the horizontal unbalanced acceleration, it is necessary to solve the equation (17) in relation to the unknown velocity V, taking the tilt angle, since this tilt angle is the maximum permissible for this type of rolling stock.

The maximum speed of the tilting locomotive, provided that the resultant force is perpendicular to the car floor, is determined as:

. (21)

The maximum speed of the tilting locomotive, provided that the resultant force has the maximum allowable tilt angle with the condition of comfort, will be determined by the formula:

. (22)

Findings

The Figure 5 shows the constructed graph for determining the permissible speed of tilting train movement in the curve. The graph shows the centrifugal force acting on the rolling stock when speed increases and a number of limitations: curve 1 is the permissible centrifugal force without body tilt, curve 2 is the permissible centrifugal force with body tilt, curve 3 is the function of centrifugal force from the speed acting on the train in the curve, curve 4 is the maximum speed limitation provided that the resultant vector is perpendicular to the body floor, curve 5 is the maximum speed limitation with body tilt under the condition of passenger comfort. The graph is constructed for the following input data: train speed  km/h, curve radius m, canting mm, maximum angle of rolling stock tilt . For comparison, Table 1 shows the results of calculations of the permissible speed of tilting train in the track curve according to the authors’ methods [1, 6, 10] and the calculation method presented in this article.

As the graph shows, the maximum permissible speed of the train without body tilt is 132 km/h, and with body tilt – 189 km/h. The velocity gain in the curve m is 30 %. This result can be considered adequate, as it coincides with the results of calculations [1, 6].

Similar dependences can be constructed for other values of curves radii and canting.



Fig. 5. Graph for determining the permissible speed
of tilting train movement in the curve



Table 1

Results of calculations of the permissible train speed according to different methods

Method of calculating the permissible train speed in the curve

Speed of the train without body tilt, km/h

Speed of the train provided that the centrifugal force is fully compensated by body tilt,
km / h

Speed of the train with body tilt under comfortable conditions, km / h

Methodology described in the article

130.7

161.4

188.7

Methodology of the authors

[1, 6]

130.6

186.3

Methodology of the author [5]

161.4

Originality and practical value

The method for determining the permissible speed of movement and the additional angle of body tilt in the track curve of the tilting train is improved. It takes into account the comfort condition by the value of the horizontal unbalanced acceleration. This will allow more accurately determining the speed of movement of this type of rolling stock in the curved track section.

Conclusions

1. As demonstrated by the calculations made, the determining factors for the railways of Ukraine affecting the train speed are the curve radii and canting, which is designed for the movement of freight trains.

2. The results of calculations indicate that the maximum permissible speed of the train without body tilt in the curve m is 132 km/h, and with body tilt – 189 km/h. The velocity gain is 57 km/h.

3. Having analyzed all the factors affecting the movement speed and the obtained calculation results, it can be concluded that this type of rolling stock is expedient to be used on the railways of Ukraine. This is due to the fact that in Ukraine there are many curves of small radius that are inappropriate and to some extent impossible to increase.

4. Besides, due to more uniform maintenance of high-speed train driving, it is possible to achieve energy saving [4].

5. Putting into operation of the tilting rolling stock on the Ukrainian railways will allow getting the velocity gain of up to 30 % in the curve and up to 10 % in the section (depending on the number of curves). Increased speed of trains will considerably strengthen the position of railways in the transport system of Ukraine.



LIST OF REFERENCE LINKS

  1. Аналіз можливості застосування в Україні рухомого складу з примусовим нахилом кузова вагонів при організації швидкісного руху / А. П. Зубко, І. П. Корженевич, М. Б. Курган, Д. М. Курган // Вісн. Дніпропетр. нац. ун-ту залізн. трансп. ім. акад. В. Лазаряна. – Дніпропетровськ, 2004. – Вип. 4. С. 156164.

  2. Білий, В. І. Залізнична колія : навч. посіб. / В. І. Білий. – Донецьк, 2007. – 160 с.

  3. Боднар, Б. Є. Теорія та конструкція локомотивів. Екіпажна частина : підруч. / Б. Є. Боднар, Є. Г. Нечаєв, Д. В. Бобир. – Дніпропетровськ : Ліра ЛТД, 2009. – 284 с.

  4. Визначення енергозаощаджуючих режимів розгону поїздів / Б. Є. Боднар, М. І. Капіца, А. М. Афанасов, Д. М. Кислий // Наука та прогрес транспорту. – 2015. – № 5 (59). – С. 40–52.
    doi: 10.15802/stp2015/55359.

  5. Єріцян, Б. Х. Моделювання комбінованої системи нахилу кузову швидкісного рухомого складу залізничного транспорту / Б. Х. Єріцян, Б. Г. Любарський, Д. І. Якунін // Вост.-Европ. журн. передовых технологий. – 2016. – № 2 (9). – С. 4–17. doi: 10.15587/1729-4061.2016.66782.

  6. Курган, М. Б. Організація швидкісного руху при застосуванні рухомого складу з примусовим нахилом кузова вагонів / М. Б. Курган, І. П. Корженевич, В. В. Арсонов // Вісн. Дніпропетр. нац. ун-ту залізн. трансп. ім. акад. В. Лазаряна. – Дніпропетровськ, 2006. – Вип. 11. – С. 50–59.

  7. Курган, Н. Б. Предпосылки создания высокоскоростных магистралей в Украине / Н. Б. Курган // Українські залізниці. – 2015. – № 5/6 (23/24). С. 1621.

  8. Ковалев, В. И. Скоростной и высокоскоростной железнодорожный транспорт / В. И. Ковалев. – Санкт-Петербург : Искусство России, 2001. – Т. 2. – 350 с.

  9. Правила визначення підвищення зовнішньої рейки і встановлення допустимих швидкостей в кривих ділянках колії. – Дніпропетровськ : Арт-Прес, 1999. 44 с.

  10. Редченко, Е. С. Определение величины и распределение центробежной силы для проведений испытаний поездов с наклоняемыми кузовами на катковом стенде / Е. С. Редченко // Локомотив-информ. – 2008. – № 5. – С. 12–17.

  11. Сокол, Э. Н. Сходы с рельсов и столкновения подвижного состава (Судебная экспертиза. Элементы теории и практики) : монография / Э. Н. Сокол. – 2-е изд., перераб. и доп. – Киев : Транспорт Украины, 2004. – 368 с.

  12. On Influence of Design Parameters Of Mining Rail Transport On Safety Indicators [Electronic resource] /
    K. Ziborov, V. Protsiv, S. Fedoriachenko, I. Verner // Mechanics, Materials Science & Engineering J. – 2016. – Vol. 2 (1). – P. 63–70. Available at: http://mmse.xyz/en/on-influence-of-design-parameters-of-mining-rail-transport-on-safety-indicators/. – Title from thr screen. – Accessed : 19.06.2017.

  13. Qi, Z. A three-dimensional coupled dynamics model of the air spring of a high-speed electric multiple unit train / Z. Qi, F. Li, D. Yu // Proc. of the Institution of Mechanical Engineers. Part F : J. of Rail and Rapid Transit. – 2017. – Vol. 231. – Iss. 1. – P. 3–18. doi: 10.1177/0954409715620534.

  14. Zhou, R. Robust system state estimation for active suspension control in high-speed tilting trains /
    R. Zhou, A. Zolotas, R. Goodall // Vehicle System Dynamics. – 2014. – Vol. 52. – Iss. sup1. – P. 355–369. doi: 10.1080/00423114.2014.901540.


М. І. КАПІЦА1, Д. В. БОБИРЬ2, А. Є. ДЕСЯК3*

1Каф. «Локомотиви», Дніпропетровський національний університет залізничного транспорту імені академіка
В. Лазаряна, вул. Лазаряна, 2, Дніпро, Україна, 49010, тел. +38 (0562) 33 19 61, ел. пошта m.i.kapitca@ua.fm,
ORCID 0000-0002-3800-2920
2Каф. «Локомотиви», Дніпропетровський національний університет залізничного транспорту імені академіка
В. Лазаряна, вул. Лазаряна, 2, Дніпро, Україна, 49010, тел. +38 (0562) 33 19 61, ел. пошта dmitrob@ua.fm,
ORCID 0000-0003-1441-3861
3*Каф. «Локомотиви», Дніпропетровський національний університет залізничного транспорту імені академіка
В. Лазаряна, вул. Лазаряна, 2, Дніпро, Україна, 49010, тел. +38 (0562) 33 19 61, ел. пошта andrey.desyak1992@gmail.com,
ORCID 0000-0001-8650-5242

ВИЗНАЧЕННЯ ДОПУСТИМОЇ ШВИДКОСТІ РУХУ ПОЇЗДА

З ПРИМУСОВИМ НАХИЛОМ КУЗОВА в КРИВИХ ДІЛЯНКАХ КОЛІЇ

Мета. Головною метою статті є визначення допустимої швидкості руху поїзда на пневматичному підвішуванні з примусовим нахилом кузова в кривій ділянці колії та обґрунтування доцільності експлуатації даного типу рухомого складу на залізницях України. Це необхідно для збільшення швидкості руху, підвищення комфорту пасажирів та економії енергоресурсів за рахунок більш рівномірного швидкісного режиму ведення поїзда. Методика. Визначення максимальної допустимої швидкості руху поїзда в кривій з примусовим нахилом кузова передбачає застосування методів лінійної, векторної алгебри та емпіричних формул для прикладних науково-технічних досліджень. В основі розрахунку максимальної швидкості руху закладений принцип розрахунку відцентрової сили для швидкостей руху, які відповідають критеріям безпеки руху по горизонтальному незагашеному прискоренню в кривій сталого радіуса. Результати. Отримані розрахунки показали, що в кривій ділянці колії радіусом 1 000 м, за умови комфортабельності пасажирів, максимальна допустима швидкість руху поїзда без примусового нахилу кузова складає 132 км/год, а з примусовим нахилом кузова – 189 км/год. Приріст швидкості в кривій дорівнює близько 30 %, та до 10 % – на ділянці (в залежності від кількості кривих). Наукова новизна. Авторами удосконалено метод визначення допустимої швидкості поїзда з примусовим нахилом кузова в кривій. Він полягає у визначенні допустимої відцентрової сили, яка діє на поїзд у кривій сталого радіуса з урахування умов комфортабельності пасажирів. Практична значимість. Даний метод дозволяє досить точно визначити допустиму швидкість руху (за умови комфортабельності пасажирів) у кривій ділянці та необхідний додатковий кут нахилу поїзда в залежності від швидкості, радіуса кривої та підвищення зовнішньої рейки. Збільшення швидкості руху та комфорту пасажирських поїздів у майбутньому призведе до збільшення попиту на послуги залізничного транспорту серед населення та зміцнення позицій залізничного транспорту в транспортній системі України.

Ключові слова: високошвидкісний транспорт; рухомий склад; система нахилу кузова; відцентрова сила; рівнодіюча сила; радіус кривої; підвищення зовнішньої рейки

М. И. КАПИЦА1, Д. В. БОБЫРЬ2, А. Е. ДЕСЯК3*

1Каф. «Локомотивы», Днепропетровский национальный университет железнодорожного транспорта имени академика
В. Лазаряна, ул. Лазаряна, 2, Днипро, Украина, 49010, тел. +38 (0562) 33 19 61, эл. почта m.i.kapitca@ua.fm,
ORCID 0000-0002-3800-2920
2Каф. «Локомотивы», Днепропетровский национальный университет железнодорожного транспорта имени академика
В. Лазаряна, ул. Лазаряна, 2, Днипро, Украина, 49010, тел. +38 (0562) 33 19 61, эл. почта dmitrob@ua.fm,
ORCID 0000-0003-1441-3861
3*Каф. «Локомотивы», Днепропетровский национальный университет железнодорожного
транспорта имени академика В. Лазаряна, ул. Лазаряна, 2, Днипро, Украина, 49010, тел. +38 (0562) 33 19 61,
эл. почта andrey.desyak1992@gmail.com, ORCID 0000-0001-8650-5242

ОПРЕДЕЛЕНИЕ ДОПУСТИМОЙ СКОРОСТИ ДВИЖЕНИЯ ПОЕЗДА

С ПРИНУДИТЕЛЬНЫМ НАКЛОНОМ КУЗОВА в КРИВЫХ УЧАСТКАХ ПУТИ

Цель. Главной целью статьи является определение допустимой скорости движения поезда на пневматической подвеске с принудительным наклоном кузова в кривом участке пути и обоснование целесообразности эксплуатации данного типа подвижного состава на железных дорогах Украины для увеличения скорости движения, повышения комфорта пассажиров и экономии энергоресурсов за счет более равномерного скоростного режима ведения поезда. Методика. Определение максимальной допустимой скорости движения поезда в кривой с принудительным наклоном кузова предусматривает применение методов линейной, векторной алгебры и эмпирических формул для прикладных научно-технических исследований. В основе расчета максимальной скорости движения заложен принцип расчета центробежной силы для скоростей движения, которые соответствуют критериям безопасности движения по горизонтальному непотушенному ускорению в кривой постоянного радиуса. Результаты. Полученные расчеты показали, что в кривом участке пути радиусом 1 000 м, при условии комфортабельности пассажиров, максимальная допустимая скорость движения поезда без принудительного наклона кузова составляет 132 км/ч, а с принудительным наклоном кузова – 189 км/ч. Прирост скорости в кривой составляет около 30 %, и до 10 % – на участке (в зависимости от количества кривых). Научная новизна. Усовершенствован метод определения допустимой скорости поезда с принудительным наклоном кузова в кривой, который заключается в определении допустимой центробежной силы, действующей на поезд в кривой постоянного радиуса с учетом условий комфортабельности пассажиров. Практическая значимость. Данный метод позволяет достаточно точно определить допустимую скорость движения (по условию комфортабельности пассажиров) в кривой и необходимый дополнительный угол наклона поезда в зависимости от скорости, радиуса кривой и возвышения наружного рельса. Увеличение скорости движения и комфорта пассажирских поездов в будущем приведет к увеличению спроса на услуги железнодорожного транспорта среди населения и укрепит позиции железнодорожного транспорта в транспортной системе Украины.

Ключевые слова: высокоскоростной транспорт; подвижной состав; система наклона кузова; центробежная сила; равнодействующая сила; радиус кривой; возвышения наружного рельса

REFERENCES

  1. Zubko, A. P., Korzhenevych, I. P., Kurhan, M. B., & Kurhan, D. M. (2004). The analysis of possibility of application in ukraine of the rolling stock with tilting body cars when organizing high-speed traffic. Bulletin of Dnipropetrovsk National University of Railway Transport, 4, 156-164.

  2. Bilyi, V. I. (2007). Zaliznychna koliia [Tutorial]. Donetsk: Donetsk Railway Transport Institute.

  3. Bodnar, B. Y., Nechaiev, Y. H., & Bobyr, D. V. (2009). Teoriia ta konstruktsiia lokomotyviv. Ekipazhna chastyna [Manual]. Dnipropetrovsk: PP «Lira LTD».

  4. Bodnar, B. Y., Kapitsa, M. I., Afanasov, A. M., & Kyslyi, D. N. (2015). Definition of energy saving acceleration modes of trains. Science and Transport Progress, 5 (59), 40-52. doi: 10.15802/stp2015/55359

  5. Yeritsyan, B., Liubarskyi, B., & Iakunin, D. (2016). Simulation of combined body tilt system of high-speed railway rolling stock. Eastern-European Journal of Enterprise Technologies, 2 (9) (80), 4-17. doi:10.15587/1729-4061.2016.66782

  6. Kurhan, M. B., Korzhenevych, I. P., & Arsonov, V. V. (2006). Organization of high-speed traffic with the use of rolling stock with a forced tilt body cars. Bulletin of Dnipropetrovsk National University of Railway Transport, 11, 50-59.

  7. Kurhan, M. B. (2015). Predposylki sozdaniya vysokoskorostnykh magistraley v Ukraine. Ukrainian Railways, 5-6 (23-24), 16-21.

  8. Kovalev, V. I. (2001). Skorostnoy i visokoskorostnoy zheleznodorizhnyy transport (Vol. 2). Saint Petersburg.

  9. Ukrzaliznytsia. (1999). Pravyla vyznachennia pidvyshchennia zovnishnoi reiky i vstanovlennia dopustymykh shvydkostei v kryvykh diliankakh kolii. Dnipropetrovsk: Art-Pres.

  10. Redchenko, Y. S. (2008). Opredeleniye velichiny i raspredeleniye tsentrobezhnoy sily dlya provedeniy ispytaniy poyezdov s naklonyaemymi kuzovami na katkovom stende. Lokomotyv-Inform, 5, 12-17.

  11. Sokol, E. N. (2004). Skhodi s relsov i stolknoveniya podvizhnogo sostava (Sudebnaya ekspertiza. Elementy teorii i praktiki) [Monograph] (2nd ed.). Kyiv: Transport Ukrainy.

  12. Ziborov, K., Protsiv, V., Fedoriachenko, S., & Verner, I. (2016). On Influence of Design Parameters of Mining Rail Transport on Safety Indicators. Mechanics, Materials Science & Engineering, 2 (1), 63-70. Retrieved from http://mmse.xyz/en/on-influence-of-design-parameters-of-mining-rail-transport-on-safety-indicators/

  13. Qi, Z., Li, F., & Yu., D. (2017). A three-dimensional coupled dynamics model of the air spring of a high-speed electric multiple unit train. Proceedings of the Institution of Mechanical Engineers, Part F: Journal of Rail and Rapid Transit, 231 (1), 3-18.

  14. Zhou, R., Zolotas, A., & Goodall, R. (2014). Robust system state estimation for active suspension control in high-speed tilting trains. Vehicle System Dynamics, 52 (1), 355-369. doi:10.1080/00423114.2014.901540


Prof. V. L. Gorobets, D. Sc. (Tech.), (Ukraine); Prof. A. V. Sokhatskyi, D. Sc. (Tech.), (Ukraine) recommended this article to be published


Received: March 31, 2017

Accessed: July 05, 2017


doi 10.15802/stp2017/109537 © M. I. Kapitsa, D. V. Bobyr, A. Y. Desiak, 2017